- Partiron
- OEM Parts
- Polaris
- Watercraft
- PWC
- 2004
- FREEDOM - W045297DA/IA/IB
OIL TANK - W045297DA/IA (4990519051A12)
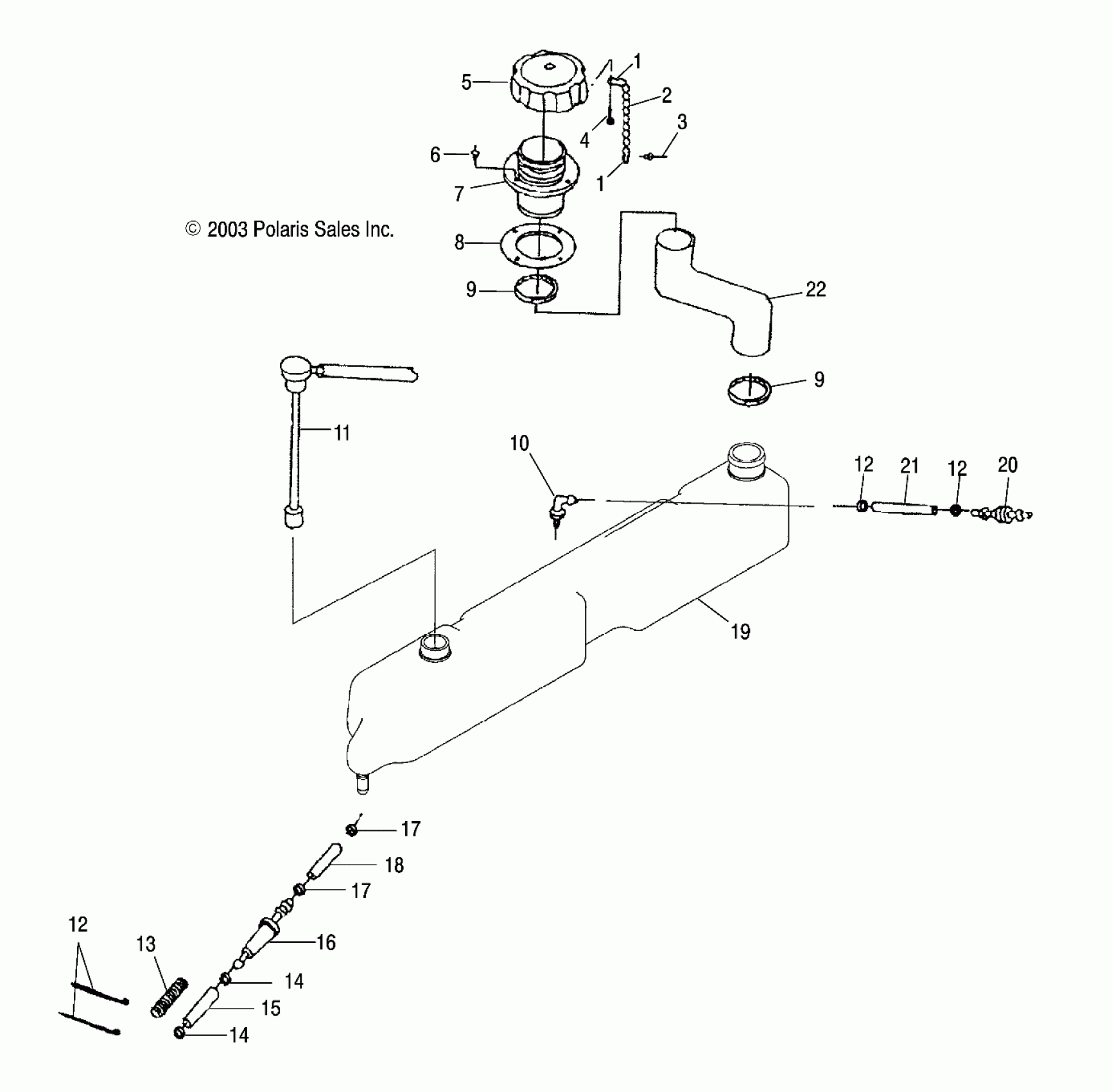
Polaris FREEDOM - W045297DA/IA/IB OIL TANK - W045297DA/IA (4990519051A12) Diagram
#
Description
Price
1
Coupling, End
7080442
Unavailable
1
Coupling, End
7080442
Unavailable
2
Chain, Bead
7080710
Unavailable
3
Rivet
7621229
Unavailable
4
Screw
7517241
Unavailable
5
Cap, Oil Tank
5432843
Unavailable
6
Rivet
7661042
Unavailable
7
Inlet, Oil
5433914
Unavailable
8
Gasket, Oil Inlet
5811554
Unavailable
9
CLAMP, HOSE
7080481
Unavailable
9
CLAMP, HOSE
7080481
Unavailable
10
Elbow, 90 Degree
7052130
Unavailable
11
Asm., Sender, Low Oil Warning
2410295
Unavailable
13
Conduit, Convoluted
4010051-36
Unavailable
15
Line, Fuel
5521609
Unavailable
16
Filter, Oil
2530015
Unavailable
18
Line, Fuel
8450059-150
Unavailable
19
Tank, Oil w/Relief
5434871
Unavailable
20
Valve, Check, Vacuum
7052118
Unavailable
21
Line, Fuel
5521608
Unavailable
22
Hose, Oil Fill
5411756
Unavailable
