Ski-Doo Formula Deluxe 380/500, 2000 Crankcase (377) Diagram
#
Description
Price
1
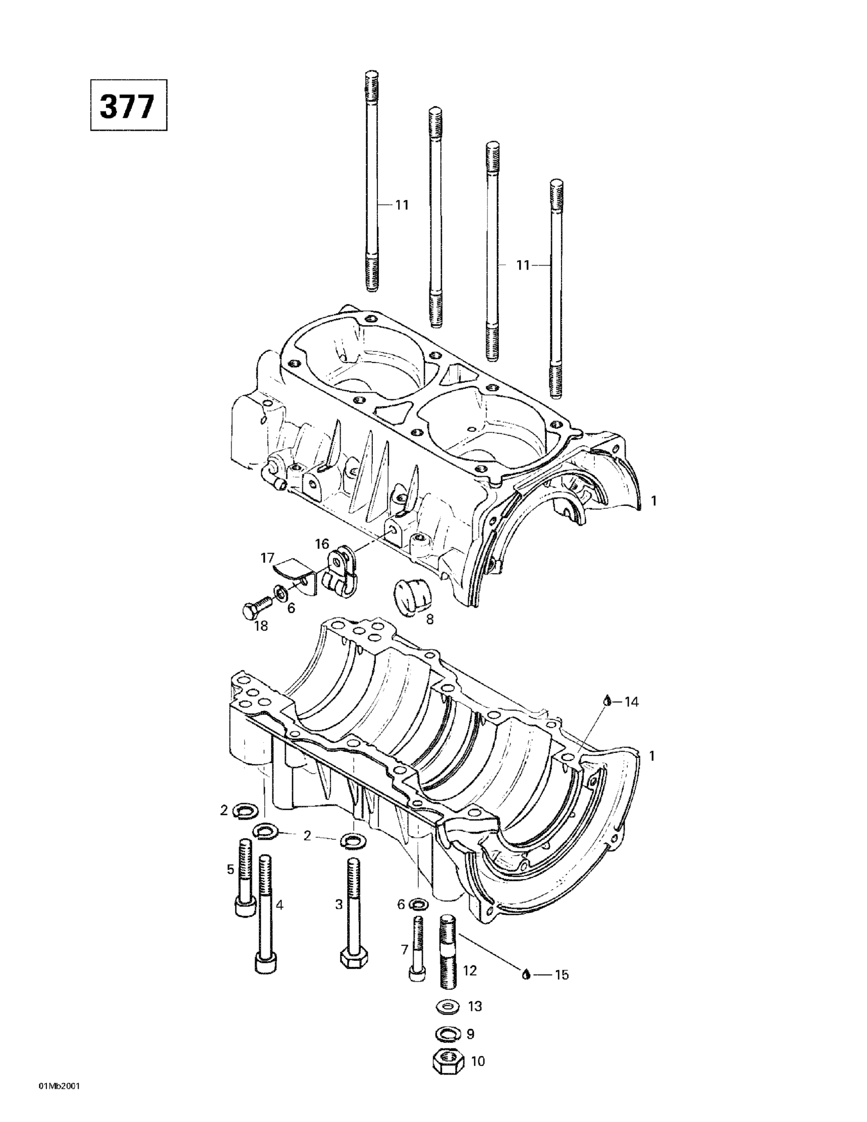
Crankcase Ass'y | Includes 1 - 8. Formula S. Formula DLX 380.
420887784
Unavailable
4
ALLEN SCREW M8 X 75 - Call your local BRP dealership
420841831
Unavailable
5
ALLEN SCREW M8 X 50 - Call your local BRP dealership
420841566
Unavailable
6
WASHER-LOCK DIN.128 - Call your local BRP dealership
420945751
Unavailable
9
WASHER-LOCK SPRING DIN.128A-A2 - Call your local BRP dealership This part replaces 224701188.
234100602
Unavailable
11
STUD M8 X 167 - Call your local BRP dealership
420841149
Unavailable
12
Stud M10
420640140
Unavailable
17
Wire Support | Touring E. Touring E LT (2). Touring LE.
420953310
Unavailable
