Partiron

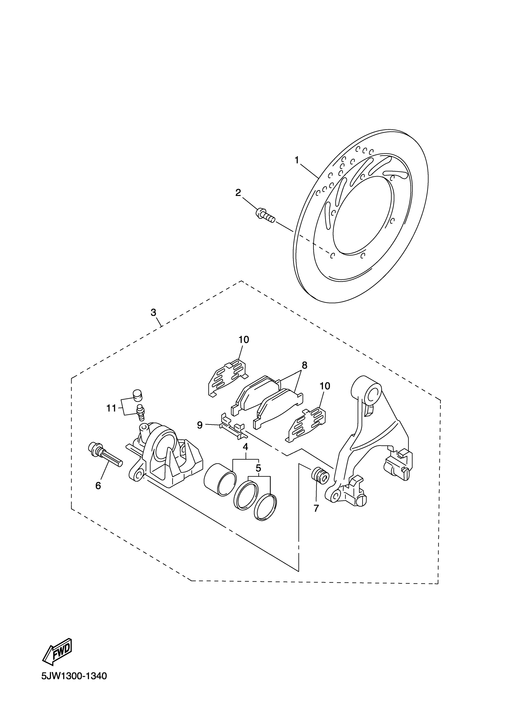
Yamaha FJR13TC (FJR1300 CA) 5JWL 2005 REAR BRAKE CALIPER Diagram

#

Description
Price

1

DISC, REAR BRAKE 2

5EL-2582W-00-00

Unavailable

2

BOLT

90109-06254-00

$8.49

3

CALIPER ASSY, REAR 2

5VS-2580W-01-00

Unavailable

4

PISTON ASSY, CALIPER

1D7-25802-00-00

$56.99

5

CALIPER SEAL KIT

5JW-25803-00-00

$16.49

6

PIN, SLIDE

5JW-25914-10-00

$22.99

7

BOOT 2

4TT-25937-00-00

$16.49

8

BRAKE PAD KIT 2

5JW-W0046-00-00

$51.99

9

SUPPORT, PAD

5JW-25919-00-00

$17.49

10

SHIM, CALIPER

5JW-25827-00-00

$6.99

11

BLEED SCREW KIT

5RU-W0048-00-00

$16.49