Partiron

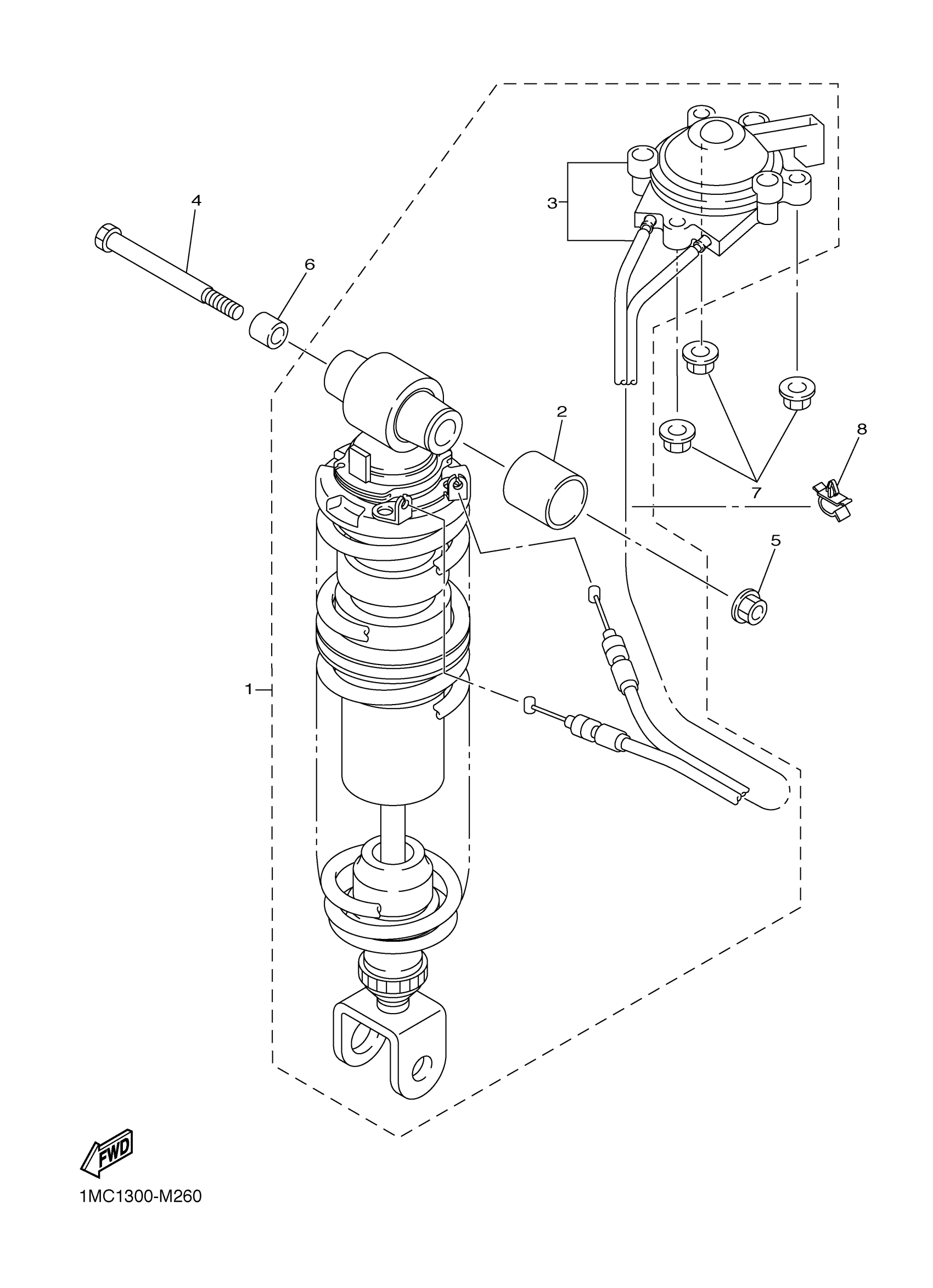
Yamaha FJR13PPW (FJR1300 POLICE) B9R6 2023 REAR SUSPENSION Diagram

#

Description
Price

1

SHOCK ABSORBER ASSY, REAR

1MC-22210-52-00

$776.99

2

BUSH, REAR SHOCK ABSORBER

5JW-22216-00-00

$40.99

3

CONTROL PANEL ASSY

1MC-22460-10-00

Unavailable

4

BOLT

90101-12044-00

Unavailable

5

NUT, SELF-LOCKING

95602-12200-00

$4.46

6

COLLAR

90387-12028-00

$7.49

7

NUT, U FLANGE

95604-06200-00

$8.49

8

CLAMP

90464-14001-00

Unavailable