- Partiron
- OEM Parts
- Yamaha
- motorcycle
- 2019
- FJR13PKW (FJR1300 POLICE) B9R2 2019
REAR MASTER CYLINDER
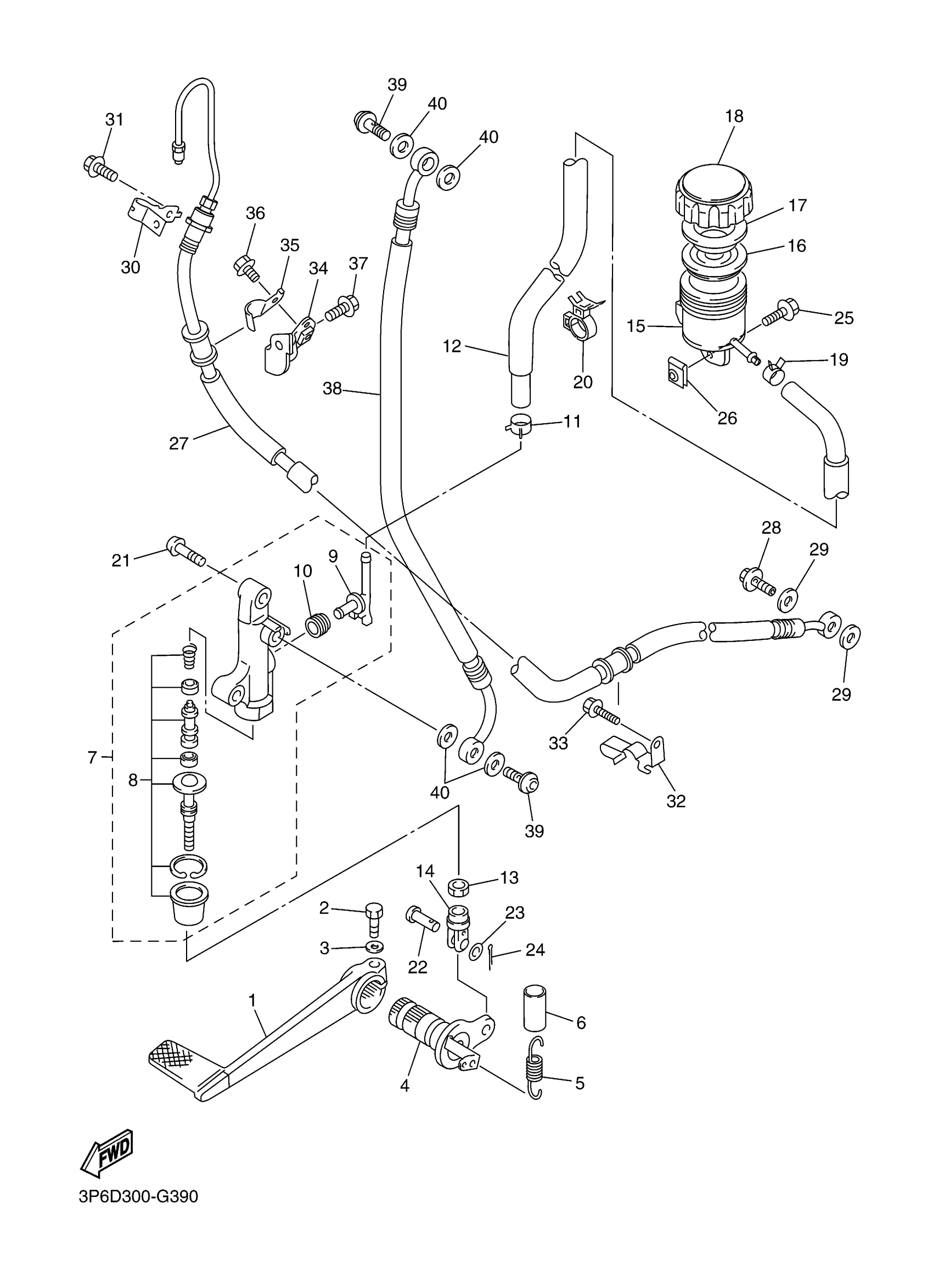
Yamaha FJR13PKW (FJR1300 POLICE) B9R2 2019 REAR MASTER CYLINDER Diagram
#
4
SHAFT, BRAKE PEDAL
1MC-27212-00-00
Unavailable
9
JOINT
5VS-2582A-01-00
Unavailable
10
O-RING
4BP-2585F-01-00
Unavailable
12
HOSE, RESERVOIR
3P6-25895-00-00
Unavailable
16
DIAPHRAGM, RESERVOIR
5VY-25854-00-00
Unavailable
17
BUSH,DIAPHRAGM
5VY-25855-00-00
Unavailable
18
CAP, RESERVOIR
5VY-25852-00-00
Unavailable
20
CLAMP(4HM)
90464-15192-00
Unavailable
21
BOLT, BUTTON HEAD
92012-08030-00
Unavailable
22
PIN, CLEVIS (5X6)
91701-06018-00
Unavailable
23
YBS66-6 WASHER, PLAIN
92990-06200-00
Unavailable
24
PIN, COTTER
91490-16020-00
Unavailable
25
BOLT
90109-05007-00
Unavailable
26
NUT, SPRING
90183-050A6-00
Unavailable
27
HOSE, BRAKE 5
3P6-2581K-20-00
Unavailable
28
BOLT, UNION
90401-10020-00
Unavailable
29
GASKET
90430-10005-00
Unavailable
30
HOLDER, BRAKE HOSE 6
3P6-2588G-00-00
Unavailable
31
BOLT, FLANGE
95022-06010-00
Unavailable
32
HOLDER, BRAKE HOSE 2
3P6-25876-10-00
Unavailable
33
BOLT, FLANGE
95022-06010-00
Unavailable
34
HOLDER, BRAKE HOSE 5
2PD-2588F-00-00
Unavailable
35
HOLDER, BRAKE HOSE 6
5VS-2588G-00-00
Unavailable
36
BOLT, FLANGE
95022-06010-00
Unavailable
37
BOLT, FLANGE
95817-08012-00
Unavailable
38
HOSE, BRAKE 4
3P6-2581J-20-00
Unavailable
39
BOLT, UNION
90401-10020-00
Unavailable
40
GASKET
90430-10005-00
Unavailable
