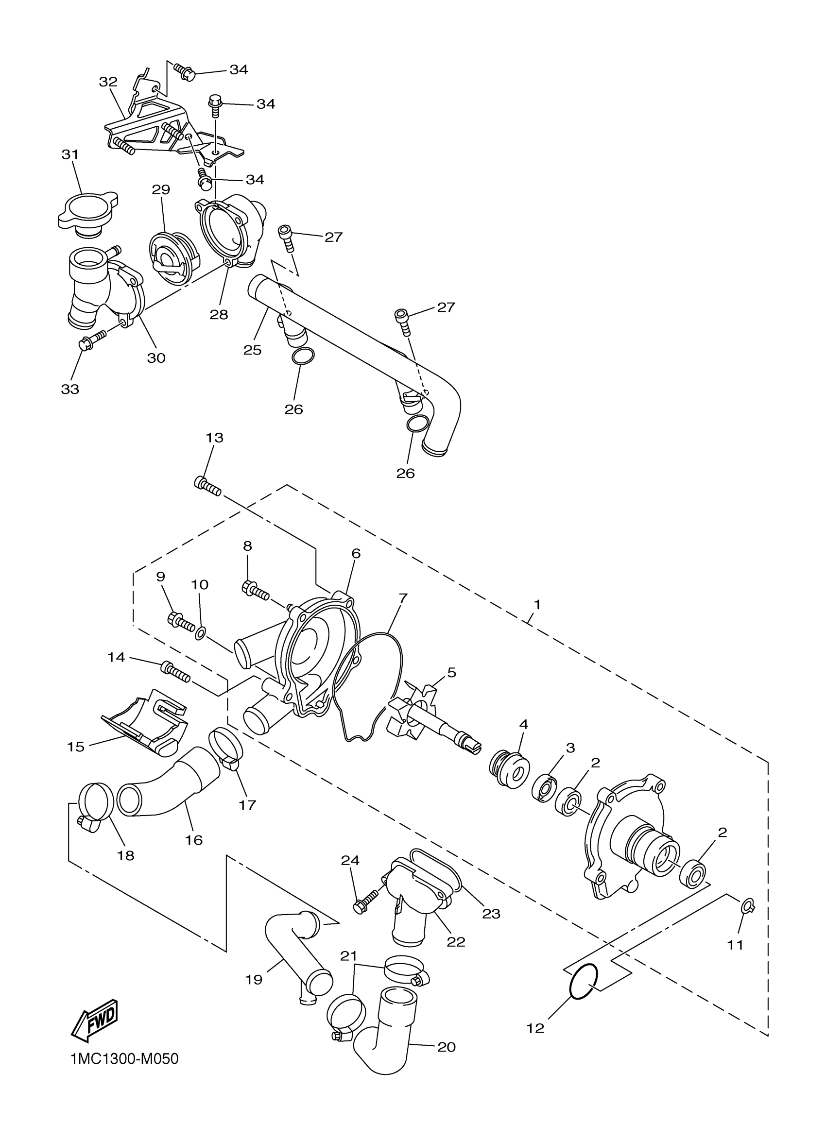
Yamaha FJR13ESJL (FJR1300ES) B96D 2018 WATER PUMP Diagram
#
Description
Price
10
GASKET 256113960000
90430-06014-00
Unavailable
13
BOLT, HEXAGON SOCKET HEAD
90110-06336-00
Unavailable
15
STOPPER
1MC-12437-00-00
Unavailable
16
HOSE 1
5JW-12576-00-00
Unavailable
17
HOSE CLAMP ASSY
90450-38003-00
Unavailable
18
HOSE CLAMP ASSY(3GM)
90450-38040-00
Unavailable
19
JOINT, HOSE 1
3P6-12581-00-00
Unavailable
20
HOSE 2
5JW-12577-00-00
Unavailable
21
HOSE CLAMP ASSY(3GM)
90450-38040-00
Unavailable
22
JOINT 1
5JW-12469-00-00
Unavailable
23
O-RING(52H)
93210-47675-00
Unavailable
24
BOLT, FLANGE
95022-06020-00
Unavailable
25
PIPE 1
1MC-12481-00-00
Unavailable
26
O-RING (716)
93210-18417-00
Unavailable
27
BOLT(3MA)
91312-06016-00
Unavailable
28
HOUSING, THERMOSTAT
3P6-12417-00-00
Unavailable
29
THERMOSTAT ASSY
1MC-12410-01-00
Unavailable
30
SUPT, FILLER NECK
3P6-12591-00-00
Unavailable
31
CAP, RADIATOR
1B3-12462-00-00
Unavailable
32
BRACKET 1
1MC-1244E-00-00
Unavailable
33
BOLT, FLANGE
95022-06020-00
Unavailable
34
BOLT, FLANGE
95022-06012-00
Unavailable
