- Partiron
- OEM Parts
- Yamaha
- motorcycle
- 2015
- FJR13AFC (FJR1300A CA) 1MCL 2015
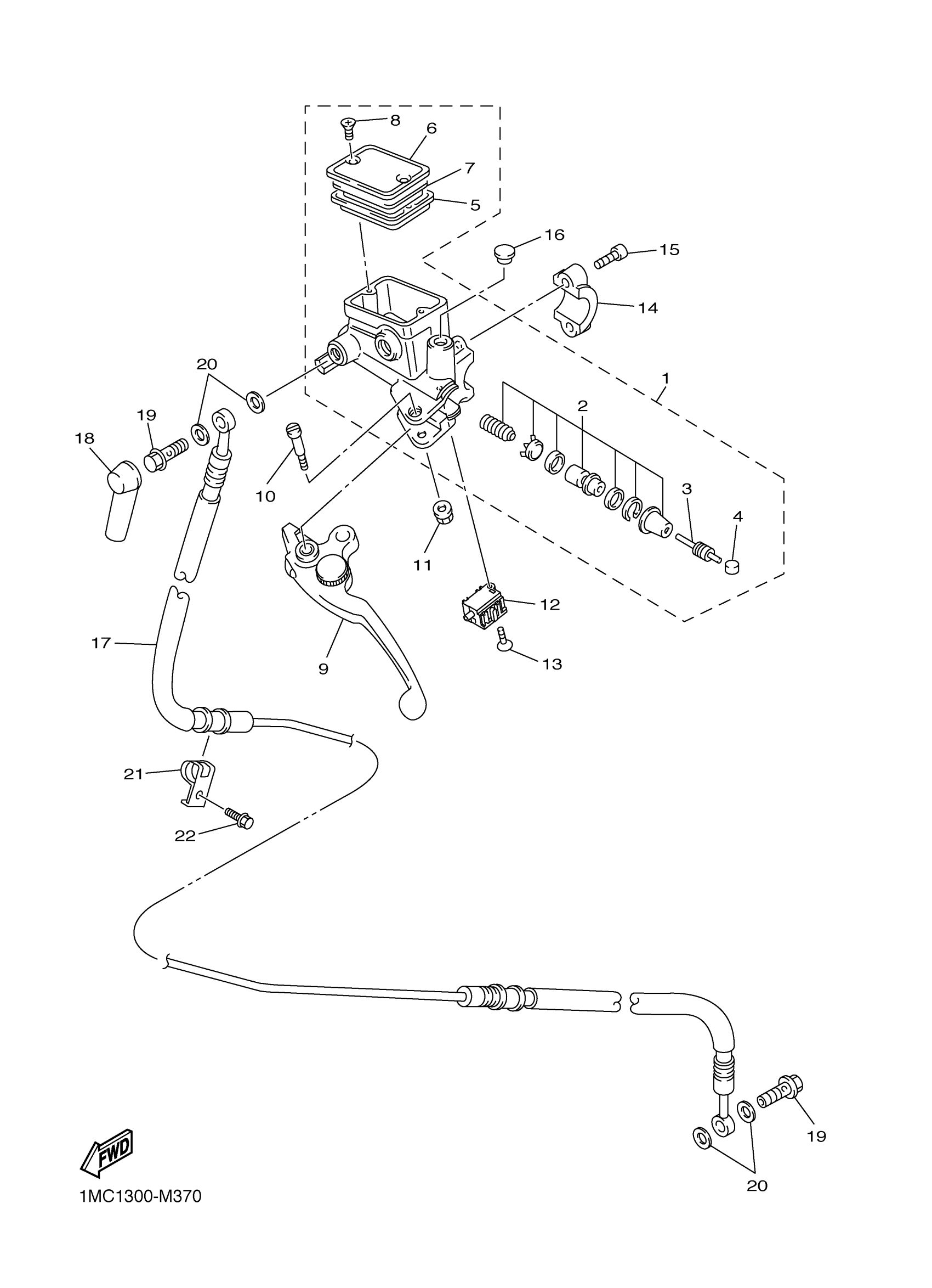
FRONT MASTER CYLINDER 2
Yamaha FJR13AFC (FJR1300A CA) 1MCL 2015 FRONT MASTER CYLINDER 2 Diagram
#
Description
Price
1
MASTER CYLINDER SUB ASSY
5JW-26401-01-00
Unavailable
13
SCREW, PAN HEAD WITH WASHER
97602-04230-00
Unavailable
14
BRACKET, MASTER CYLINDER
4KG-25867-00-00
Unavailable
15
BOLT,SOCKET
91317-06020-00
Unavailable
16
PLUG (341-26329-00)
90338-09012-00
Unavailable
17
HOSE, CLUTCH
1MC-26470-00-00
Unavailable
18
BOOT, MASTER CYLINDER
4L0-25862-01-00
Unavailable
19
BOLT, UNION
90401-10020-00
Unavailable
20
WASHER, PLATE(481)
90201-10118-00
Unavailable
21
CLAMP, HOSE
1MC-21823-00-00
Unavailable
22
BOLT, FLANGE
95022-06010-00
Unavailable
