Partiron

Yamaha FJR13AEYG (FJR1300AE) 2D2N 2009 REAR SUSPENSION Diagram

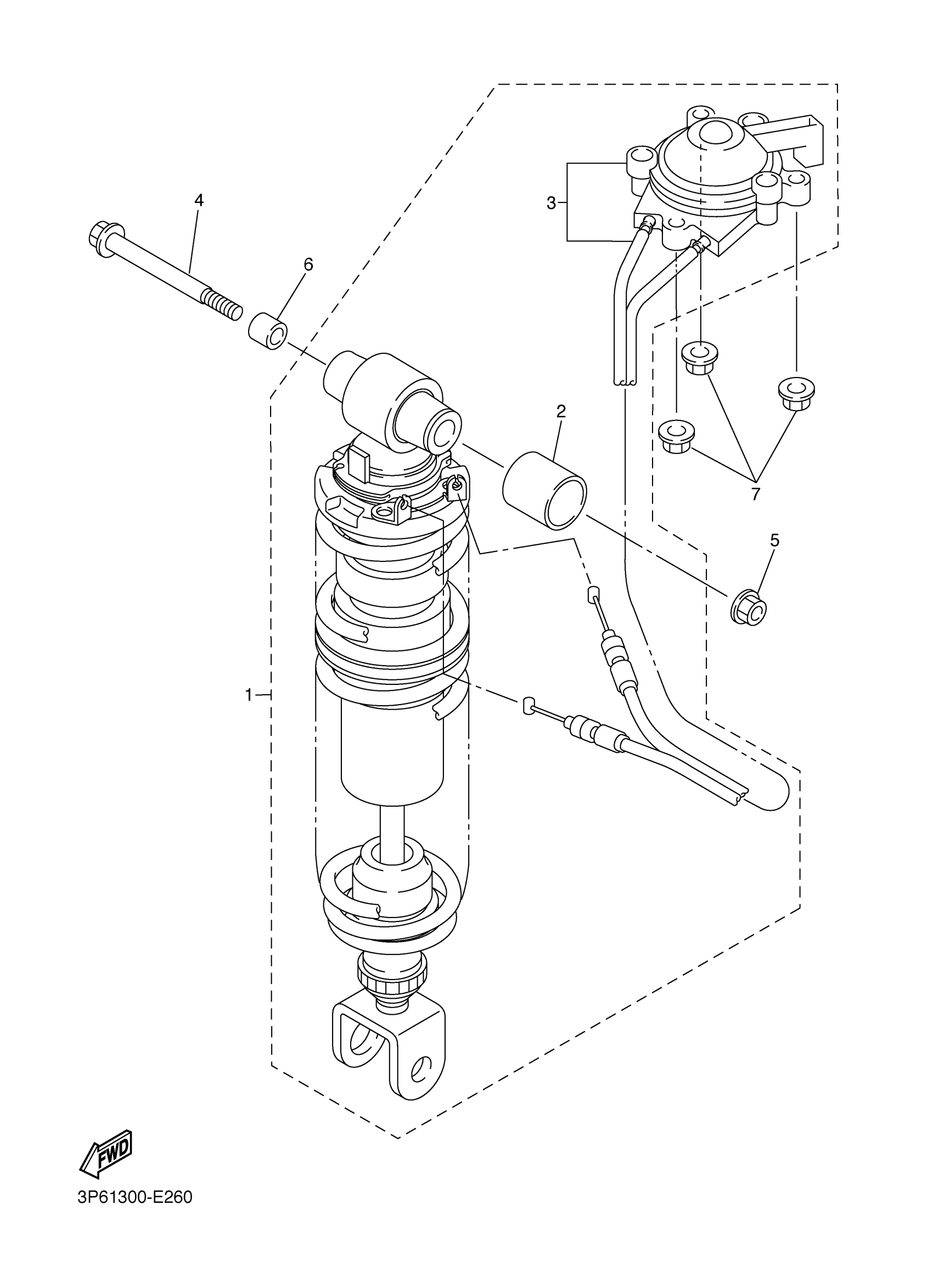
#

Description
Price

1

SHOCK ABSORBER ASSY, REAR

3P6-22210-10-00

Unavailable

2

BUSH, REAR SHOCK ABSORBER

5JW-22216-00-00

$40.99

3

CONTROL PANEL ASSY

3P6-22460-00-00

Unavailable

4

BOLT(4ES)

90101-12755-00

Unavailable

5

NUT, SELF-LOCKING

95602-12200-00

$4.46

6

COLLAR

90387-12028-00

$7.49

7

NUT, U FLANGE

95604-06200-00

$8.49