Partiron

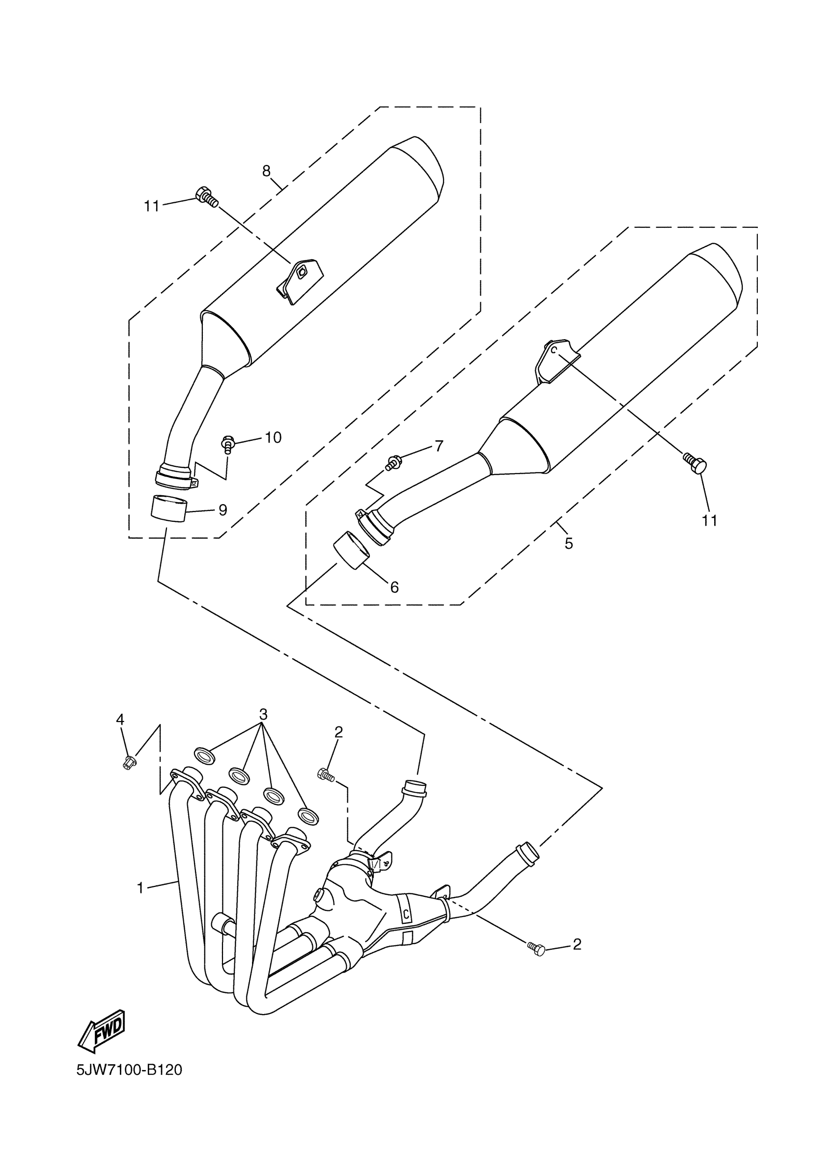
Yamaha FJR13AEYG (FJR1300AE) 2D2N 2009 EXHAUST Diagram

#

Description
Price

1

EXHAUST PIPE COMP.

5JW-14602-02-00

$1,192.99

2

BOLT, HEXAGON SOCKET HEAD

90110-08099-00

$8.49

3

GASKET, EXHAUST PIPE

4FM-14613-00-00

$12.99

4

NUT(4KM)

90179-08673-00

Unavailable

5

MUFFLER ASSY 1

3P6-14710-10-00

Unavailable

6

GASKET, MUFFLER

3XW-14714-00-00

$37.99

7

BOLT, FLANGE(4PU)

95814-08025-00

$9.49

8

MUFFLER ASSY 2

3P6-14720-10-00

Unavailable

9

GASKET, MUFFLER

3XW-14714-00-00

$37.99

10

BOLT, FLANGE(4PU)

95814-08025-00

$9.49

11

BOLT, FLANGE

95814-10040-00

$4.72