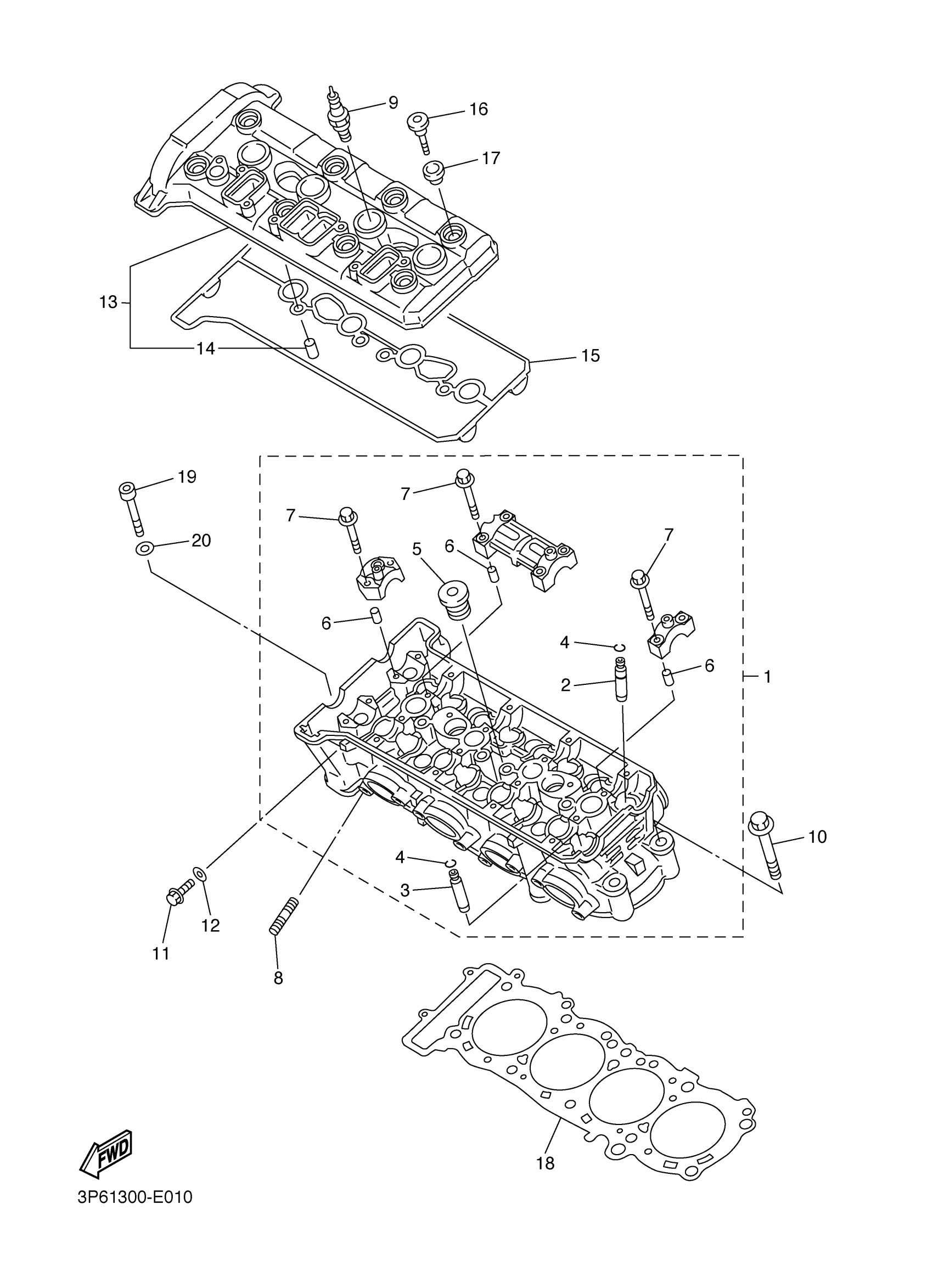
Yamaha FJR13AEWC (FJR1300AE CA) 2D2B 2007 CYLINDER Diagram
#
Description
Price
1
CYLINDER HEAD ASSY
5JW-11102-10-00
Unavailable
3
GUIDE, VALVE 2
3P6-11134-10-00
Unavailable
7
. BOLT, FLANGE
90105-06026-00
Unavailable
9
CR8E NGK SPLUG 4PK
CR8-E0000-00-00
Unavailable
13
COVER, CYLINDER HEAD 1
3P6-11190-00-00
Unavailable
16
BOLT(4BP)
90109-066F0-00
Unavailable
17
RUBBER, MOUNT 1
5VY-1111G-00-00
Unavailable
18
GASKET, CYLINDER HEAD 1
5JW-11181-00-00
Unavailable
19
BOLT, SOCKET
91317-06065-00
Unavailable
20
WASHER, PLATE
90201-06034-00
Unavailable
