- Partiron
- OEM Parts
- Yamaha
- motorcycle
- 2004
- FJR1300SC (FJR1300 CA) 5JWE 2004
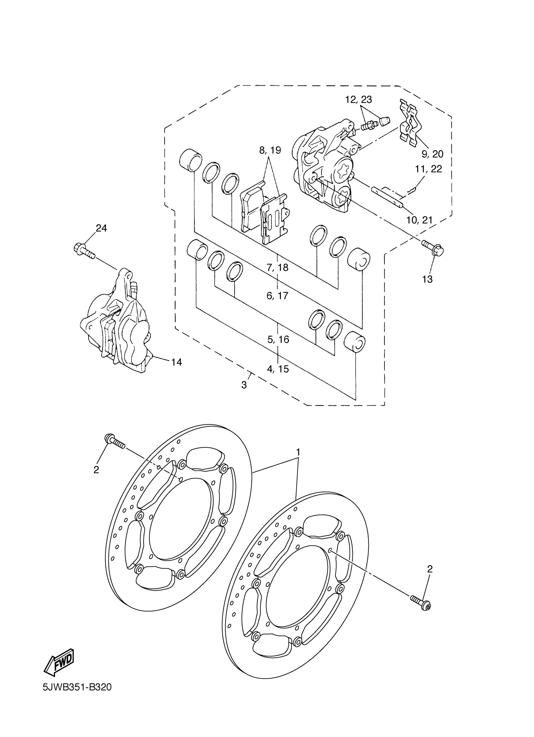
FRONT BRAKE CALIPER
Yamaha FJR1300SC (FJR1300 CA) 5JWE 2004 FRONT BRAKE CALIPER Diagram
#
Description
Price
1
DISK BRAKE ASSY
5VS-2581T-01-00
Unavailable
3
CALIPER ASSY (LEFT)
5JJ-2580T-00-00
Unavailable
8
BRAKE PAD KIT
5JJ-25805-00-00
Unavailable
12
BLEED SCREW KIT
1J3-W0048-00-00
Unavailable
14
CALIPER ASSY (RIGHT)
5JJ-2580U-00-00
Unavailable
19
BRAKE PAD KIT
5JJ-25805-00-00
Unavailable
23
BLEED SCREW KIT
1J3-W0048-00-00
Unavailable
