Yamaha FJR1300ASC (FJR1300ABS CA) 5VS5 2004 REAR ARM Diagram
#
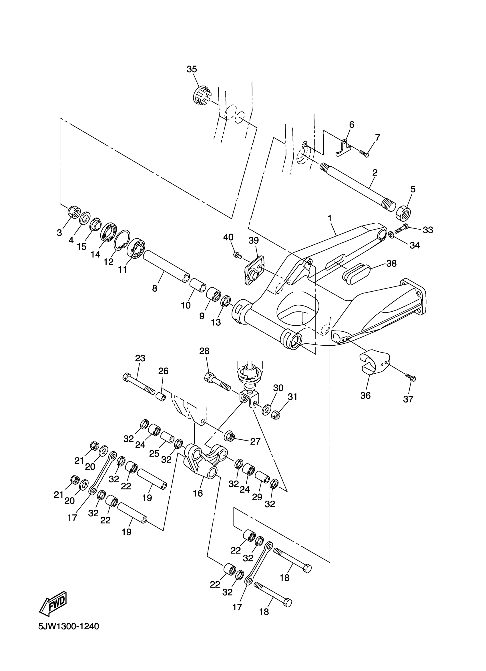
1
REAR ARM COMP.
5VS-22110-01-00
Unavailable
2
SHAFT, PIVOT
5JW-22141-00-00
Unavailable
4
WASHER, PLATE(39X)
90201-186H3-00
Unavailable
5
NUT
90170-28011-00
Unavailable
6
COVER, THRUST 1
5JW-22128-00-00
Unavailable
8
COLLAR
90387-20011-00
Unavailable
15
COLLAR(3MA)
90387-207V6-00
Unavailable
16
ARM, RELAY
5JW-2217A-00-00
Unavailable
17
ARM 1
5JW-2217M-00-00
Unavailable
18
BOLT(1WG)
90101-10658-00
Unavailable
19
COLLAR(1WG)
90387-122R5-00
Unavailable
20
WASHER, PLATE(47X)
90201-101J1-00
Unavailable
21
NUT, U
95617-10100-00
Unavailable
22
BRG,CYL-CAL ROLLER 20G NT
93317-31701-00
Unavailable
23
BOLT
90101-10011-00
Unavailable
24
BEARING
93315-31759-00
Unavailable
25
COLLAR(1WG)
90387-102R4-00
Unavailable
26
COLLAR
90387-10009-00
Unavailable
27
NUT, SELF-LOCKING(JN5)
95607-10200-00
Unavailable
28
BOLT
90109-10024-00
Unavailable
29
COLLAR(3TJ)
90387-127W0-00
Unavailable
30
WASHER, PLATE(47X)
90201-101J1-00
Unavailable
31
NUT, U
95617-10100-00
Unavailable
32
OIL SEAL
93109-17071-00
Unavailable
33
BOLT
97014-08040-00
Unavailable
34
.. WASHER, PLATE
92990-08600-00
Unavailable
35
COVER
4BH-2219X-00-00
Unavailable
36
COVER, DUST
5JW-2217H-00-00
Unavailable
37
BOLT, WITH WASHER (10V)
90119-05062-00
Unavailable
38
COVER
5JW-2219X-00-00
Unavailable
39
COVER, THRUST 2
5JW-22129-00-00
Unavailable
40
RIVET
90269-05002-00
Unavailable
