- Partiron
- OEM Parts
- Yamaha
- motorcycle
- 1984
- FJ600LC (FJ600 CA) 1984
CYLINDER HEAD
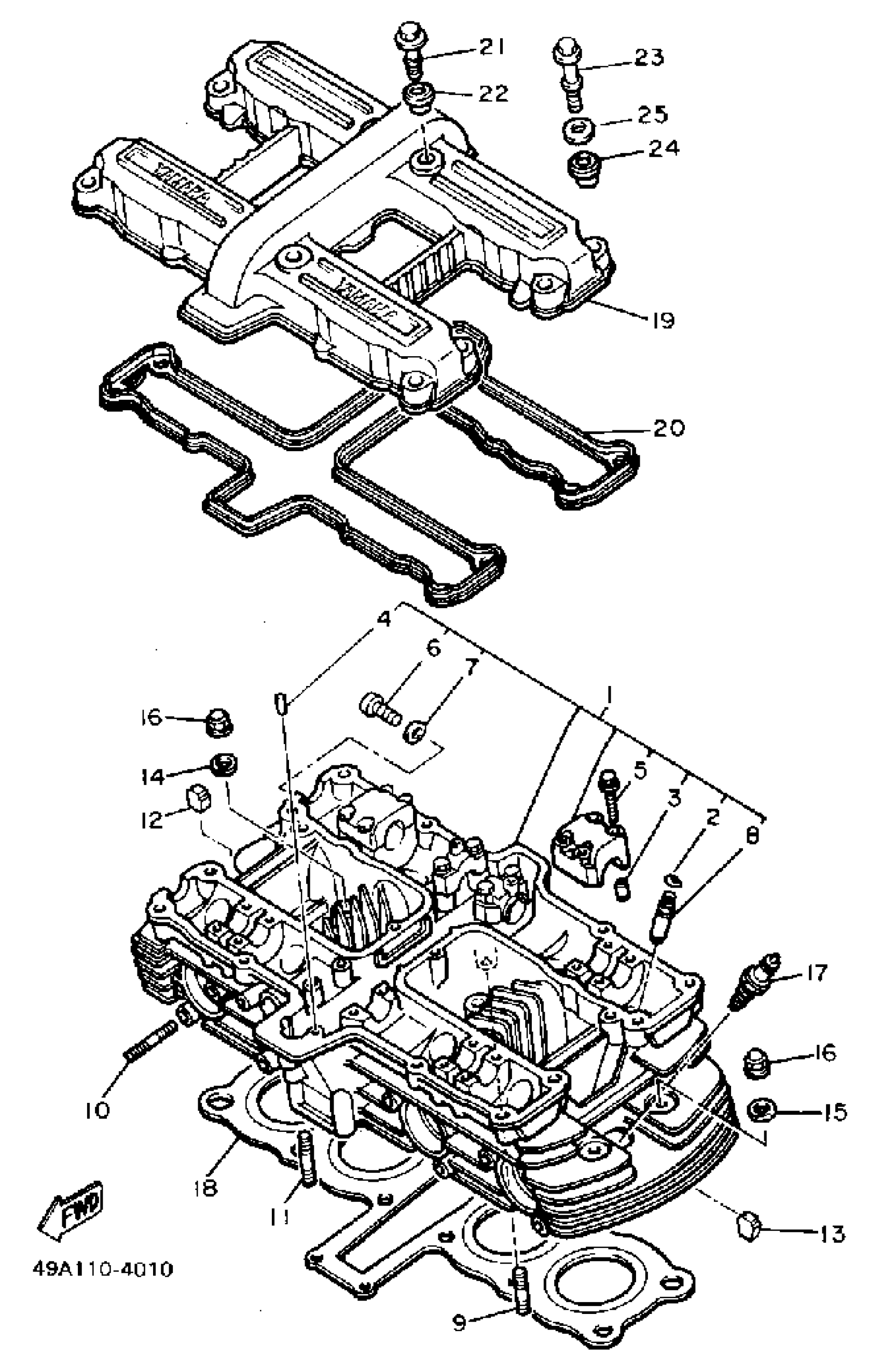
Yamaha FJ600LC (FJ600 CA) 1984 CYLINDER HEAD Diagram
#
Description
Price
1
CYLINDER HEAD ASSEMBLY
49A-11101-00-00
Unavailable
7
GASKET 256113960000
90430-06014-00
Unavailable
9
BOLT
50M-14651-00-00
Unavailable
12
ABSORBER
434-11161-00-00
Unavailable
16
NUT, CROWN (4G0)
90176-08026-00
Unavailable
17
D8EA NGK SPLUG 10PK
D8E-A0000-00-00
Unavailable
18
GASKET, CYLINDER HEAD 1
4BR-11181-00-00
Unavailable
19
COVER, CYLINDER HEAD 1
49A-11191-01-00
Unavailable
20
GASKET, CYLINDER HEAD ASSY
3KM-11193-00-00
Unavailable
21
BOLT
90109-063A5-00
Unavailable
22
RUBBER, MOUNT 1
4G0-1111G-00-00
Unavailable
23
BOLT
90109-063A4-00
Unavailable
24
GROMMET (4G0)
90480-11287-00
Unavailable
25
WASHER, SPEC''L SHAP
90209-10261-00
Unavailable
