- Partiron
- OEM Parts
- Yamaha
- motorcycle
- 1989
- FJ1200WC (FJ1200 CA) 1989
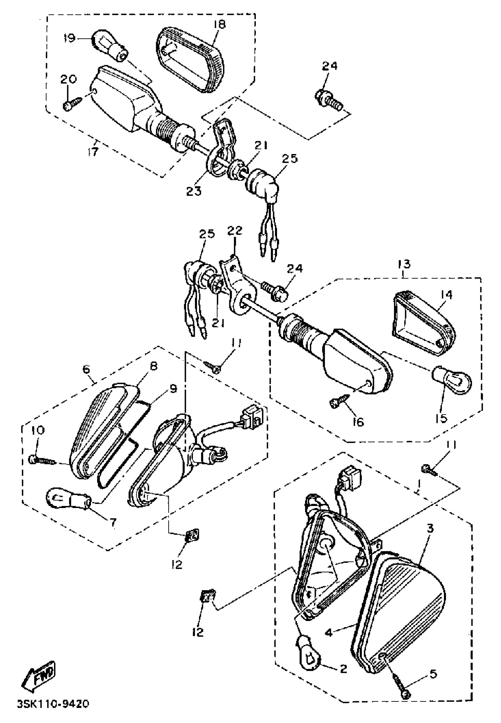
TURNSIGNAL
Yamaha FJ1200WC (FJ1200 CA) 1989 TURNSIGNAL Diagram
#
Description
Price
1
FRT FLSHR LITE ASSEMBLY
3GP-83310-00-00
Unavailable
3
. LENS, FLASHER
3CV-83312-00-00
Unavailable
4
. GASKET, FLSHR LENS
3CV-83313-00-00
Unavailable
6
FRT FLSHR LITE ASSEMBLY
3GP-83320-00-00
Unavailable
8
. LENS, FLASHER 2
3CV-83322-00-00
Unavailable
9
. GASKET, FLSHR LENS
3CV-83313-00-00
Unavailable
13
REAR FLASHER LIGHT ASSY 1
1UF-83330-00-00
Unavailable
15
. BULB (12V-32CP)
256-83311-70-XX
Unavailable
16
SCREW, PAN TAP.2
97707-40520-00
Unavailable
17
REAR FLASHER LIGHT ASSY 2
1UF-83340-00-00
Unavailable
18
LENS, FLASHER
51L-83332-01-00
Unavailable
19
. BULB (12V-32CP)
256-83311-70-XX
Unavailable
20
SCREW, PAN TAP.2
97707-40520-00
Unavailable
21
NUT(3GG)
90179-12588-00
Unavailable
22
STAY, FLASHER
36Y-83368-00-00
Unavailable
23
STAY, FLASHER
36Y-83369-00-00
Unavailable
24
BOLT, FLANGE
95817-08012-00
Unavailable
25
CAP
18G-83365-00-00
Unavailable
