- Partiron
- OEM Parts
- Yamaha
- motorcycle
- 1987
- FJ1200TC (FJ1200 CA) 1987
SHIFT SHAFT
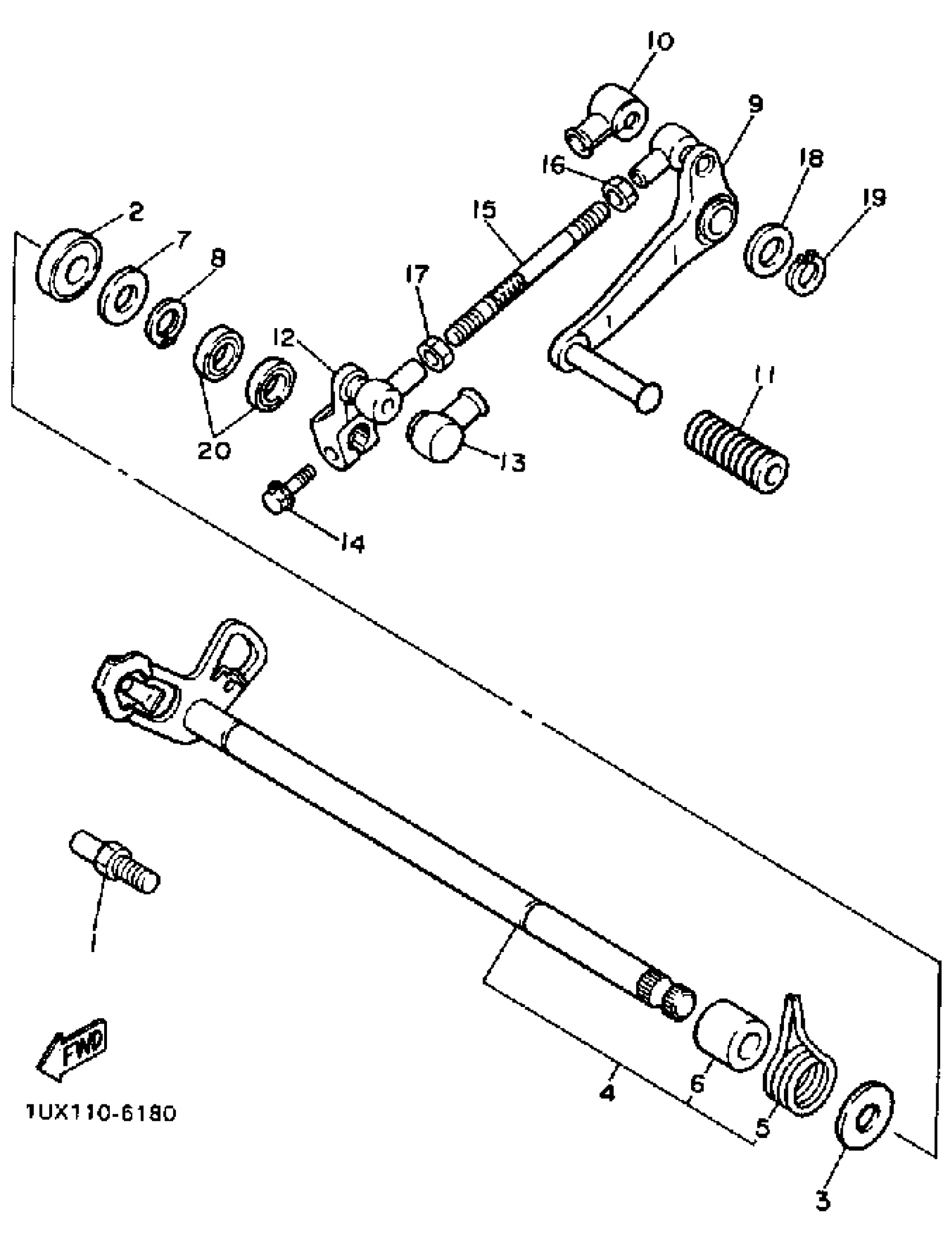
Yamaha FJ1200TC (FJ1200 CA) 1987 SHIFT SHAFT Diagram
#
Description
Price
1
STOPPER, SCREW
5VK-18127-00-00
Unavailable
4
SHIFT SHAFT ASY. 1
1TX-18101-02-00
Unavailable
6
. COLLAR
90387-114K8-00
Unavailable
9
PEDAL, SHIFT
36Y-18111-00-00
Unavailable
12
ARM, SHIFT
1TX-18112-00-00
Unavailable
16
NUT (2H9)
90170-06228-00
Unavailable
17
NUT(650)
95380-06700-00
Unavailable
18
WASHER, PLATE (5K7)
90201-124E4-00
Unavailable
19
CIRCLIP(10Y)
99009-12400-00
Unavailable
20
OIL SEAL
93109-12075-00
Unavailable
