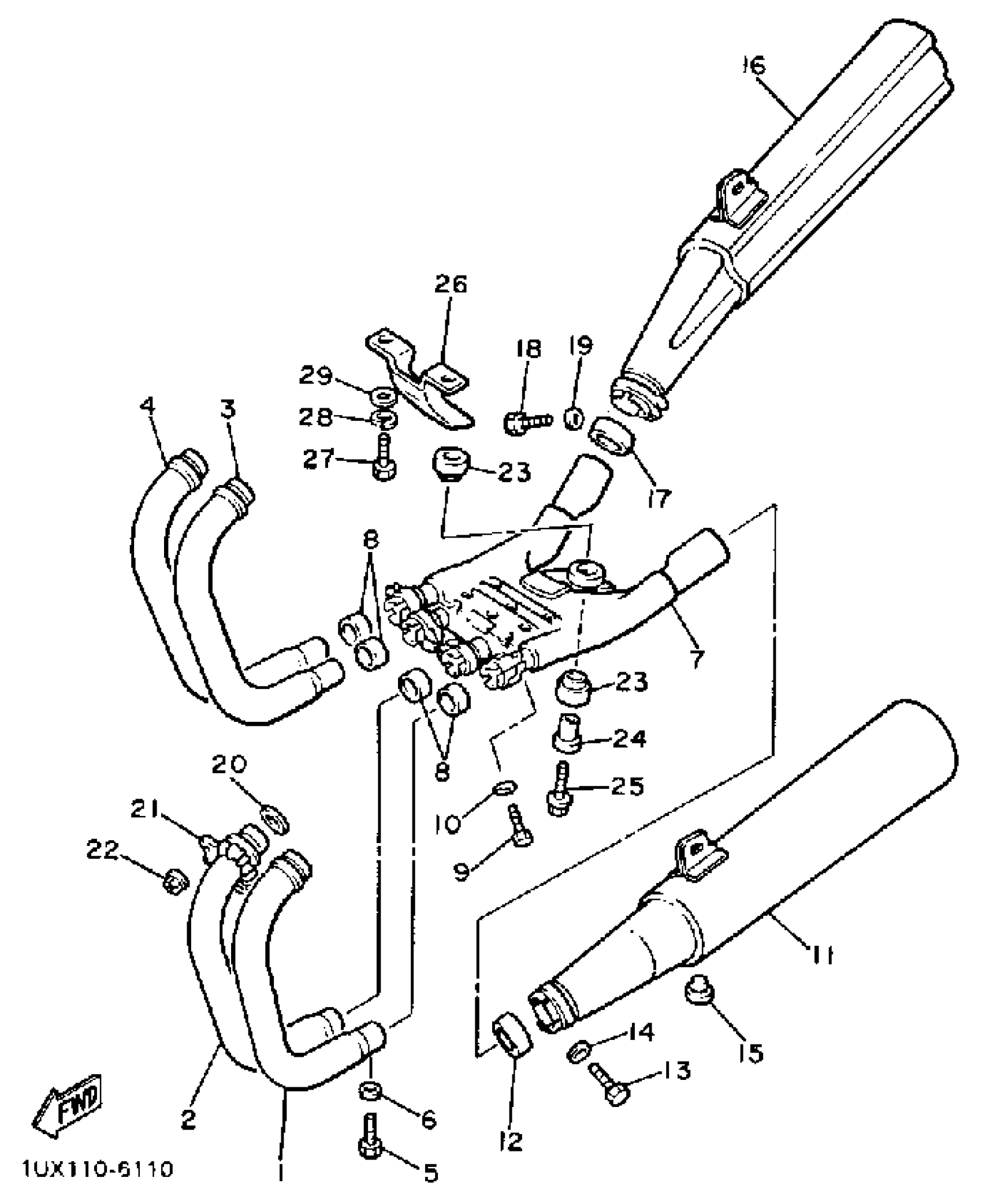
Yamaha FJ1200TC (FJ1200 CA) 1987 EXHAUST Diagram
#
Description
Price
1
PIPE, EXHAUST L
1TX-14611-00-00
Unavailable
2
PIPE, EXHAUST R
1TX-14621-00-00
Unavailable
3
PIPE, EXHAUST 3
1TX-14631-00-00
Unavailable
4
PIPE, EXHAUST 4
1TX-14641-00-00
Unavailable
7
JOINT, EXHAUST L
1TX-14615-10-00
Unavailable
8
GASKET, SILENCER
3XW-14755-00-00
Unavailable
10
.. WASHER, PLATE
92990-08600-00
Unavailable
11
MUFFLER L (1UX-14711-00)
1UX-14711-01-00
Unavailable
16
MUFFLER R (1UX-14721-00)
1UX-14721-01-00
Unavailable
20
GASKET, EXHAUST PIPE
4BE-14613-00-00
Unavailable
21
NUT, RING
36Y-14612-00-00
Unavailable
22
NUT, SPEC''L SHAPE
90179-08345-00
Unavailable
23
DAMPER, MUFFLER
36Y-14747-00-00
Unavailable
24
COLLAR
4G0-14638-00-00
Unavailable
25
BOLT, FLANGE
95814-10040-00
Unavailable
26
STAY, MUFFLER
36Y-14791-00-00
Unavailable
27
BOLT (682)
97013-08025-00
Unavailable
28
YBS67-8 WASHER, SPRING
92990-08100-00
Unavailable
29
.. WASHER, PLATE
92990-08600-00
Unavailable
