- Partiron
- OEM Parts
- Yamaha
- motorcycle
- 1991
- FJ1200BC (FJ1200 CA) 1991
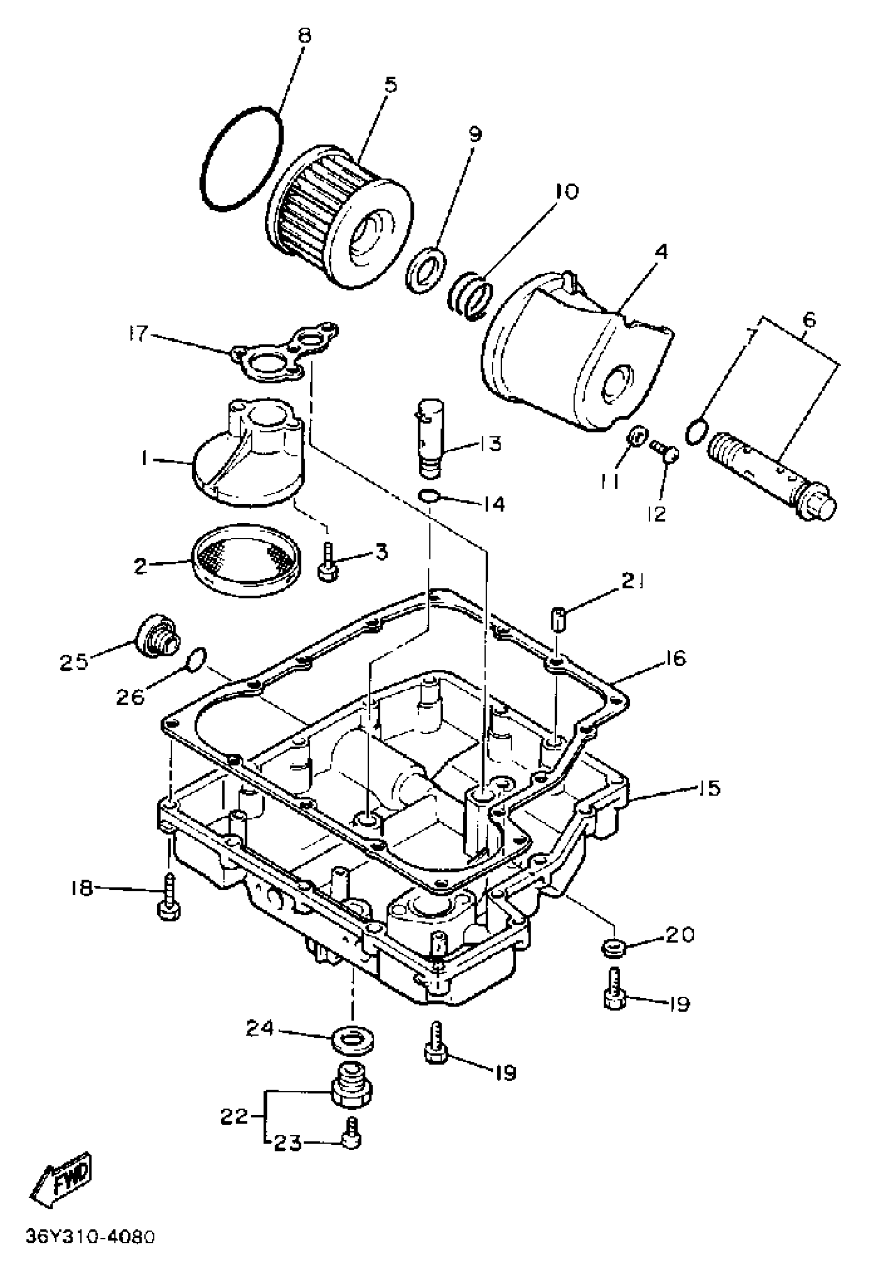
OIL FILTER
Yamaha FJ1200BC (FJ1200 CA) 1991 OIL FILTER Diagram
#
Description
Price
2
STRAINER, OIL
4H7-13411-02-00
Unavailable
3
BOLT,SOCKET
91317-06020-00
Unavailable
4
COVER, OIL ELEMENT
4KG-13447-00-00
Unavailable
6
BY-PASS VALVE ASSY
36Y-13340-00-00
Unavailable
8
O-RING(1KF)
93210-87723-00
Unavailable
11
GASKET
90430-05126-00
Unavailable
16
GASKET, STRAINER COVER
4CR-13414-00-00
Unavailable
17
SEAL, OIL STRAINER
4CR-13415-00-00
Unavailable
18
BOLT,SOCKET
91317-06025-00
Unavailable
19
BOLT,SOCKET
91317-06035-00
Unavailable
20
GASKET 256113960000
90430-06014-00
Unavailable
21
PIN, DOWEL(3XW)
91808-16023-00
Unavailable
22
PLUG, STRAIGHT SCREW(3FA)
90340-14132-00
Unavailable
23
SCREW, BIND(2TV)
98980-06008-00
Unavailable
24
GASKET
214-11198-01-00
Unavailable
25
PLUG
36Y-15189-01-00
Unavailable
