- Partiron
- OEM Parts
- Yamaha
- motorcycle
- 1993
- FJ1200AEC (FJ1200 CA) 1993
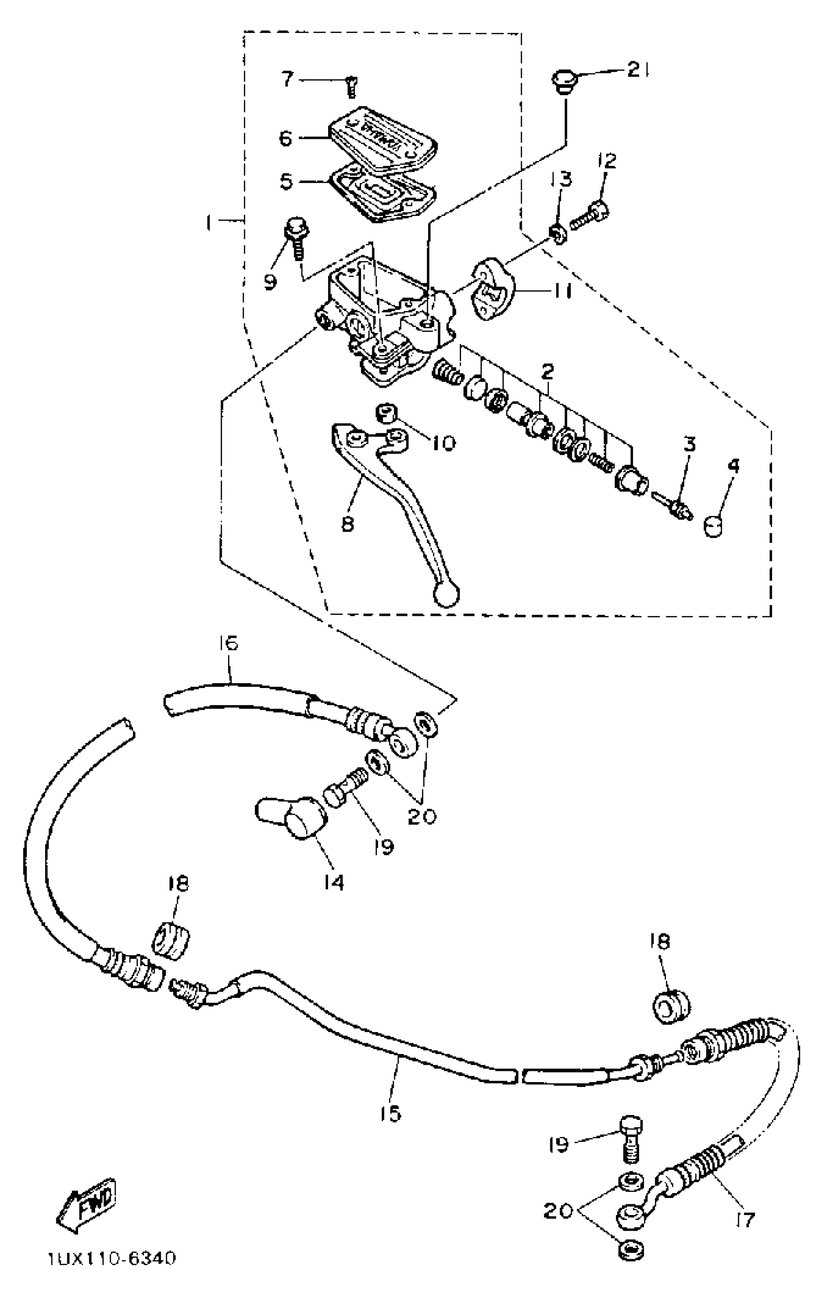
FRONT MASTER CYLINDER 2
Yamaha FJ1200AEC (FJ1200 CA) 1993 FRONT MASTER CYLINDER 2 Diagram
#
Description
Price
2
CYLINDER KIT, MASTER (CLUTCH)
2KW-W0099-00-00
Unavailable
9
. BOLT
90109-067A0-00
Unavailable
11
BRAKET,MASTER
1AE-26467-01-00
Unavailable
15
PIPE
36Y-26471-00-00
Unavailable
16
HOSE, CLUTCH 1
99999-03085-00
Unavailable
17
HOSE,CLUTCH 2
99999-03090-00
Unavailable
18
PROTECTOR, BRAKE HOSE
341-25881-00-00
Unavailable
19
BOLT, UNION(3GM)
90401-10159-00
Unavailable
20
WASHER, PLATE(481)
90201-10118-00
Unavailable
21
PLUG (341-26329-00)
90338-09012-00
Unavailable
