Yamaha FJ1100LC (FJ1100 CA) 1984 SWING ARM Diagram
#
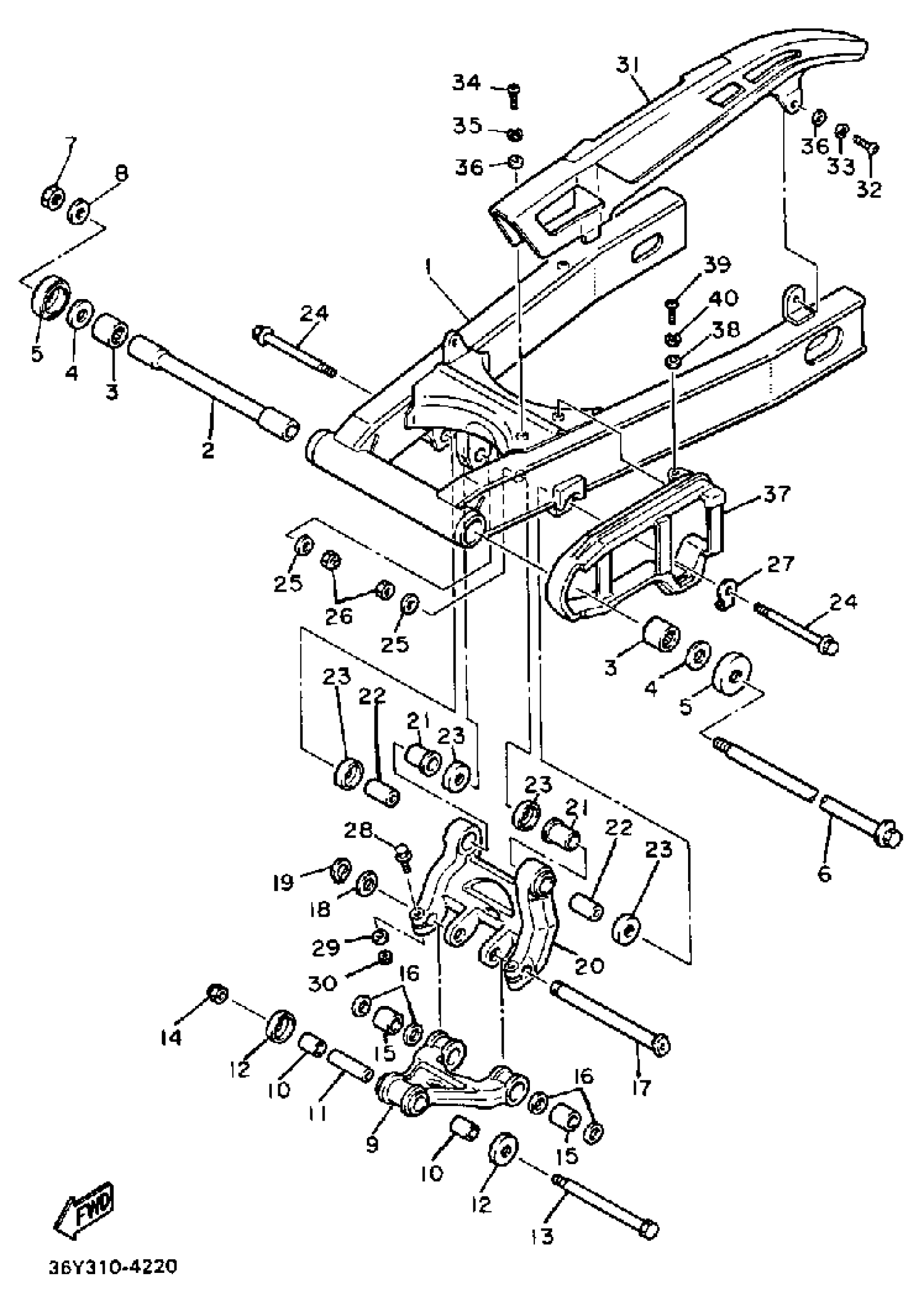
1
REAR ARM
36Y-22110-00-00
Unavailable
2
BUSH
36Y-22184-00-00
Unavailable
3
BEARING, CYLINDRICAL(36Y)
93317-42550-00
Unavailable
4
SHIM
36Y-22127-00-00
Unavailable
5
COVER, THRUST 1
36Y-22128-00-00
Unavailable
6
SHAFT, PIVOT
36Y-22141-00-00
Unavailable
9
ARM, RELAY
36Y-2217A-00-00
Unavailable
11
COLLAR(1FN)
90387-123M4-00
Unavailable
12
COVER, THRUST 2
36Y-22129-00-00
Unavailable
13
BOLT
90101-12605-00
Unavailable
15
BUSH, SPEC''L NYLON
90386-18129-00
Unavailable
16
OIL SEAL (2J5)
93109-18020-00
Unavailable
17
SHAFT 1
1AE-22121-00-00
Unavailable
18
WASHER, PLATE(36Y)
90201-187H4-00
Unavailable
19
CIRCLIP(13H)
99009-18400-00
Unavailable
20
ARM 1
(36Y-2217M-00-00)
Unavailable
21
BUSH, SPEC''L NYLON
90386-20131-00
Unavailable
22
COLLAR(36Y)
90387-125K2-00
Unavailable
23
COVER, THRUST 2
36Y-22129-00-00
Unavailable
24
BOLT, WASHER BASED(36Y)
90105-12309-00
Unavailable
25
WASHER, PLATE (4N0)
90201-126A7-00
Unavailable
27
WASHER, PLATE
36Y-22156-00-00
Unavailable
28
BOLT, FLANGE
95817-06045-00
Unavailable
29
WASHER, PLATE (4H7)
90201-061A5-00
Unavailable
30
NUT, SELF-LOCKING
95617-06100-00
Unavailable
31
CASE, CHAIN
36Y-22311-00-00
Unavailable
32
SCREW, PAN HEAD(62J)
97885-06012-00
Unavailable
33
WASHER, SPRING
92995-06100-00
Unavailable
34
SCREW PAN HEAD
98580-06020-00
Unavailable
35
WASHER, SPRING
92995-06100-00
Unavailable
36
WASHER, PLATE
90201-06380-00
Unavailable
37
SEAL, GUARD
36Y-22151-01-00
Unavailable
38
WASHER, PLATE
90201-06380-00
Unavailable
39
SCREW PAN HEAD
98580-06020-00
Unavailable
40
WASHER, SPRING
92995-06100-00
Unavailable
