Yamaha FJ1100LC (FJ1100 CA) 1984 FUEL TANK Diagram
#
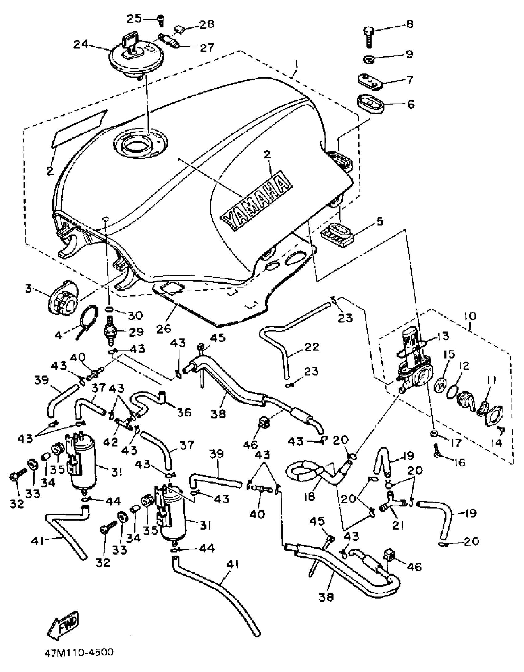
1
FUEL TANK (47M-24110-00-01) (LC)
47M-24110-01-01
Unavailable
1
FUEL TANK
47M-24110-01-02
Unavailable
2
EMBLEM,YAMAHA(2NA)
99243-00140-00
Unavailable
3
DAMPER, LOCATING 1
36Y-24181-01-00
Unavailable
5
DAMPER, LOCATING 2
36Y-24182-00-00
Unavailable
7
WASHER, SPECIAL
36Y-24186-00-00
Unavailable
10
FUEL COCK ASSY 1
36Y-24500-01-00
Unavailable
11
. WASHER, WAVE
16G-24518-00-00
Unavailable
14
SCREW, PAN HEAD (J10)
98580-03008-00
Unavailable
15
. VALVE
47X-24523-00-00
Unavailable
16
SCREW 366241430000
90149-06008-00
Unavailable
17
WASHER, PLATE(3MB)
90202-05187-00
Unavailable
18
PIPE 2
36Y-24312-00-00
Unavailable
19
PIPE, FUEL 1
36Y-24311-00-00
Unavailable
20
CLIP (4X4)
90467-12052-00
Unavailable
21
PIPE, JOINT 1
36Y-24376-00-00
Unavailable
22
PIPE 3
36Y-24313-00-00
Unavailable
23
CLIP (16G)
90467-08021-00
Unavailable
24
CAP.ASSEMBLY
47M-24602-03-00
Unavailable
25
SCREW,PAN HEAD (646)
98580-05012-00
Unavailable
26
SEAL, AIR SHROUD 1
3CV-24125-00-00
Unavailable
27
COVER,HINGE
36Y-24669-01-00
Unavailable
28
DAMPER
36Y-24665-00-00
Unavailable
29
ROLL OVER VALVE ASSY
20K-24180-00-00
Unavailable
30
O-RING (4G0)
93210-11453-00
Unavailable
31
CANISTER ASSEMBLY
47M-24170-00-00
Unavailable
32
BOLT,SOCKET
91317-06016-00
Unavailable
33
WASHER, PLATE(36Y)
90201-063J2-00
Unavailable
34
COLLAR(47X)
90387-060G7-00
Unavailable
35
GROMMET
90480-12529-00
Unavailable
36
PIPE, FUEL 1
47M-24311-00-00
Unavailable
37
HOSE
(90445-115A5-00)
Unavailable
38
PIPE 2
(47M-24312-00-00)
Unavailable
39
PIPE 3
(47M-24313-00-00)
Unavailable
40
TUBE, CONNECTING
42H-24119-00-00
Unavailable
41
PIPE 4
(47M-24314-00-00)
Unavailable
42
PIPE, JOINT
3H3-24376-00-00
Unavailable
43
CLIP
90467-090A2-00
Unavailable
44
CLIP(1JH)
90467-11106-00
Unavailable
45
BAND
1UA-82591-00-00
Unavailable
46
CLAMP (1A0)
90464-08020-00
Unavailable
