Partiron

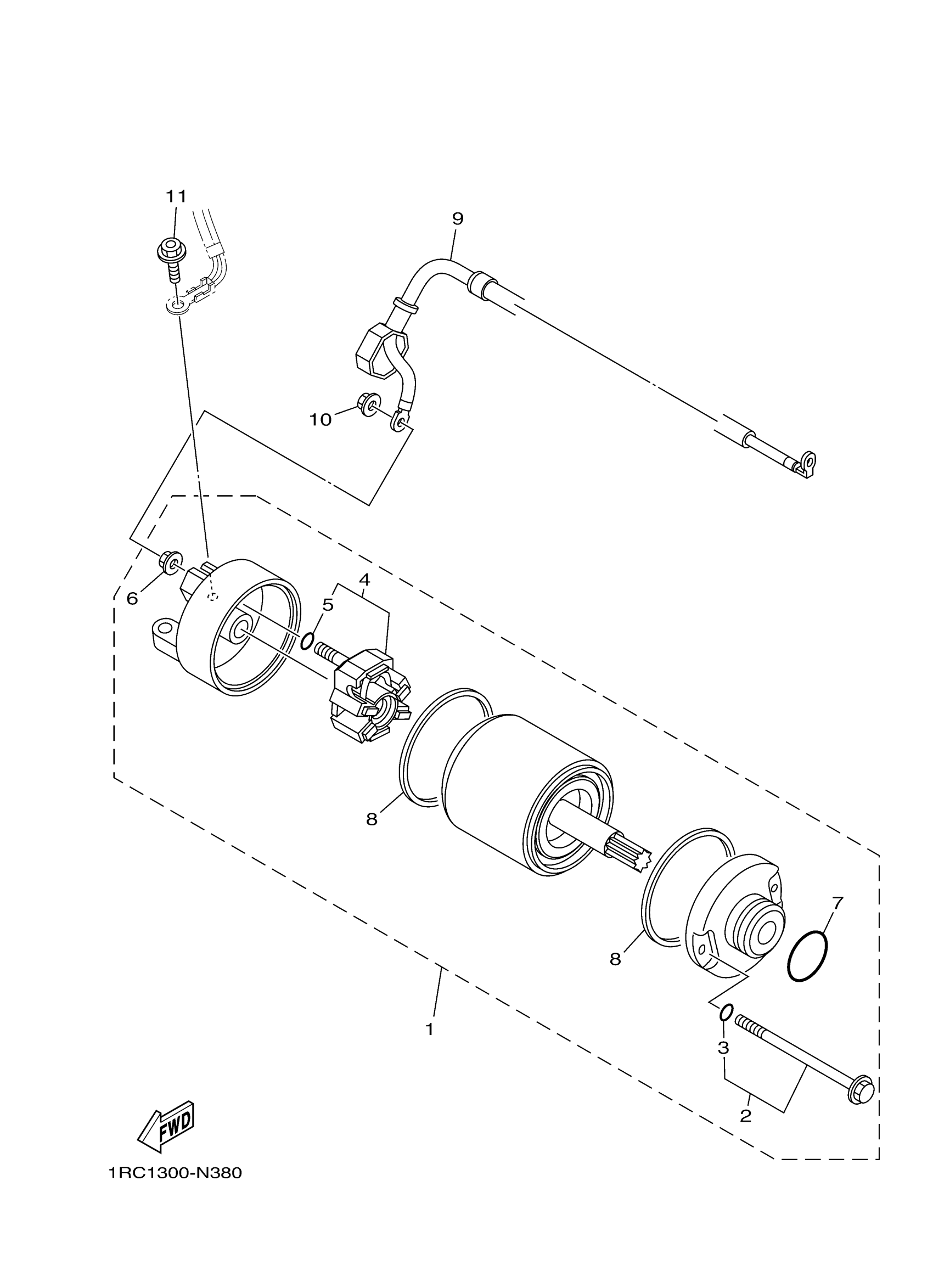
Yamaha FJ09FR (FJ09) 2SC50 2015 STARTING MOTOR Diagram

#

Description
Price

1

MOTOR ASSY

1RC-81890-00-00

$433.99

2

BOLT

28P-81826-00-00

Unavailable

3

.. O-RING

3TB-81847-00-00

Unavailable

4

BRUSH HOLDER ASSY

4B5-81840-00-00

$99.99

5

.. O-RING

3TB-81847-00-00

Unavailable

6

NUT

4XV-8182A-00-00

$7.99

7

O-RING (437)

93210-24235-00

$7.49

8

GASKET

35C-81844-00-00

Unavailable

9

CORD, STARTER MOTOR

1RC-81815-00-00

$45.99

10

NUT

4XV-8182A-00-00

$7.99

11

BOLT, HEXAGON SOCKET HEAD

90110-06388-00

$5.60