Partiron

Yamaha FC1800AS (FX CRUISER SVHO) F3JK 2017 CYLINDER 1 Diagram

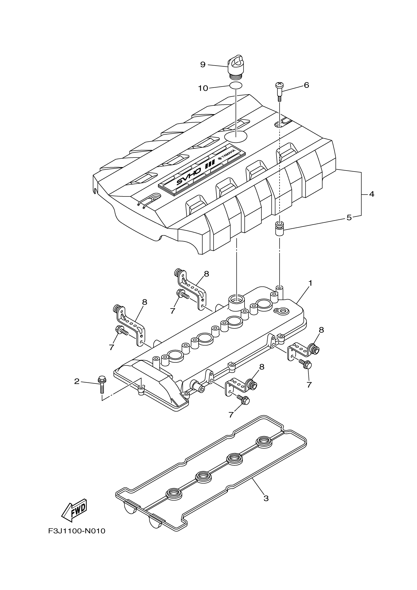
#

Description
Price

1

COVER, CYLINDER HEAD 1

6S5-11191-20-00

Unavailable

2

BOLT, FLANGE

90105-06028-00

Unavailable

3

. GASKET, HEAD COVER 1

6BH-11193-00-00

Unavailable

4

COVER ASSY 1

6ET-E110M-00-00

Unavailable

5

. GROMMET, ANODE

6S5-E1328-00-00

Unavailable

6

BOLT, COVER MOUNTING

6S5-E118E-02-00

$3.99

7

BOLT, FLANGE

95814-06012-00

Unavailable

8

STAY

6S5-11941-11-00

$27.99

9

PLUG, OIL

6S5-15363-00-00

Unavailable

10

O-RING (437)

93210-24235-00

$7.49