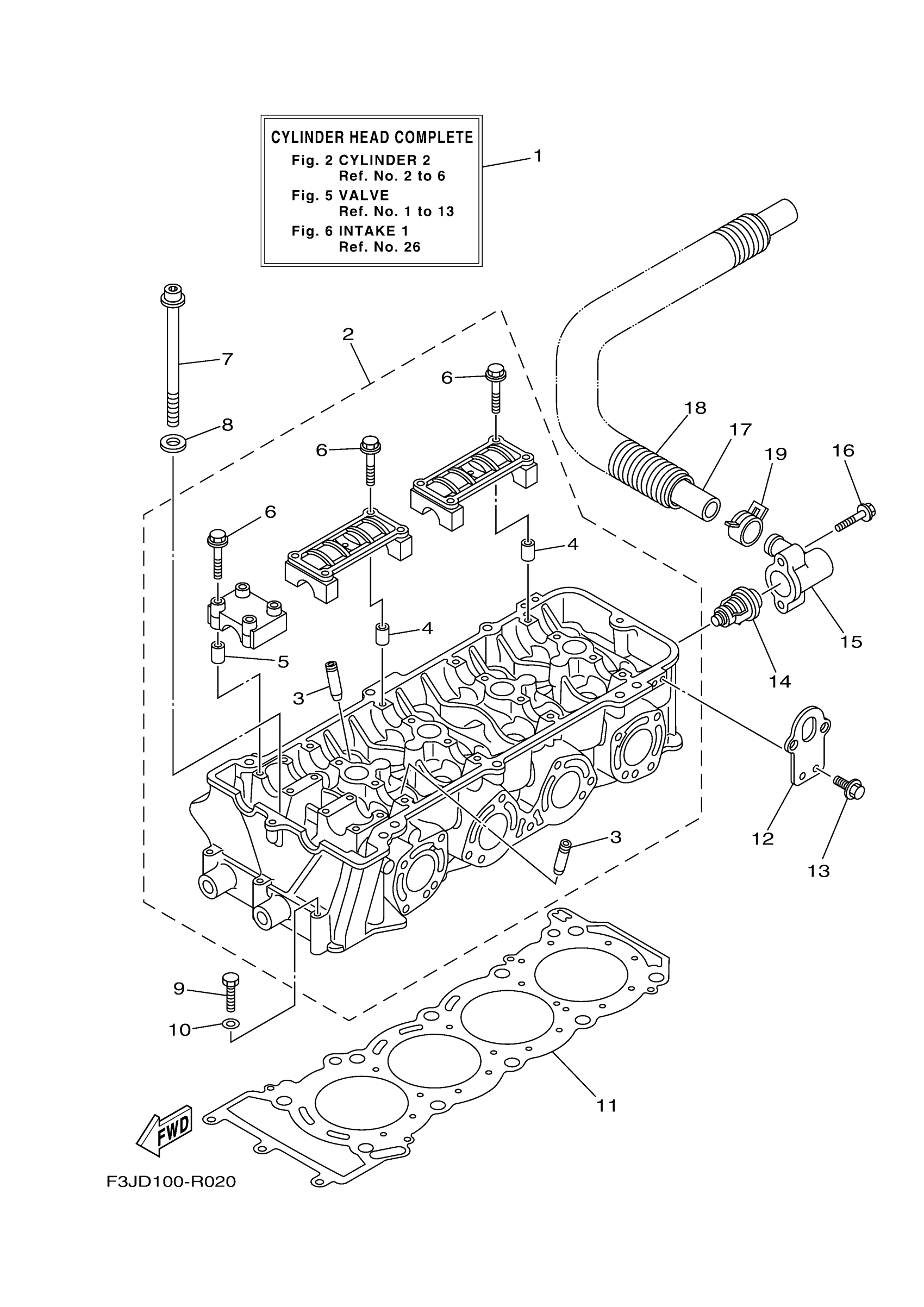
Yamaha FC1800AR (FX CRUISER SVHO) F3JD 2016 CYLINDER 2 Diagram
#
Description
Price
2
CYLINDER HEAD ASSY
6S5-11102-20-00
Unavailable
3
. GUIDE, VALVE 1
6S5-11133-10-00
Unavailable
4
. PIN, DOWEL
91809-16002-00
Unavailable
5
. PIN, DOWEL
91809-16002-00
Unavailable
6
. BOLT, FLANGE
90105-07009-00
Unavailable
7
BOLT
6S5-12228-01-00
Unavailable
8
WASHER, PLATE
90201-12039-00
Unavailable
9
BOLT(64D)
97013-06055-00
Unavailable
11
GASKET, CYLINDER HEAD 1
6JC-11181-00-00
Unavailable
12
HANGER, ENGINE 2
6BH-1111E-00-00
Unavailable
13
BOLT, WITH WASHER
90119-06078-00
Unavailable
14
THERMOSTAT
6D3-12411-00-00
Unavailable
15
COVER, THERMOSTAT
6BH-12413-00-00
Unavailable
16
BOLT, FLANGE
90105-06035-00
Unavailable
17
HOSE 3
6S5-12578-00-00
Unavailable
18
TUBE (L850)
90447-28008-00
Unavailable
19
CLIP
90467-240A0-00
Unavailable
