Partiron

Yamaha FB1800P (FX HO) F2TF 2015 CYLINDER 1 Diagram

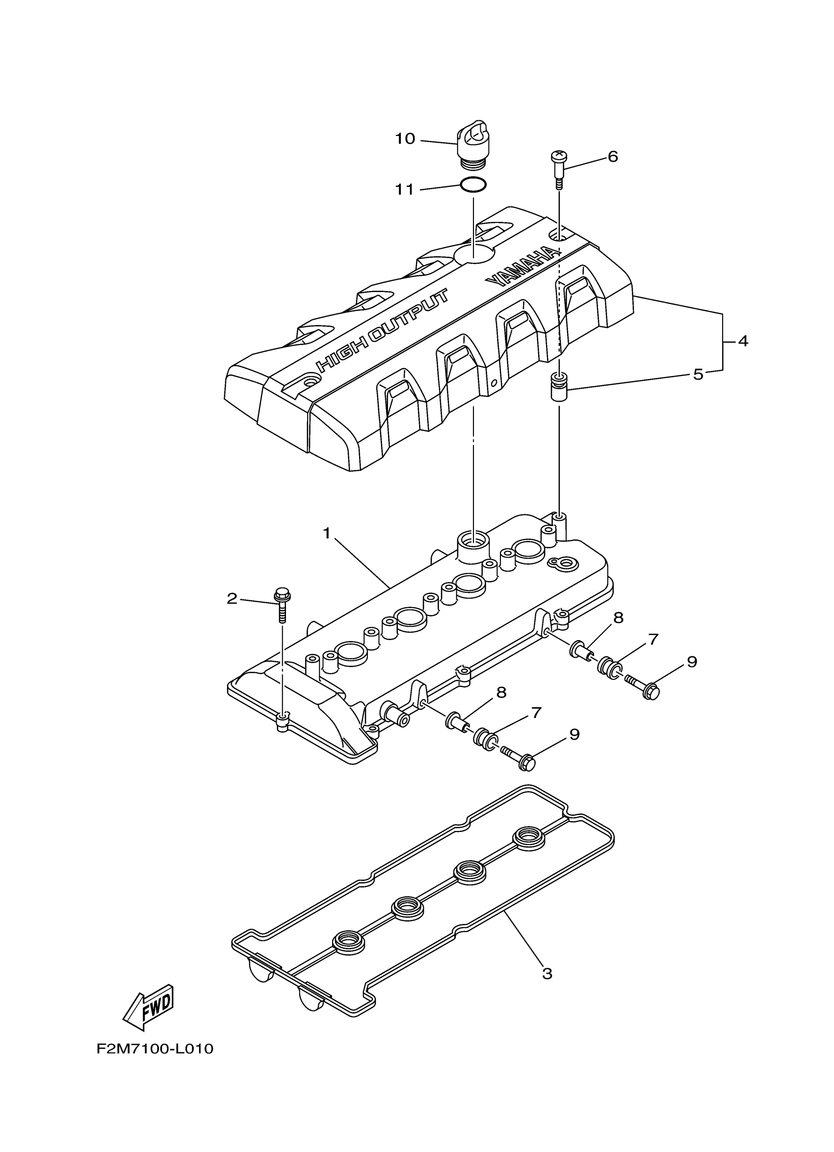
#

Description
Price

1

COVER, CYLINDER HEAD 1

6BH-11191-20-00

Unavailable

2

BOLT, FLANGE

90105-06028-00

Unavailable

3

. GASKET, HEAD COVER 1

6BH-11193-00-00

Unavailable

4

COVER ASSY 1

6BH-E110M-00-00

Unavailable

5

. GROMMET, ANODE

6S5-E1328-00-00

Unavailable

6

BOLT, COVER MOUNTING

6S5-E118E-02-00

$3.99

7

DAMPER, IGNITION COIL

61N-82317-01-00

Unavailable

8

. COLLAR

90387-06119-00

Unavailable

9

BOLT, FLANGE

95814-06025-00

Unavailable

10

PLUG, OIL

6S5-15363-00-00

Unavailable

11

O-RING (437)

93210-24235-00

$7.49