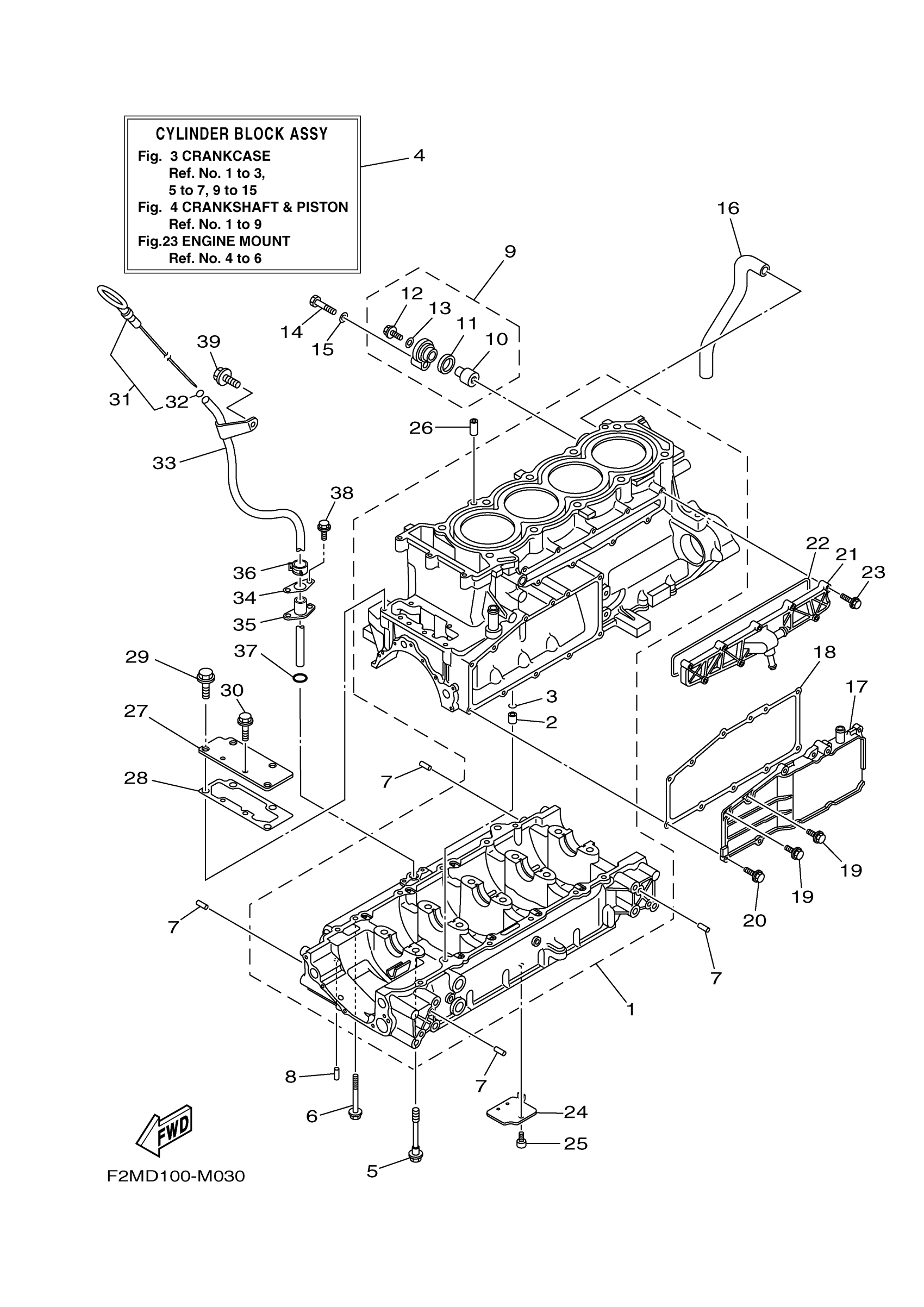
Yamaha FB1800P (FX HO) F2TF 2015 CRANKCASE Diagram
#
1
CRANKCASE ASSY
6CR-15100-20-00
Unavailable
4
CYLINDER BLOCK ASSY
6CR-W009B-28-94
Unavailable
5
. BOLT, FLANGE
90105-10071-00
Unavailable
8
PIN, DOWEL
93604-10M03-00
Unavailable
10
. ANODE
68V-11325-02-00
Unavailable
11
GROMMET, ANODE
67F-11328-01-00
Unavailable
13
. GASKET
90430-06M03-00
Unavailable
15
.. WASHER, PLATE
92990-08600-00
Unavailable
16
HOSE
6S5-11377-00-00
Unavailable
17
COVER
6S5-1131M-10-8P
Unavailable
18
. GASKET
6BH-13557-00-00
Unavailable
19
BOLT, FLANGE
95024-06014-00
Unavailable
20
BOLT, FLANGE(3DM)
95024-06020-00
Unavailable
21
JOINT 1
6CS-12469-A0-00
Unavailable
22
. GASKET, WATER INLET
6CS-12517-00-00
Unavailable
23
BOLT, FLANGE
95814-06035-00
Unavailable
24
PLATE, BAFFLE LOWER
6S5-13337-10-00
Unavailable
25
BOLT,SOCKET
91317-06012-00
Unavailable
27
COVER, JOINT
6BH-1131C-00-00
Unavailable
28
. GASKET, COVER
6BH-1131B-00-00
Unavailable
29
BOLT, FLANGE(4HM)
95814-08020-00
Unavailable
30
BOLT, FLANGE
95814-06016-00
Unavailable
31
PLUG, OIL LEVEL
6ET-15362-00-00
Unavailable
32
O-RING (26H)
93210-06632-00
Unavailable
33
PIPE, OIL LEVEL
6CS-8572F-00-00
Unavailable
34
. PLATE
6BH-1319K-00-00
Unavailable
35
SPACER
6CS-85516-00-00
Unavailable
36
. CLIP
90467-150A1-00
Unavailable
37
. O-RING
93210-12016-00
Unavailable
38
BOLT
90109-06268-00
Unavailable
39
BOLT, WASHER BASED
90105-08021-00
Unavailable
