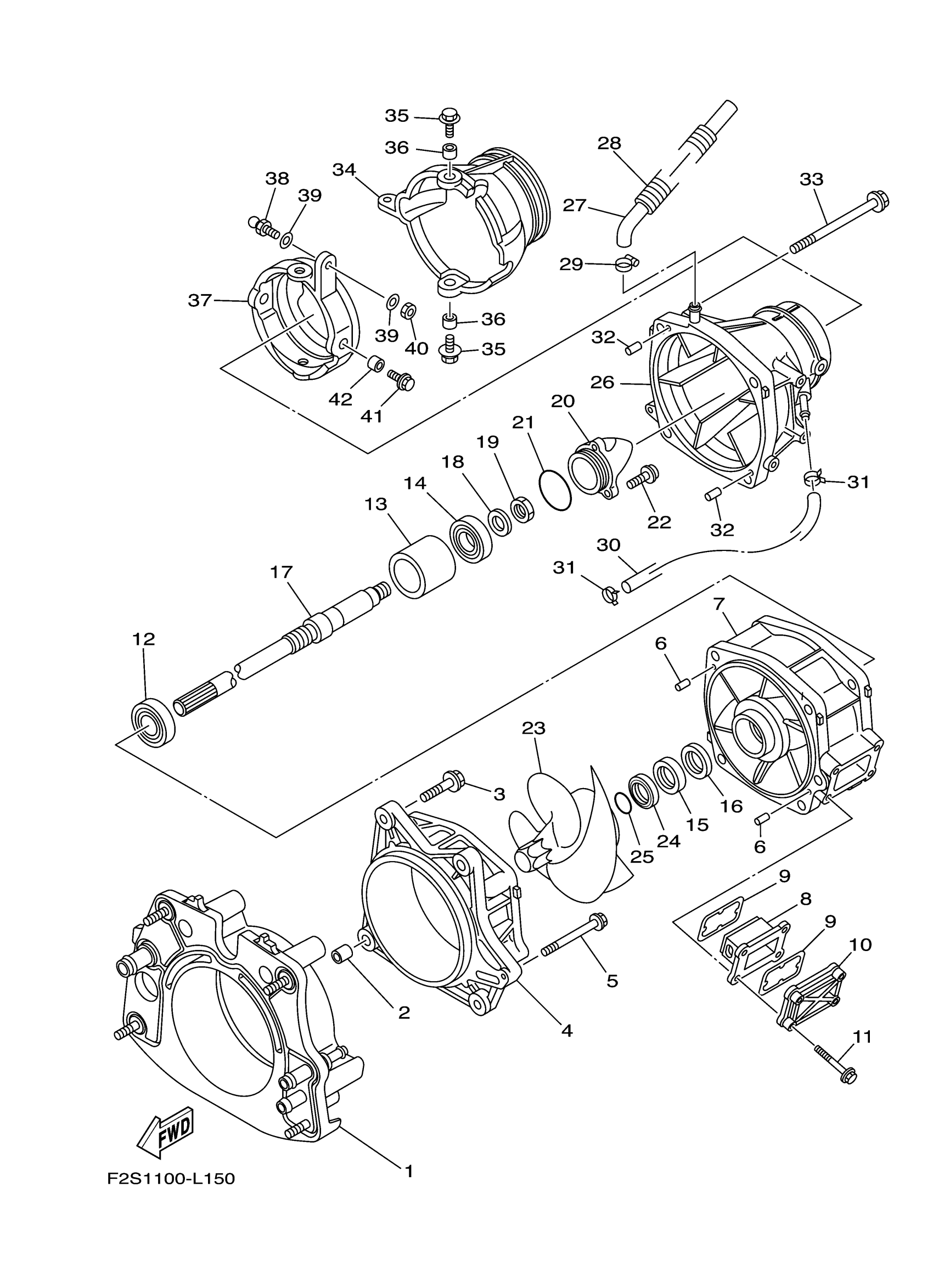
Yamaha FB1800AL (FX CRUISER HO) F2T1 2012 JET UNIT 1 Diagram
#
1
PLATE, TRANSOM
6CS-G5831-10-00
Unavailable
3
BOLT, WITH WASHER
90119-10811-00
Unavailable
4
HOUSING, IMPELLER
6CR-R1312-00-00
Unavailable
5
BOLT, WITH WASHER
90119-06894-00
Unavailable
7
DUCT, IMPELLER
6CR-R1315-00-00
Unavailable
8
FILTER
66V-46882-00-00
Unavailable
9
. O-RING
66V-42414-00-00
Unavailable
10
COVER, WATER INLET
6AN-G5214-00-00
Unavailable
11
BOLT,WITH WASHER
90119-06898-00
Unavailable
13
SPACER 1
6S5-45538-00-00
Unavailable
14
BEARING
93306-30582-00
Unavailable
15
. OIL SEAL
93102-31009-00
Unavailable
16
. OIL SEAL
93101-31001-00
Unavailable
17
SHAFT, DRIVE
6S5-G5511-00-00
Unavailable
18
WASHER
9290P-20600-00
Unavailable
19
NUT
90170-20802-00
Unavailable
20
CAP
6AN-R1326-00-00
Unavailable
21
O-RING
93210-54010-00
Unavailable
22
BOLT, HEXAGON SOCKET HEAD
90110-06823-00
Unavailable
23
IMPELLER
6BH-R1321-01-00
Unavailable
24
SPACER
6BH-51348-01-00
Unavailable
25
O-RING (30X)
93210-30611-00
Unavailable
26
NOZZLE
6BH-R1318-01-00
Unavailable
27
HOSE 1
6CS-U72M2-00-00
Unavailable
28
TUBE (L230)
90447-19015-00
Unavailable
29
BAND, HOSE 18
90601-118UF-00
Unavailable
30
HOSE (L330)
90445-14804-00
Unavailable
31
CLIP
90467-14803-00
Unavailable
33
BOLT, WITH WASHER
90119-10807-00
Unavailable
34
NOZZLE, DEFLECTOR
6S5-R1313-01-00
Unavailable
35
BOLT, WITH WASHER
90119-08852-00
Unavailable
36
COLLAR(6R7)
90387-08M06-00
Unavailable
37
RING,TRIM
6AN-R1190-00-00
Unavailable
38
STUD, JOINT BALL
GH3-U146E-00-00
Unavailable
39
WASHER,PLATE
90201-068M4-00
Unavailable
40
NUT
9538R-06700-00
Unavailable
41
BOLT, WITH WASHER
90119-08852-00
Unavailable
42
COLLAR(6R7)
90387-08M06-00
Unavailable
