- Partiron
- OEM Parts
- Suzuki
- Motorcycle
- 1991
- FA50 (1991)
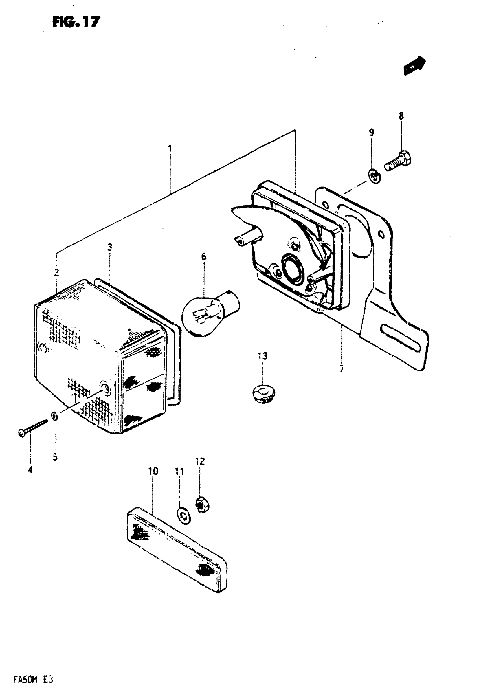
REAR COMBINATION LAMP
Suzuki FA50 (1991) REAR COMBINATION LAMP Diagram
#
Description
Price
1
LAMP ASSY,RR CO | Includes Item(s) 2 - 6 This part replaces 35710-02232.
35710-44B10-999
Unavailable
7
BRACKET
35927-02230
Unavailable
10
REFLEX REFLECTOR ASSY, REAR This part replaces 35970-02230.
35970-44A00
Unavailable
