- Partiron
- OEM Parts
- Ski-Doo
- 2005
- Expedition
- Expedition V-1000, 2005
Hydraulic Brake
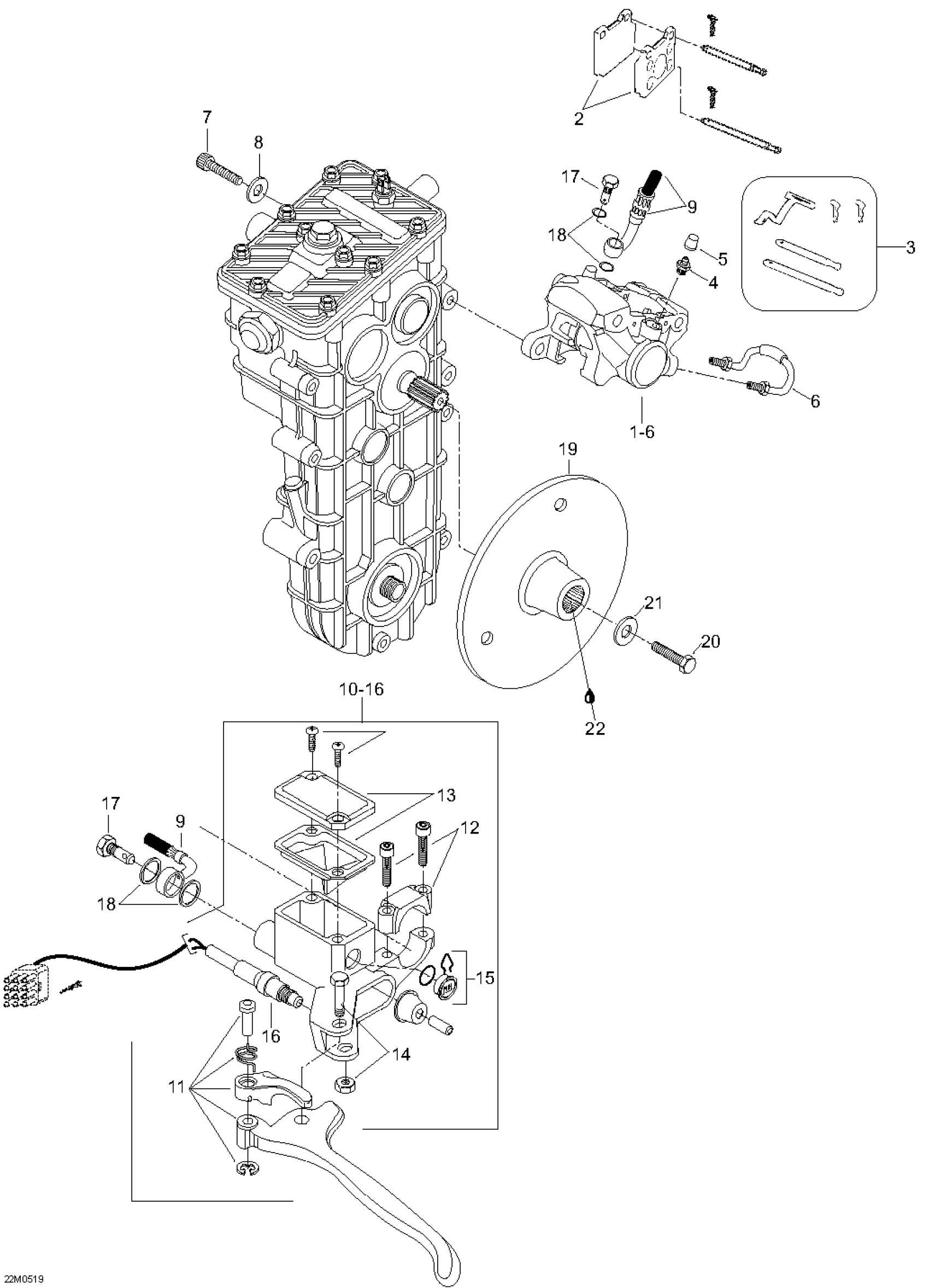
Ski-Doo Expedition V-1000, 2005 Hydraulic Brake Diagram
#
Description
Price
1
Caliper | Includes 15 to 20
507032412
Unavailable
3
KIT, PINS, RETAINERS, SPRING - Call your local BRP dealership
414990700
Unavailable
4
BLEEDER SCREW - Call your local BRP dealership
414989800
Unavailable
5
BOOT-QTS 20 - Call your local BRP dealership
414989700
Unavailable
6
RIGID TUBING - Call your local BRP dealership
414989900
Unavailable
7
SOCKET HEAD SCREW M10 X 65 - Call your local BRP dealership
M40277
Unavailable
9
HOSE - Call your local BRP dealership
507032237
Unavailable
10
Master Cylinder | Includes 10 to 16
507032362
Unavailable
11
BRAKE SHORT LEVER ASSY - Call your local BRP dealership
507032268
Unavailable
15
WINDOW - Call your local BRP dealership
414990600
Unavailable
16A
SCREW M4 X 12 - Call your local BRP dealership
216141260
Unavailable
20
HEX. SCREW M8 X 20 - Call your local BRP dealership This part replaces M40336.
40336
Unavailable
21
Washer
M546336
Unavailable
22
LUBRICANT LOCTITE LB 8150 236ML - Call your local BRP dealership
219704461
Unavailable
