- Partiron
- OEM Parts
- Ski-Doo
- 2014
- EXPEDITION
- EXPEDITION LE 1200 XU, 2014
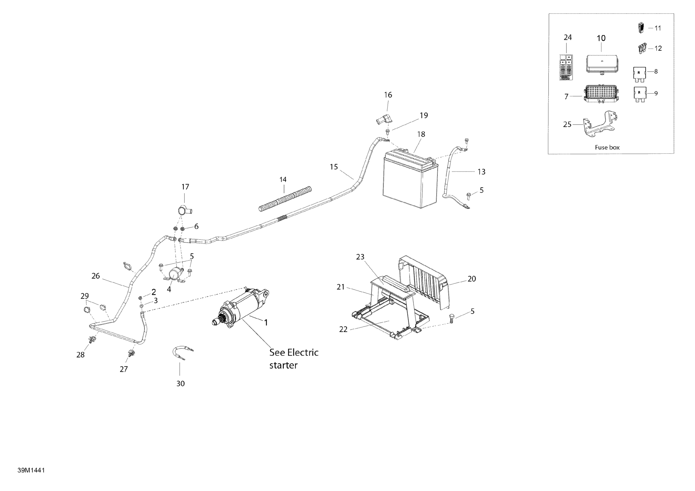
Battery And Starter
Ski-Doo EXPEDITION LE 1200 XU, 2014 Battery And Starter Diagram
#
Description
Price
2
Elastic Stop Nut M6
232251434
Unavailable
7
Not Available As Spare Part - Friction Washer
Unavailable
11
FUSE TOOL - Call your local BRP dealership
515175811
Unavailable
13
Ground Wire
515176780
Unavailable
14
HOUSING - Call your local BRP dealership
M28015
Unavailable
16
PROTECTOR CAP - Call your local BRP dealership
278001771
Unavailable
24
FUSE DECAL 1200 - Call your local BRP dealership
516004919
Unavailable
25
FUSEBOX SUPPORT - Call your local BRP dealership
515177073
Unavailable
