Yamaha EX570S (EXCITER II) 1992 FRAME Diagram
#
1
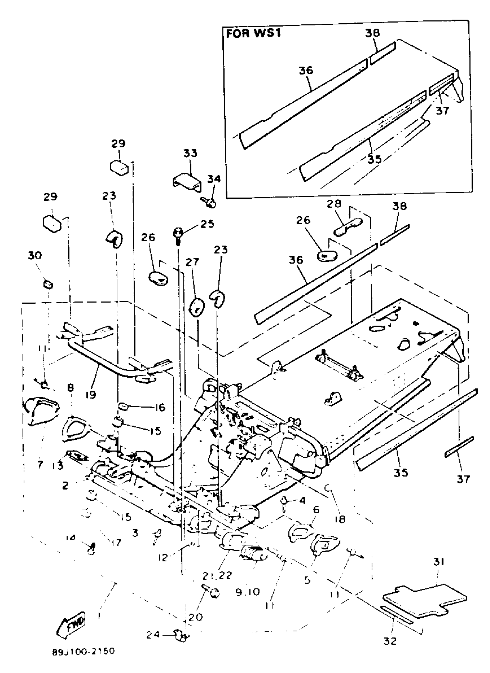
FRAME COMP. (88R-21910-01-00)
99999-02249-00
Unavailable
1
. SPRING, VALVE
YF1-43511-32-41
Unavailable
1
. RETAINER, VLV SPRG
YF1-49211-33-32
Unavailable
1
. CAP, VALVE
YF1-52211-32-82
Unavailable
1
. COLLET, VLV SPRG
YF1-52211-33-61
Unavailable
2
. PANEL, SUB FRAME 1
86M-21912-00-00
Unavailable
7
. COVER, STEERING
82M-23818-00-00
Unavailable
8
. WASHER 2
82M-77526-00-00
Unavailable
9
. COVER 1 (LH)
82M-2198F-00-00
Unavailable
10
. COVER 2 (RH)
82M-2198G-00-00
Unavailable
12
WASHER, PLATE
90201-04027-00
Unavailable
13
PANEL, SUB FRAME 6
8M6-21917-00-00
Unavailable
14
SCREW, WITH WASHER
90159-05137-00
Unavailable
15
BUSH, BIMETAL FORMED (8M6)
90384-36134-00
Unavailable
16
OIL SEAL (8M6)
93102-36232-00
Unavailable
17
OIL SEAL (8M6)
93103-36117-00
Unavailable
18
SPACER
80F-21998-00-00
Unavailable
19
. BUMPER, FRONT 2
84M-77512-01-00
Unavailable
20
BOLT, FLANGE
95817-08035-00
Unavailable
21
. PLATE, STRING BRACKET 1 (L, H)
82M-2195E-00-00
Unavailable
22
. PLATE, STRING BRACKET 2 (R, H)
82M-2195F-00-00
Unavailable
23
DAMPER, NOISE 17
82M-77277-00-00
Unavailable
24
REINFORCEMENT, SUB FRAME 2
82M-21938-00-00
Unavailable
25
BOLT, FLANGE
95812-06010-00
Unavailable
26
PATCH 5
82M-21965-00-00
Unavailable
27
PATCH 5
88R-21965-00-00
Unavailable
28
PATCH 6
82M-21966-00-00
Unavailable
29
PROTECTOR 5
84M-77555-00-00
Unavailable
30
TAPE, 5
85L-7717J-00-00
Unavailable
31
SHIELD, HEAT
86M-2199H-00-00
Unavailable
32
TAPE 3
8V0-7717G-00-00
Unavailable
33
COVER 1
86M-2198F-00-00
Unavailable
34
BOLT, FLANGE
95817-06012-00
Unavailable
35
EMBLEM 1
89J-77351-00-00
Unavailable
36
EMBLEM 2
89J-77352-00-00
Unavailable
37
EMBLEM 3
89J-77353-00-00
Unavailable
38
EMBLEM 4
89J-77354-00-00
Unavailable
