Yamaha EX570N (EXCITER) 1989 SKI Diagram
#
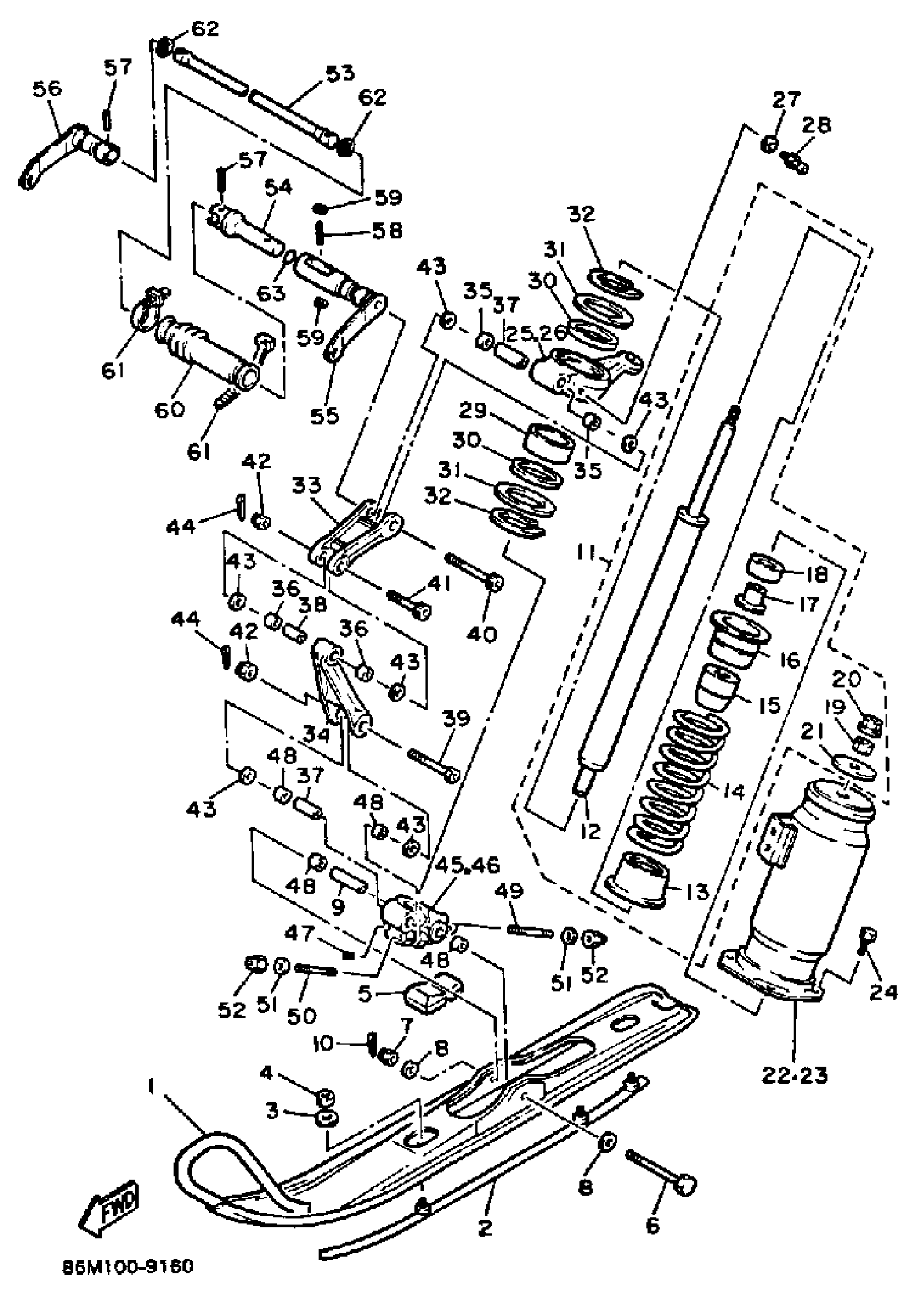
1
SKI COMP. 1
86M-23710-00-00
Unavailable
2
SKI RUNNER, 1
82W-23731-01-XX
Unavailable
5
STOPPER 1
86M-23743-00-00
Unavailable
11
ABSORBER ASSEMBLY 1
86M-2376A-00-00
Unavailable
12
. DAMPER, SUB ASSEMBLY
86M-22401-00-00
Unavailable
13
SEAT, SPRING 2
82M-23777-00-00
Unavailable
14
. SPRING, COMPRESSION
90501-750F6-00
Unavailable
15
. BUMP, STOP
82M-22493-00-00
Unavailable
16
PLATE, BACK UP
8AB-23788-00-00
Unavailable
17
COLLAR(82M)
90387-084R1-00
Unavailable
18
WASHER
82M-23779-00-00
Unavailable
19
. NUT
90170-08220-00
Unavailable
20
NUT(6L2)
95333-08600-00
Unavailable
21
WASHER, PLATE(82M)
90201-080L1-00
Unavailable
22
HOLDER, ABSORBER (LH) (BLU)
82M-2376J-00-00
Unavailable
23
HOLDER, ABSORBER (RH) (BLU)
82M-2377J-00-00
Unavailable
24
BOLT, HEXAGON
97017-06020-00
Unavailable
25
ARM, OUTSIDE 1
82M-23851-00-00
Unavailable
26
ARM, OUTSIDE 2 (R, H)
82M-23852-00-00
Unavailable
27
WASHER, PLATE (8U7)
90201-067F9-00
Unavailable
28
NIPPLE, GREASE
93700-06M03-00
Unavailable
29
BUSH, BIMETAL FORMED (8U7)
90384-53175-00
Unavailable
30
OIL SEAL (8U7)
93109-53036-00
Unavailable
31
WASHER, PLATE(8W1)
90201-535H6-00
Unavailable
31
WASHER, PLATE (8L9)
90201-536A1-00
Unavailable
32
CIRCLIP (8L9)
93410-52061-00
Unavailable
33
ARM, FRONT 1
8L0-2382E-01-00
Unavailable
34
ARM, FRONT 2
8L0-2382F-00-00
Unavailable
35
BUSH, BIMETAL FORMED (8L0)
90384-14091-00
Unavailable
36
BUSH, BIMETAL FORMED (8L0)
90384-14096-00
Unavailable
37
COLLAR(89A)
90387-101Y9-00
Unavailable
38
COLLAR (8L0)
90387-100A4-00
Unavailable
39
BOLT, HEXAGON SOCKET HEAD
90110-10172-00
Unavailable
40
BOLT,HEX SKT HEAD
90110-10174-00
Unavailable
41
BOLT, HEXAGON SOCKET HEAD(85L)
90110-10173-00
Unavailable
43
WASHER PLATE 626441260000
90202-14037-00
Unavailable
45
BRACKET 1
84M-2376E-00-00
Unavailable
46
BRACKET 2
84M-2377E-00-00
Unavailable
47
BOLT, SET (8K2)
90113-06039-00
Unavailable
48
BUSH, BIMETAL FORMED (8L0)
90384-14091-00
Unavailable
49
BOLT, STUD 3
95617-08655-00
Unavailable
50
BOLT, STUD 3
95617-08640-00
Unavailable
51
.. WASHER, PLATE
92990-08600-00
Unavailable
52
NUT, NYLON
95717-08300-00
Unavailable
53
BAR, STABLZR FRONT
82M-2386E-00-00
Unavailable
54
LINK, STABILIZER FRONT
82M-2386F-00-00
Unavailable
55
JOINT, STABILIZER 1
86M-2385L-00-00
Unavailable
56
JOINT, STABILIZER 2
86M-2385M-00-00
Unavailable
57
PIN, DOWEL
93605-20225-00
Unavailable
58
PIN, DOWEL
93605-25223-00
Unavailable
59
SLIDER
82M-2386R-00-00
Unavailable
60
COVER, STABILIZER FRONT
82M-2386H-00-00
Unavailable
61
BAND
1UA-82591-00-00
Unavailable
62
CIRCLIP (4H7)
93410-23056-00
Unavailable
63
O-RING
93210-15751-00
Unavailable
