- Partiron
- OEM Parts
- Yamaha
- snowmobile
- 1988
- EX570M (EXCITER) 1988
FUEL TANK
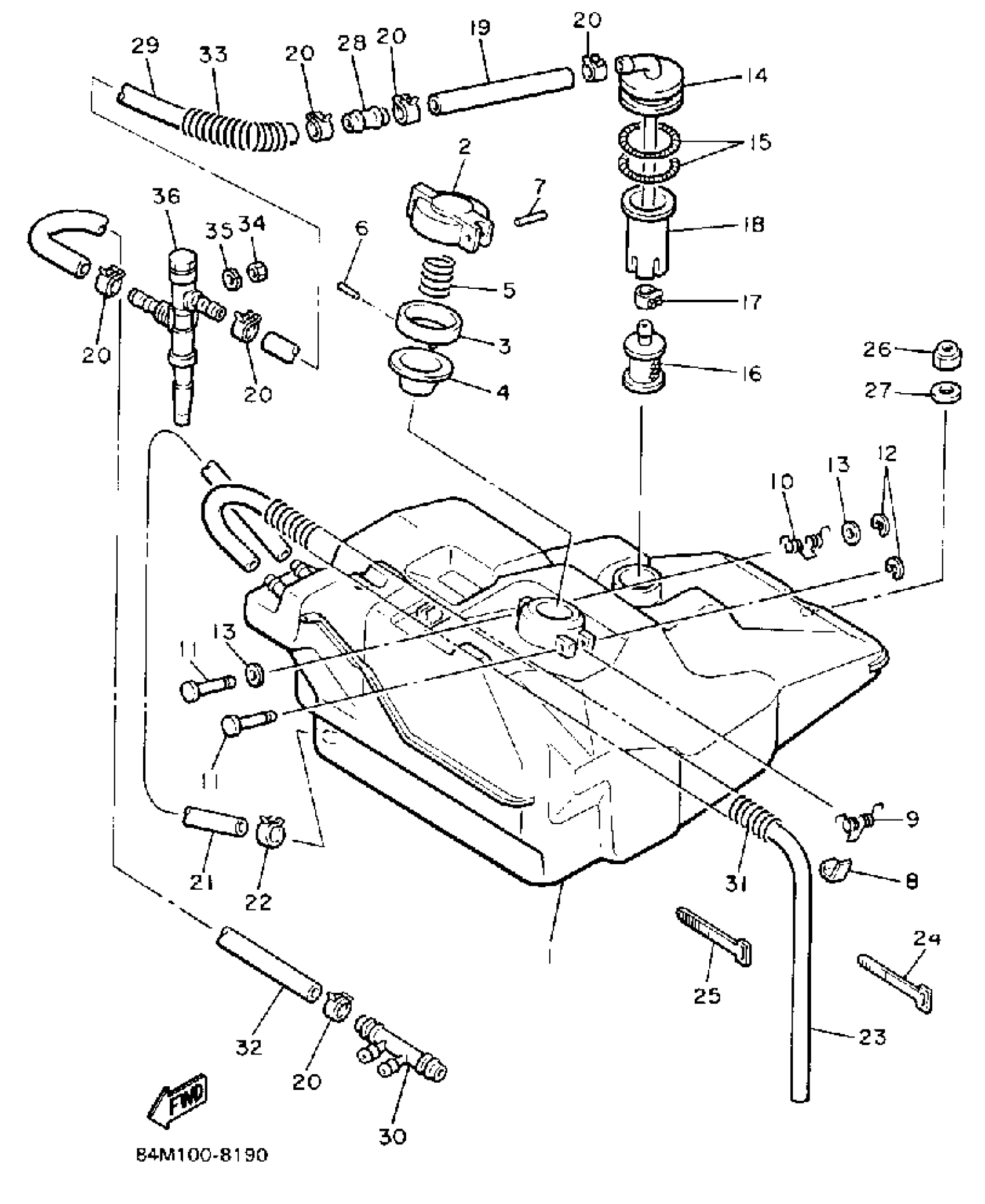
Yamaha EX570M (EXCITER) 1988 FUEL TANK Diagram
#
Description
Price
1
FUEL TANK
82M-24111-00-00
Unavailable
2
BODY, CAP
8A5-24611-00-00
Unavailable
6
PIN, SPRING
91690-30016-00
Unavailable
9
SPRING, TORSION(81E)
90508-10715-00
Unavailable
10
SPRING, TORSIOW (8F3)
90508-08353-00
Unavailable
14
PIPE, SUCTION 1 (8V0-24335-01)
86M-24335-00-00
Unavailable
16
FILTER ASSY
8H5-24560-00-00
Unavailable
17
CLIP (7K7)
90467-11044-00
Unavailable
18
PIPE, SUCTION 2
8V0-24336-00-00
Unavailable
19
TUBE, FLEXIBLE(3NV)
91A21-07020-00
Unavailable
20
CLIP (7K7)
90467-11044-00
Unavailable
21
TUBE, FLEXIBLE VINYL(8AK)
91A20-05080-00
Unavailable
22
CLIP (8A1)
90467-09026-00
Unavailable
23
TUBE, FLEXIBLE VINYL(8AT)
91A20-05145-00
Unavailable
24
BAND
341-26397-01-00
Unavailable
25
BAND, SWITCH CORD
25G-83936-01-00
Unavailable
26
NUT, NYLON
95717-08300-00
Unavailable
27
WASHER, PLATE (3L7)
90201-08784-00
Unavailable
28
PIPE, JOINT 4
878-24379-00-00
Unavailable
29
TUBE, FLEXIBLE VINYL(8AK)
91A20-07039-00
Unavailable
30
PIPE, JOINT 1
82M-24376-00-00
Unavailable
31
SPRING,COMPRESSION
90501-084J1-00
Unavailable
32
TUBE, FLEXIBLE VINYL(86X)
91A20-07100-00
Unavailable
33
PROTECTOR, PIPE
84M-24327-00-00
Unavailable
34
NUT, HEXAGON SMALL
95317-12700-00
Unavailable
35
YBS67-12 WASHER,SPRING
92990-12100-00
Unavailable
36
FUEL COCK ASSEMBLY
84M-24500-00-00
Unavailable
