Yamaha EX570ER (EXCITER II LE (ELEC START)) 1991 FUEL TANK Diagram
#
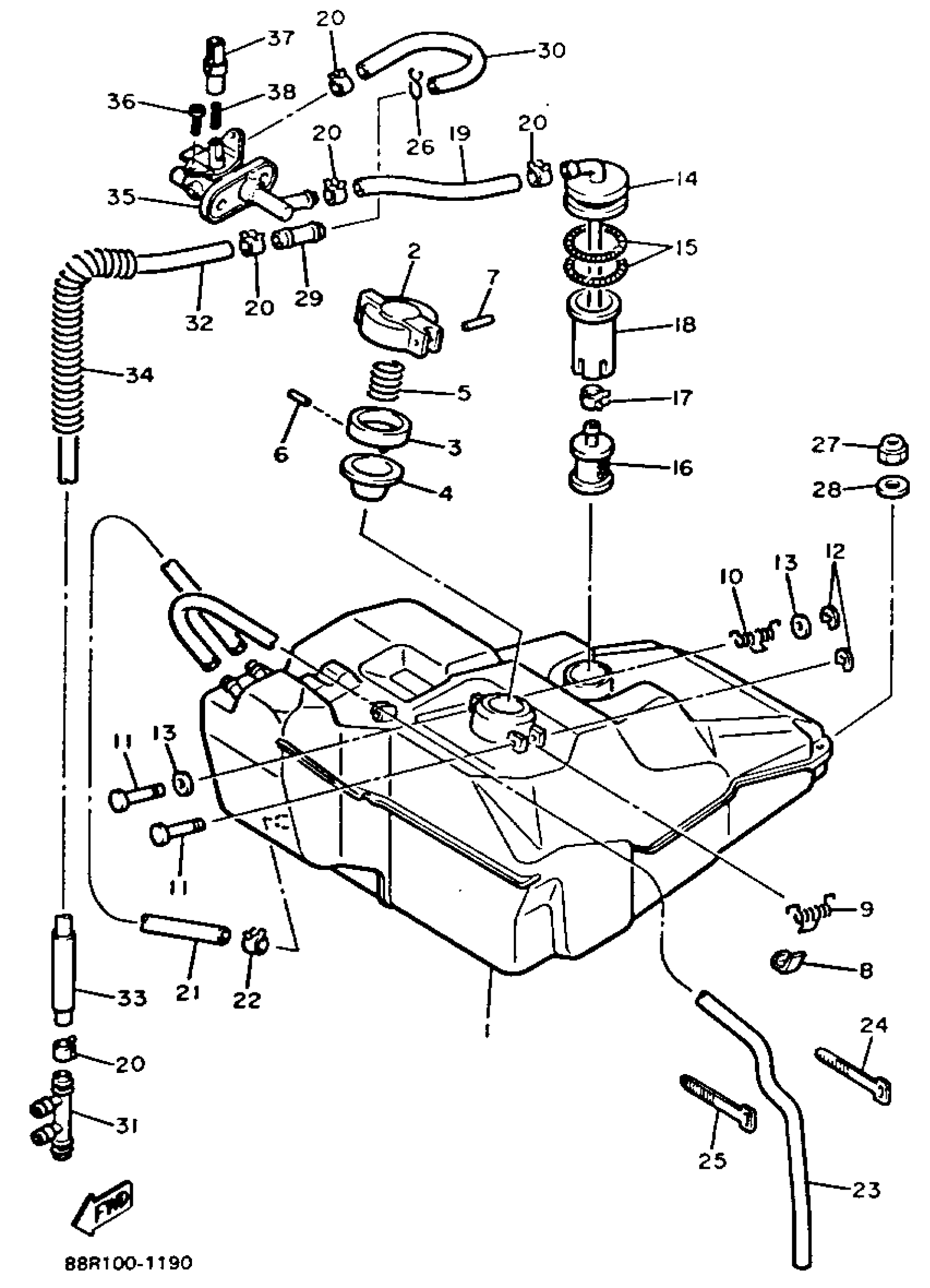
1
FUEL TANK
88R-24111-01-00
Unavailable
2
BODY, CAP
8A5-24611-00-00
Unavailable
6
PIN, SPRING
91690-30016-00
Unavailable
9
SPRING, TORSION(81E)
90508-10715-00
Unavailable
10
SPRING, TORSIOW (8F3)
90508-08353-00
Unavailable
14
PIPE, SUCTION 1 (8V0-24335-01)
86M-24335-00-00
Unavailable
16
FILTER ASSY
8H5-24560-00-00
Unavailable
17
CLIP (7K7)
90467-11044-00
Unavailable
18
PIPE, SUCTION 2
8V0-24336-00-00
Unavailable
19
TUBE, FLEXIBLE(3NV)
91A21-07020-00
Unavailable
20
CLIP (7K7)
90467-11044-00
Unavailable
21
TUBE, FLEXIBLE VINYL(8AT)
91A20-05145-00
Unavailable
22
CLIP (8A1)
90467-09026-00
Unavailable
23
TUBE, FLEXIBLE VINYL(8AT)
91A20-05145-00
Unavailable
24
BAND
341-26397-01-00
Unavailable
25
BAND, SWITCH CORD
25G-83936-01-00
Unavailable
26
CLIP (8J7)
90467-11009-00
Unavailable
27
NUT, NYLON
95717-08300-00
Unavailable
28
WASHER, PLATE (3L7)
90201-08784-00
Unavailable
29
PIPE, JOINT 4
878-24379-00-00
Unavailable
30
PIPE, FUEL 1
88R-24311-00-00
Unavailable
31
PIPE, JOINT 1
82M-24376-00-00
Unavailable
32
HOSE
90446-11326-00
Unavailable
33
HOSE
90446-15344-00
Unavailable
34
SPRING, COMPRESSION (3LD4)
90501-084G9-00
Unavailable
35
FUEL COCK ASSEMBLY 1
88R-24500-00-00
Unavailable
36
SCREW, BINDING
98907-05010-00
Unavailable
37
LEVER, COCK
1HX-24524-00-00
Unavailable
38
SCREW, FLAT
98707-04016-00
Unavailable
