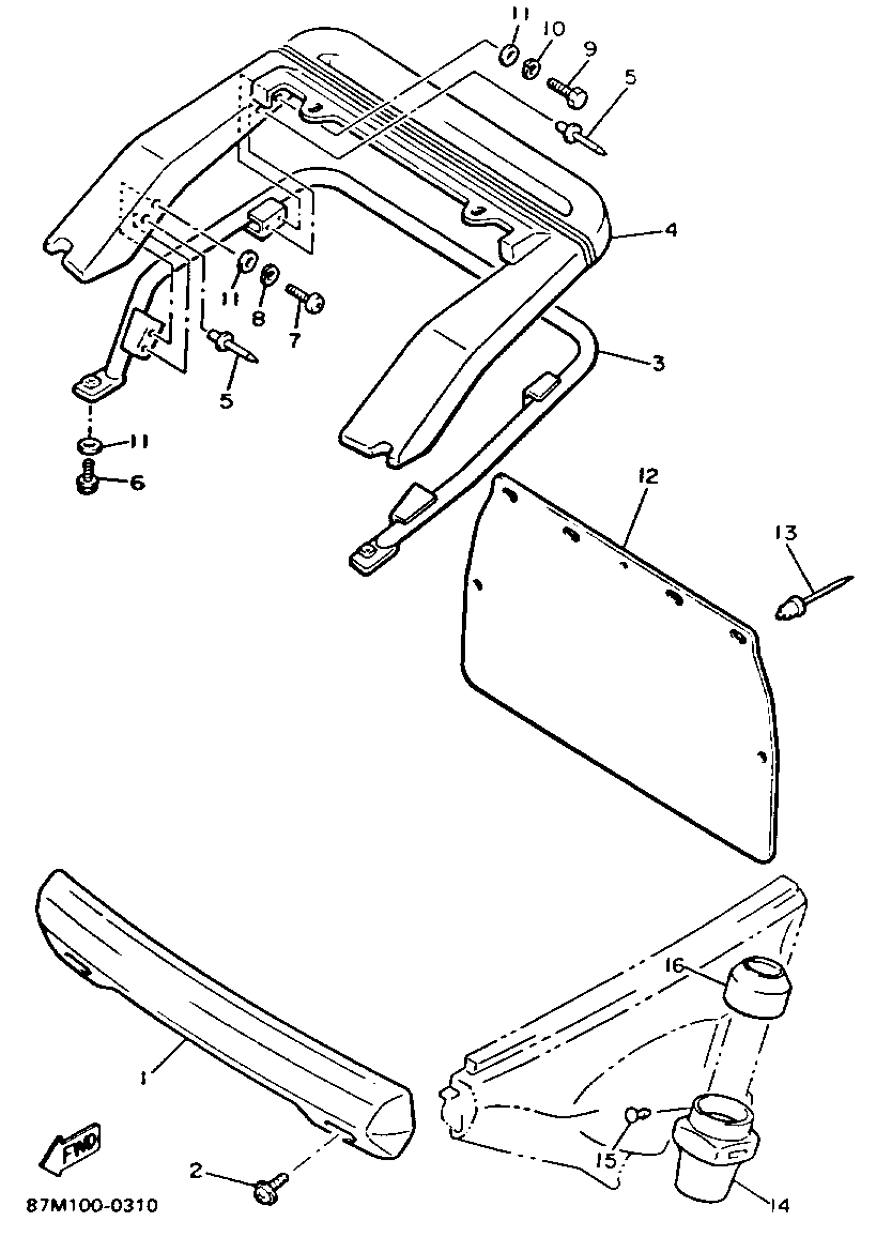
Yamaha EX570ER (EXCITER II LE (ELEC START)) 1991 BUMPER Diagram
#
Description
Price
1
BUMPER, FRONT 1
87M-77511-00-00
Unavailable
1
BUMPER, FRONT 1
88S-77511-00-00
Unavailable
3
BUMPER, REAR 1
87F-77541-00-00
Unavailable
4
BUMPER, REAR 2
87F-77542-00-00
Unavailable
5
RIVET, BLIND
90267-48117-00
Unavailable
11
WASHER, PLAIN
92990-08200-00
Unavailable
12
FLAP
8V9-77595-00-00
Unavailable
14
PROTECTOR 1
82M-77551-00-00
Unavailable
15
RIVET (8M6)
90269-04025-00
Unavailable
16
PROTECTOR 4
82M-77554-01-00
Unavailable
