Yamaha EX570EP (EXCITER LE (ELEC START)) 1990 AIR CLEANER Diagram
#
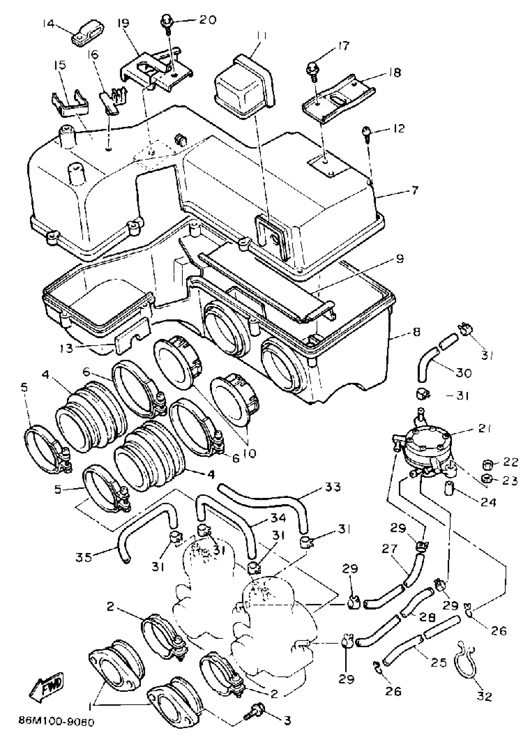
1
MANIFOLD, INTAKE
84M-13555-00-00
Unavailable
7
SILENCER, INTAKE 1
82M-14431-01-00
Unavailable
8
SILENCER, INTAKE 2
82M-14441-01-00
Unavailable
9
PLATE
82M-14477-00-00
Unavailable
10
PIPE
82M-14465-00-00
Unavailable
11
JOINT
82M-14454-00-00
Unavailable
13
DAMPER 1
82M-14425-00-00
Unavailable
14
CLAMP(83R)
90461-08113-00
Unavailable
15
BOX
82M-21245-00-00
Unavailable
16
CLAMP
90464-10092-00
Unavailable
17
BOLT, FLANGE
95817-06012-00
Unavailable
18
STAY 2
82M-14494-00-00
Unavailable
19
STAY, 1
82M-14493-01-00
Unavailable
20
BOLT, WITH WASHER(2WG)
90119-06172-00
Unavailable
21
FUEL PUMP ASY
82M-24410-02-00
Unavailable
22
NUT, HEXAGON
95380-06600-00
Unavailable
23
WASHER, SPRING
92995-06100-00
Unavailable
24
COLLAR
90387-06166-00
Unavailable
25
HOSE (L450)
90445-10144-00
Unavailable
26
CLIP
90467-090A2-00
Unavailable
27
TUBE, FLEXIBLE VINYL(8AU)
91A20-05039-00
Unavailable
28
TUBE, FLEXIBLE VINYL(8AK)
91A20-05080-00
Unavailable
29
CLIP (8A1)
90467-09026-00
Unavailable
30
TUBE, FLEXIBLE(3NV)
91A21-07020-00
Unavailable
31
CLIP (7K7)
90467-11044-00
Unavailable
32
CLAMP
90464-25267-00
Unavailable
33
HOSE, 1
84M-1243A-01-00
Unavailable
34
HOSE, 2
84M-1243E-00-00
Unavailable
35
HOSE,3 (L200)
84M-1243F-00-00
Unavailable
