Yamaha EX570EN (EXCITER DELUXE (ELEC START)) 1989 FRAME Diagram
#
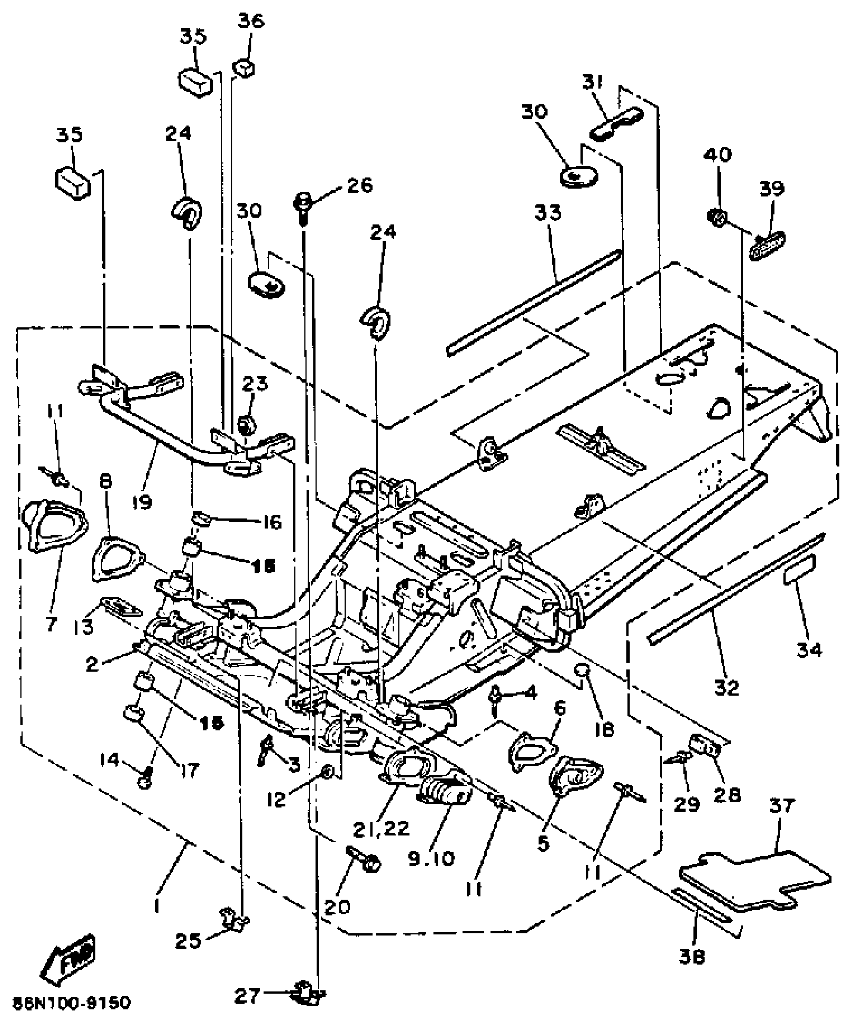
1
FRAME
86N-21910-00-00
Unavailable
2
. PANEL, SUB FRAME 1
86M-21912-00-00
Unavailable
7
. COVER, STEERING
82M-23818-00-00
Unavailable
8
. WASHER 2
82M-77526-00-00
Unavailable
9
. COVER 1 (LH)
82M-2198F-00-00
Unavailable
10
. COVER 2 (RH)
82M-2198G-00-00
Unavailable
13
PANEL, SUB FRAME 6
8M6-21917-00-00
Unavailable
14
SCREW, WITH WASHER
90159-05137-00
Unavailable
16
OIL SEAL (8M6)
93102-36232-00
Unavailable
17
OIL SEAL (8M6)
93103-36117-00
Unavailable
18
SPACER
80F-21998-00-00
Unavailable
19
. BUMPER, FRONT 2
84M-77512-01-00
Unavailable
20
BOLT, FLANGE
95817-08035-00
Unavailable
21
. PLATE, STRING BRACKET 1 (L, H)
82M-2195E-00-00
Unavailable
22
. PLATE, STRING BRACKET 2 (R, H)
82M-2195F-00-00
Unavailable
23
PATCH 9
80F-21989-00-00
Unavailable
24
DAMPER, NOISE 17
82M-77277-00-00
Unavailable
25
REINFORCEMENT, SUB FRAME 2
82M-21938-00-00
Unavailable
26
BOLT, FLANGE
95812-06010-00
Unavailable
27
REINFCMNT,SUB.FR 2
84N-21938-01-00
Unavailable
28
CLAMP(83R)
90461-08113-00
Unavailable
29
RIVET, BLIND (8H4)
90267-48053-00
Unavailable
30
PATCH 5
82M-21965-00-00
Unavailable
31
PATCH 6
82M-21966-00-00
Unavailable
32
EMBLEM 1
86N-77351-00-00
Unavailable
33
EMBLEM 2
86N-77352-00-00
Unavailable
34
INDICATOR 2
8K2-77742-00-00
Unavailable
35
PROTECTOR 5
84M-77555-00-00
Unavailable
36
TAPE, 5
85L-7717J-00-00
Unavailable
37
SHIELD, HEAT
86M-2199H-00-00
Unavailable
38
TAPE 3
8V0-7717G-00-00
Unavailable
39
REAR REFLECTOR ASSY
3Y6-85130-02-00
Unavailable
40
NUT, FLANGE(3GM)
95707-05500-00
Unavailable
