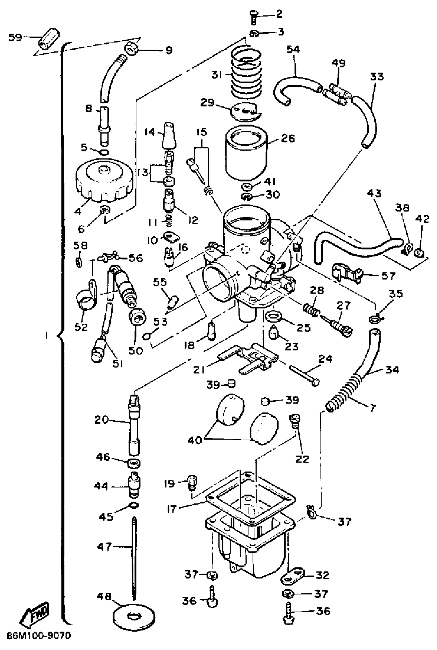
Yamaha EX570EN (EXCITER DELUXE (ELEC START)) 1989 CARBURETOR Diagram
#
1
CARBURETOR ASY 1
87M-14101-00-00
Unavailable
1
CARBURETOR ASY 1
87M-14101-00-00
Unavailable
4
. TOP, MIXING CHAMBER
3R4-14158-00-00
Unavailable
7
. SPRING
8X6-14589-00-00
Unavailable
8
. GUIDE, CABLE
8X6-14155-00-00
Unavailable
10
. PLATE, STARTER LVR
8A7-14178-00-00
Unavailable
15
AIR SCREW SET
23X-14104-00-00
Unavailable
16
PLUNGER, STARTER
8U9-14171-00-00
Unavailable
17
GASKET, FLOAT CHAMBER BODY
363-14184-00-00
Unavailable
18
. JET, PILOT #40
193-14142-40-A1
Unavailable
18
. JET, PILOT (#425)
193-14142-42-00
Unavailable
18
. JET, PILOT (#45)
193-14142-45-A1
Unavailable
19
JET, MAIN #230
137-14143-46-A1
Unavailable
19
JET, MAIN #250
137-14143-50-A1
Unavailable
19
JET, MAIN #270
137-14143-54-A1
Unavailable
19
JET, MAIN #290
137-14143-58-A1
Unavailable
19
JET, MAIN #320
137-14143-64-00
Unavailable
19
JET,MAIN #340
137-14143-68-00
Unavailable
20
. NOZZLE, MAIN
80N-14141-46-00
Unavailable
21
. ARM, FLOAT
363-14187-00-00
Unavailable
22
. JET, MAIN (#200)
3G2-14231-40-00
Unavailable
23
VALVE SEAT ASSY (1.5)
500-14190-15-00
Unavailable
24
PIN, FLOAT
537-14186-00-00
Unavailable
25
WASHER,VALVE SEAT
239-14195-00-00
Unavailable
26
. VALVE, THROTTLE 1
84M-14112-30-00
Unavailable
27
. SCREW, THROTTLE
40T-14122-00-00
Unavailable
28
SPRING, THROTTLE STOP
137-14133-00-00
Unavailable
29
. SEAT, SPRING
3V3-14136-00-00
Unavailable
30
CLIP
3FA-14137-00-00
Unavailable
31
. SPRING, THROTTLE VALVE
363-14131-00-00
Unavailable
32
. PLATE
313-14146-00-00
Unavailable
33
HOSE
89A-14987-00-00
Unavailable
34
HOSE
89A-14987-00-00
Unavailable
35
CLIP, PIPE
8A7-14139-00-00
Unavailable
36
SCREW, PAN HEAD(6B0)
97885-05016-00
Unavailable
37
YBS67-5 WASHER, SPRING
92990-05100-00
Unavailable
38
CLIP, PIPE
80N-14139-00-00
Unavailable
39
CAP
214-14118-00-00
Unavailable
40
. FLOAT
214-14185-00-00
Unavailable
41
. WASHER, NEEDLE
2H0-14235-00-00
Unavailable
42
. PILOT JET, AIR (15)
239-14172-15-00
Unavailable
43
HOSE
80N-14987-00-00
Unavailable
44
. SETTER, NEEDLE JET
276-14145-00-00
Unavailable
45
O-RING
214-14147-00-00
Unavailable
46
WASHER,MAIN JET
137-14153-00-00
Unavailable
47
. NEEDLE
239-14116-68-00
Unavailable
48
. PLATE
510-14146-00-00
Unavailable
49
NIPPLE
8J0-14251-00-00
Unavailable
50
. NUT, CABLE ADJUSTING
80N-14161-00-00
Unavailable
51
. SWITCH, CARBURETOR
80N-8259A-01-00
Unavailable
52
. PLATE
84M-14146-00-00
Unavailable
53
. O-RING
80N-14147-00-00
Unavailable
53
HOSE
89A-14987-00-00
Unavailable
55
CAP
84M-14169-00-00
Unavailable
56
CLAMP(81K)
90464-07078-00
Unavailable
57
. CLIP, PIPE
16G-14139-00-00
Unavailable
58
. WASHER
80N-14285-00-00
Unavailable
59
NUT, AJUSTING
8A7-26323-00-00
Unavailable
