Partiron

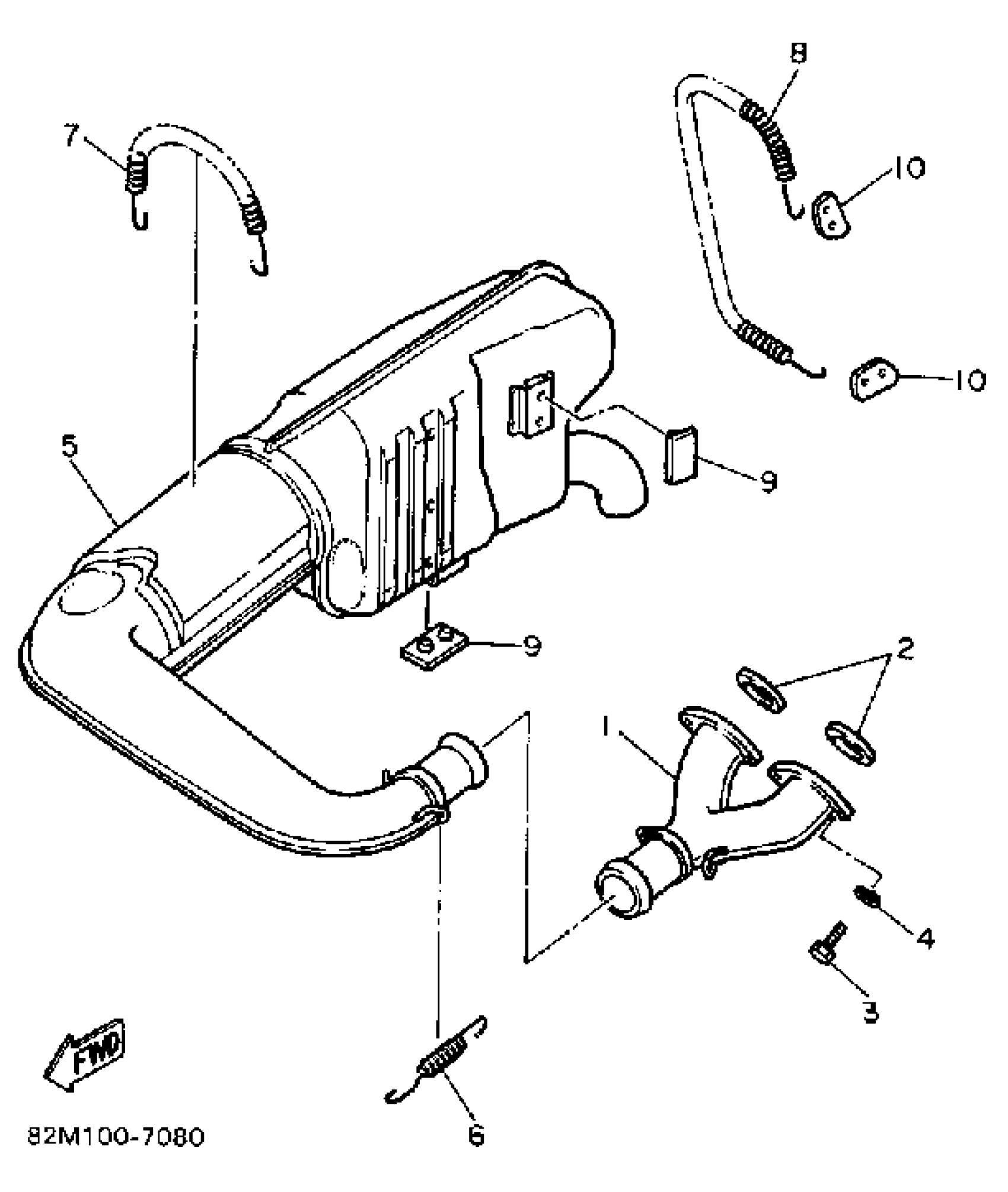
Yamaha EX570EM (EXCITER DELUXE (ELEC START)) 1988 EXHAUST Diagram

#

Description
Price

1

EXHAUST PIPE ASY L

99999-03003-00

Unavailable

2

GASKET, EXHAUST PIPE

89A-14613-00-00

$16.49

3

BOLT, HEXAGON

97013-08020-00

$1.16

4

YBS67-8 WASHER, SPRING

92990-08100-00

$5.60

5

MUFFLER ASSEMBLY L

82M-14710-01-00

Unavailable

6

SPRING, TENSION (8R7)

90506-20272-00

$11.49

7

SPRING, TENSION

90506-16394-00

Unavailable

8

SPRING, TENSION

90506-16335-00

Unavailable

9

PROTECTOR, MUFFLER 2

8A5-14728-02-00

Unavailable

10

STOPPER

8M6-14768-00-00

Unavailable