- Partiron
- OEM Parts
- Yamaha
- snowmobile
- 1980
- EX440D 1980
CARBURETOR
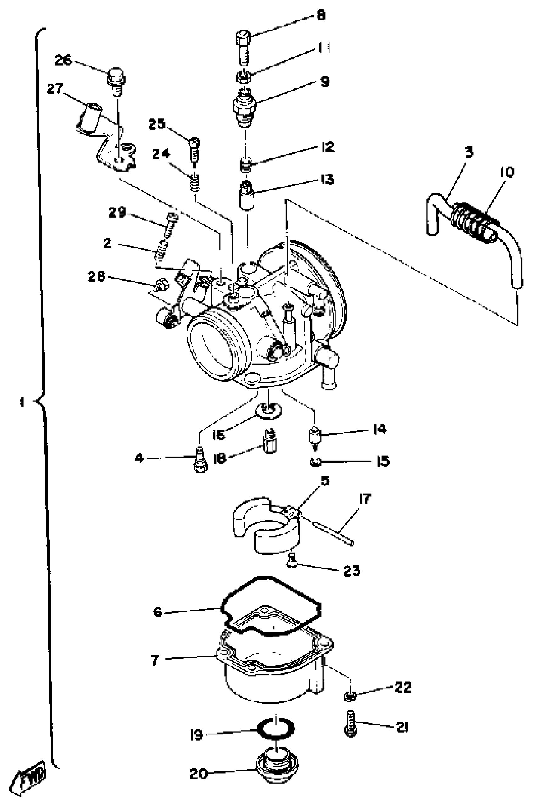
Yamaha EX440D 1980 CARBURETOR Diagram
#
Description
Price
1
CARBURETOR ASSEMBLY 1
8H6-14101-01-00
Unavailable
2
. SPRING, COMPRESSION
90501-12229-00
Unavailable
3
NET, FILTER
(8G6-14994-00-00)
Unavailable
4
. JET #90
8G6-14948-23-00
Unavailable
7
. NO LONGER AVAILABLE
8H6-14980-00-00
Unavailable
10
. SPRING, COMPRESSION
90501-08535-00
Unavailable
11
. NUT, CABLE ADJUSTING
8E7-14161-00-00
Unavailable
16
CLIP
(8A5-14159-00-00)
Unavailable
17
. PIN, FLOAT ARM
663-14548-00-00
Unavailable
18
. JET, MAIN #135
8A6-14516-35-00
Unavailable
18
. JET, MAIN #140
8A6-14516-40-00
Unavailable
18
. JET, MAIN #145
8A6-14516-45-00
Unavailable
18
. JET, MAIN #150
8A6-14516-50-00
Unavailable
19
O-RING (8A6)
93210-19309-00
Unavailable
20
. ROD
8M7-14992-00-00
Unavailable
21
SCREW, PN/HD.W/WSHR
(97602-04114-00)
Unavailable
22
YBS67-4 WASHER, SPRING
92990-04100-00
Unavailable
23
SCREW, FLAT
98707-04008-00
Unavailable
24
SPRING, COMPRESSION
90501-08214-00
Unavailable
25
SCREW, ADJUST
8G6-14521-00-00
Unavailable
26
. SCREW
8G6-14592-00-00
Unavailable
27
. PLATE, STAY
8G6-14572-00-00
Unavailable
28
SCREW
(8F3-14591-00-00)
Unavailable
29
. SCREW, PAN HEAD
90157-04010-00
Unavailable
