- Partiron
- OEM Parts
- Yamaha
- snowmobile
- 1978
- EX440B 1978
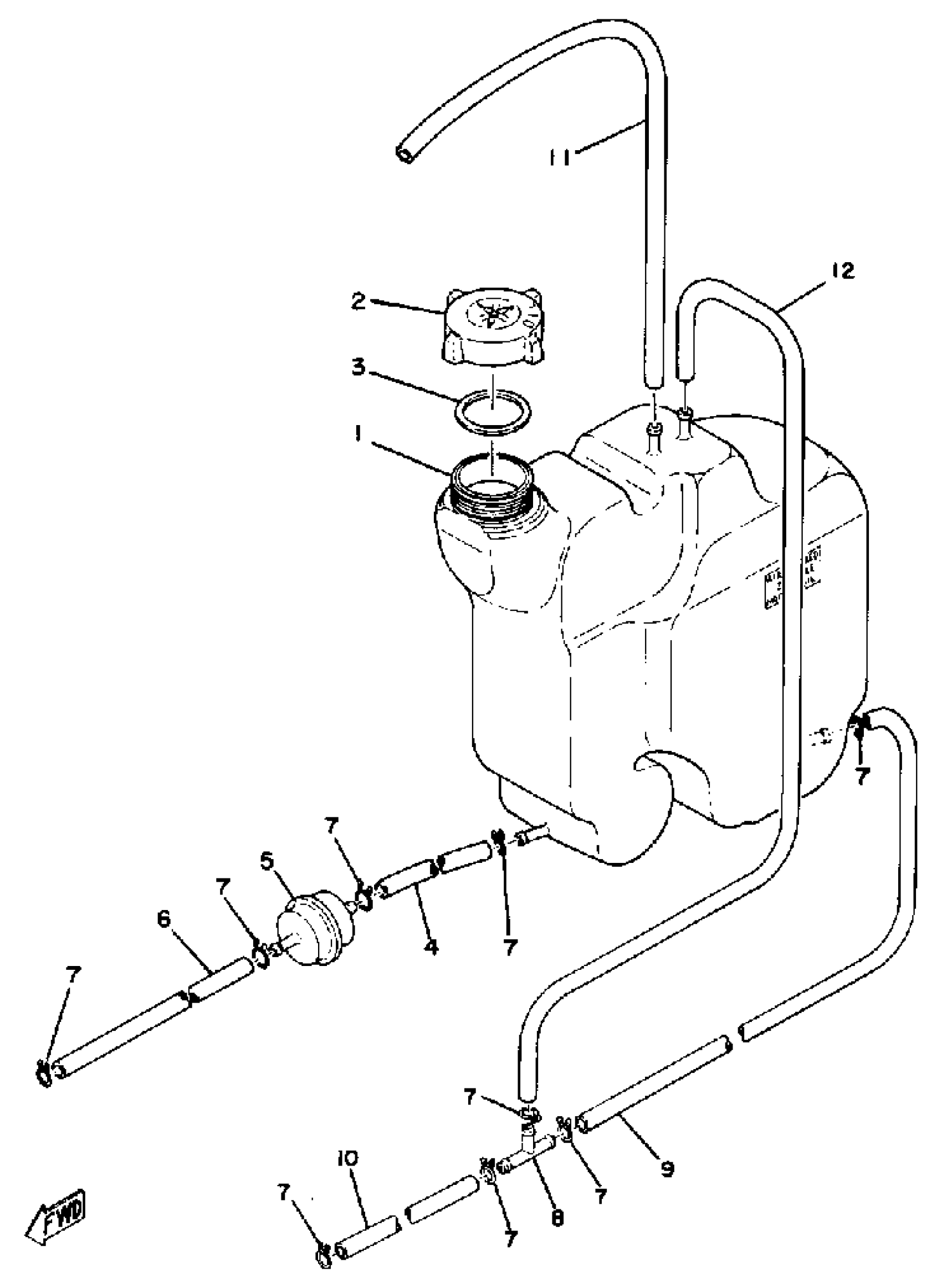
OIL TANK
Yamaha EX440B 1978 OIL TANK Diagram
#
Description
Price
1
TANK, OIL
878-21751-01-00
Unavailable
5
STRAINER HOUSING ASSEMBLY
J10-13410-00-00
Unavailable
8
PIPE, JOINT
801-24376-00-00
Unavailable
9
UNAVAILABLE IN PRICE BOOK
90446-09008-00
Unavailable
