- Partiron
- OEM Parts
- Yamaha
- snowmobile
- 1976
- EX440 1976
TRACK-SUSPENSION
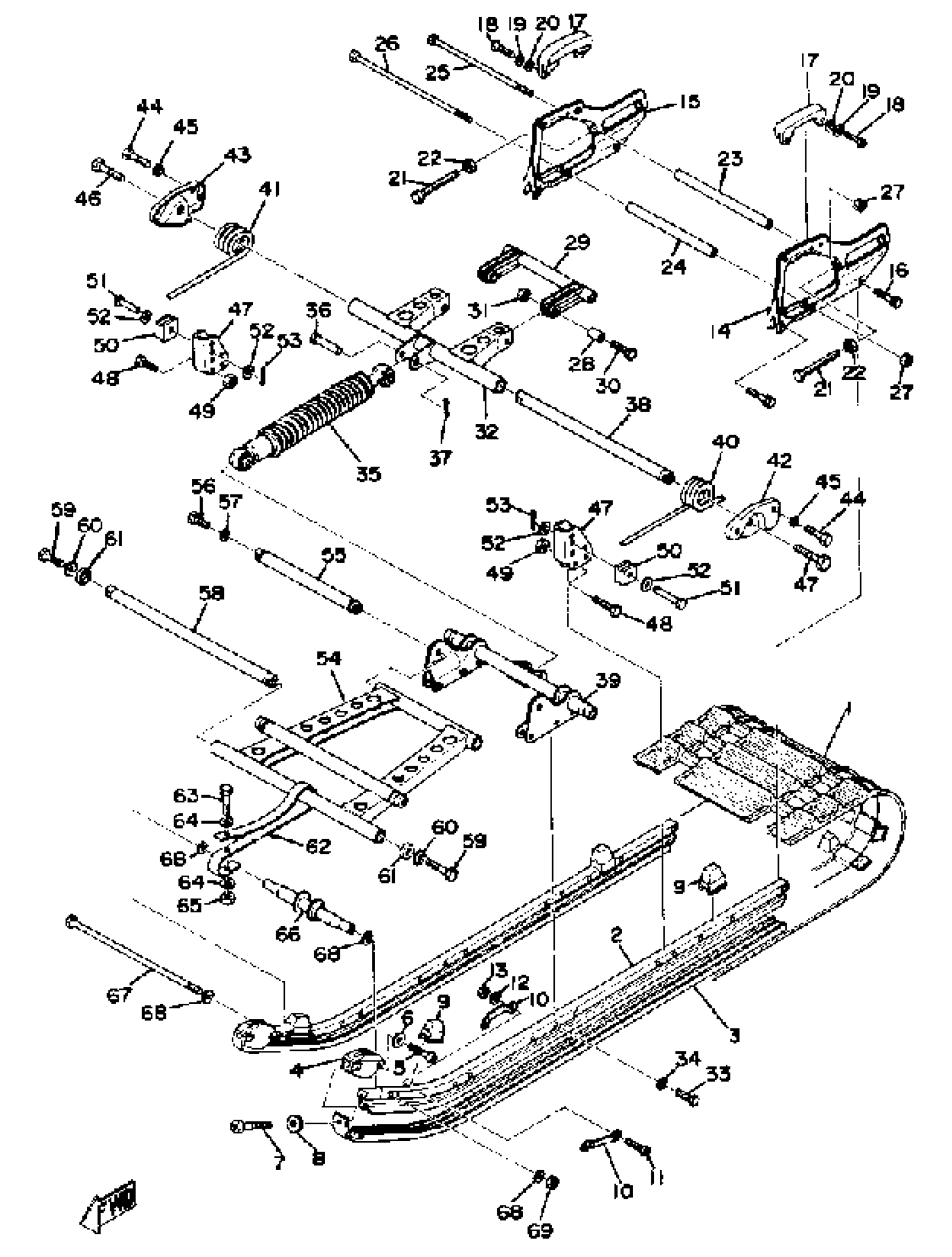
Yamaha EX440 1976 TRACK-SUSPENSION Diagram
#
1
TRACK ASY
8V0-47110-00-00
Unavailable
2
FRAME, SLIDING 1
8A5-47411-00-00
Unavailable
3
RUNNER, SLIDING 1 (890-47421-00)
890-47421-90-XX
Unavailable
4
RUNNER, SLIDING 3
885-47423-00-00
Unavailable
8
WASHER, PLATE
90201-06M02-00
Unavailable
9
DAMPER 2
885-47457-00-00
Unavailable
10
PLATE, DAMPER
885-47458-01-00
Unavailable
14
FRAME, SLIDING 2
8A5-47412-00-00
Unavailable
15
FRAME, SLIDING 3
8A5-47413-00-00
Unavailable
16
BOLT, WITH WASHER
90119-08008-00
Unavailable
17
RUNNER, SLIDING
8E3-47422-00-00
Unavailable
18
SCREW PAN HEAD
98580-06020-00
Unavailable
19
WASHER, SPRING
92995-06100-00
Unavailable
20
YBS66-6 WASHER, PLAIN
92990-06200-00
Unavailable
21
BOLT, HEXAGON (899 TRACK)
90101-10293-00
Unavailable
22
NUT (682)
95380-10700-00
Unavailable
23
COLLAR (899 SUSPENSION)
90387-08497-00
Unavailable
24
COLLAR (899 SUSPENSION)
90387-08496-00
Unavailable
25
BOLT, HEXAGON (97101-08245)
97321-08245-00
Unavailable
26
BOLT (8M8)
90101-08374-00
Unavailable
27
NUT, U
95617-08100-00
Unavailable
28
COLLAR (8A5 SUSPENSION)
90387-08508-00
Unavailable
29
BRACKET 3
8A5-47417-00-00
Unavailable
30
BOLT
97013-08045-00
Unavailable
31
NUT, U
95617-08100-00
Unavailable
32
ARM, PIVOT 2
8A5-47332-00-00
Unavailable
33
BOLT(6TD)
97017-10025-00
Unavailable
34
YBS67-10 WASHER, SPRING
92990-10100-00
Unavailable
35
SHOCK ABSORBER
(8A0-47480-00-00)
Unavailable
36
PIN, CLEVIS(8N0)
90240-12115-00
Unavailable
37
PIN, COTTER
91490-30030-00
Unavailable
38
SHAFT 2
8A5-47475-02-00
Unavailable
39
BRACKET 2 (8A5-47416-00)
8R0-47416-00-00
Unavailable
40
SPRING, TORSION
90508-95291-00
Unavailable
41
SPRING, TORSION
90508-95292-00
Unavailable
42
BRACKET, REAR 1
8A5-47425-00-00
Unavailable
43
BRACKET, REAR 1
8A5-47426-00-00
Unavailable
44
BOLT(JA9)
90101-08691-00
Unavailable
45
WASHER (688)
92990-08400-00
Unavailable
46
BOLT (8J7)
97013-10030-00
Unavailable
47
BRACKET 5
890-47463-00-00
Unavailable
48
BOLT
97013-08035-00
Unavailable
49
NUT, U
95617-08100-00
Unavailable
50
HOOK 2
890-47447-00-00
Unavailable
51
PIN WITH HOLE (890)
90249-12113-00
Unavailable
52
WASHER, PLATE
90201-12047-00
Unavailable
53
PIN, COTTER
91490-30030-00
Unavailable
54
ARM, PIVOT 1
8A5-47331-01-00
Unavailable
55
SHAFT 3
8A5-47485-02-00
Unavailable
56
BOLT(3RV)
97014-06035-00
Unavailable
57
WASHER, SPRING
92995-06100-00
Unavailable
58
SHAFT 1
8A5-47465-02-00
Unavailable
59
BOLT (8J7)
97013-10030-00
Unavailable
60
WASHER, TTH
92907-10400-00
Unavailable
61
SPACER
885-47341-00-00
Unavailable
62
STOPPER 1
888-47495-02-00
Unavailable
63
BOLT(3RV)
97014-06035-00
Unavailable
64
WASHER, PLATE
90201-06747-00
Unavailable
65
NUT, SELF-LOCKING
95617-06100-00
Unavailable
66
BRACKET 1
899-47415-00-00
Unavailable
67
BOLT (8M8)
90101-08374-00
Unavailable
68
.. WASHER, PLATE
92990-08600-00
Unavailable
69
NUT, U
95617-08100-00
Unavailable
