- Partiron
- OEM Parts
- Yamaha
- snowmobile
- 1976
- EX440 1976
INTAKE (EX440)
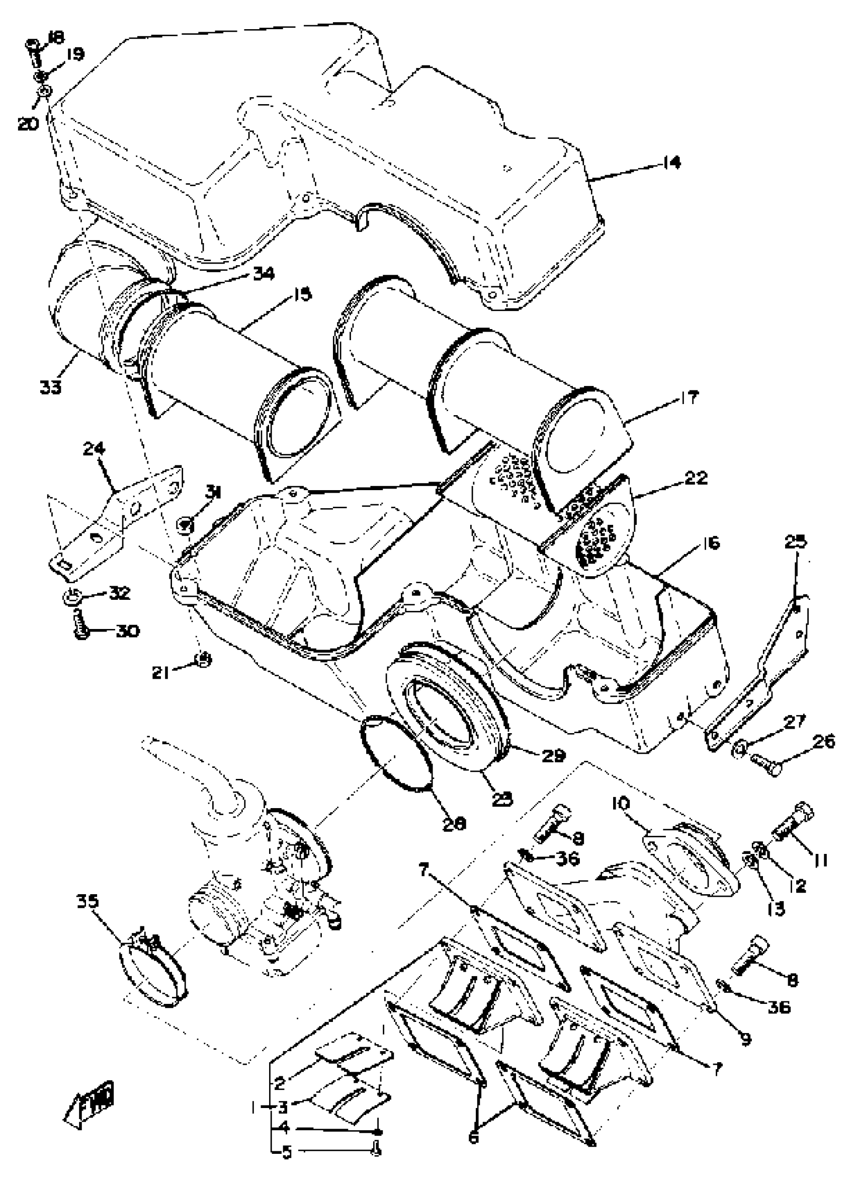
Yamaha EX440 1976 INTAKE (EX440) Diagram
#
3
. STOPPER, REED VALVE (10V-12616-01-00)
1UA-13616-00-00
Unavailable
7
GASKET
866-13563-09-00
Unavailable
9
JOINT, CARBURETOR
(885-13565-09-00)
Unavailable
10
MANIFOLD, INTAKE
8A5-13555-00-00
Unavailable
13
WASHER, PLAIN
92990-08200-00
Unavailable
14
SILENCER, INTAKE 1
8A5-14431-00-00
Unavailable
15
PIPE
8A5-14419-00-00
Unavailable
16
SILENCER, INTAKE 2
8A5-14441-00-00
Unavailable
17
PIPE
(8A5-14465-00-00)
Unavailable
18
SCREW, PAN HEAD
98517-05020-00
Unavailable
19
YBS67-5 WASHER, SPRING
92990-05100-00
Unavailable
20
WASHER, PLAIN (646)
92990-05600-00
Unavailable
21
NUT, HEXAGON
95317-05600-00
Unavailable
22
PIPE
(8A5-14466-01-00)
Unavailable
23
JOINT, AIR CLNR 1
8A5-14453-00-00
Unavailable
24
STAY 1
(8A5-14493-00-00)
Unavailable
25
STAY 2
(8A5-14494-00-00)
Unavailable
26
BOLT (661)
97013-06012-00
Unavailable
27
WASHER, SPRING
92995-06100-00
Unavailable
28
SPRING TENSION 808144550000
90506-06083-00
Unavailable
29
SPRING, TENSION
90506-06131-00
Unavailable
30
BOLT(8CP)
97017-06014-00
Unavailable
31
NUT, SELF-LOCKING
95617-06100-00
Unavailable
32
YBS66-6 WASHER, PLAIN
92990-06200-00
Unavailable
33
PIPE, SUCTION
8A5-14423-00-00
Unavailable
34
SPRING TENSION 808144550000
90506-06083-00
Unavailable
35
BAND
86M-13575-00-00
Unavailable
36
WASHER, PLAIN (646)
92990-06600-00
Unavailable
