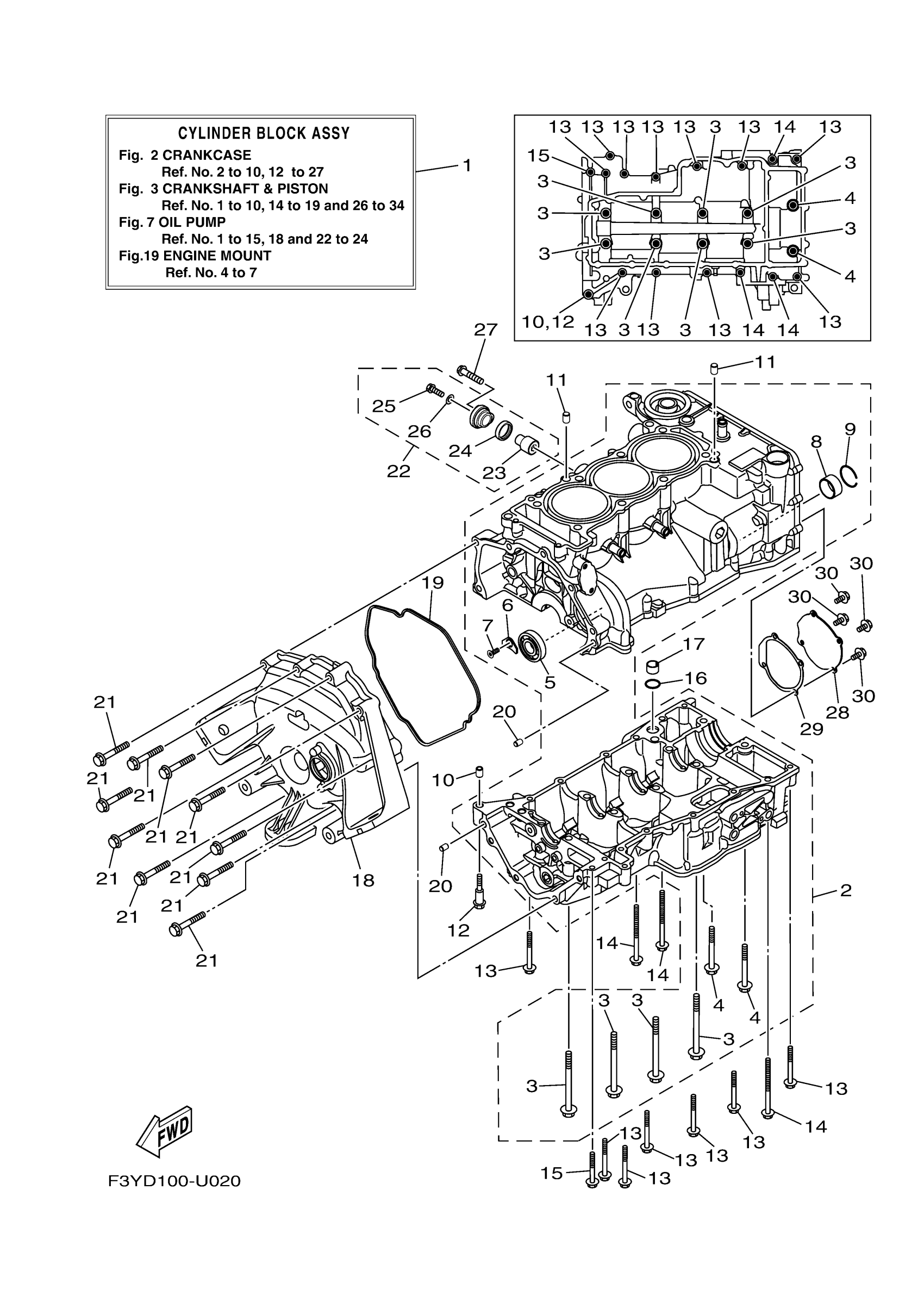
Yamaha EX1050DX (EX LIMITED) F3YT 2022 CRANKCASE Diagram
#
Description
Price
1
CYLINDER BLOCK ASSY
99999-04611-00
Unavailable
2
CRANKCASE ASSY
99999-04612-00
Unavailable
12
BOLT
90109-06308-00
Unavailable
14
BOLT, FLANGE
95814-06085-00
Unavailable
16
. O-RING
93210-17010-00
Unavailable
17
PIPE
8ES-13284-00-00
Unavailable
18
COVER, CRANKCASE 2
6EY-15421-00-00
Unavailable
19
. GASKET, CRANKCASE COVER 2
6EY-15461-00-00
Unavailable
20
PIN, DOWEL
99590-08012-00
Unavailable
21
BOLT, WITH WASHER
97513-08555-00
Unavailable
22
ANODE COVER ASSY
69J-11301-11-00
Unavailable
23
. ANODE
68V-11325-02-00
Unavailable
24
GROMMET, ANODE
67F-11328-01-00
Unavailable
25
BOLT (689)
90105-06M07-00
Unavailable
26
. GASKET
90430-06M03-00
Unavailable
27
BOLT, HEXAGON W/W DEEP RECESS
97E95-08540-00
Unavailable
28
PLATE AND GASKET, 2
99999-04357-00
Unavailable
29
. GASKET, 2
6EY-15463-01-00
Unavailable
30
BOLT, FLANGE DEEP
95E34-06012-00
Unavailable
