- Partiron
- OEM Parts
- Yamaha
- waverunner
- 2020
- EX1050CV (EX) F3YJ 2020
FUEL TANK
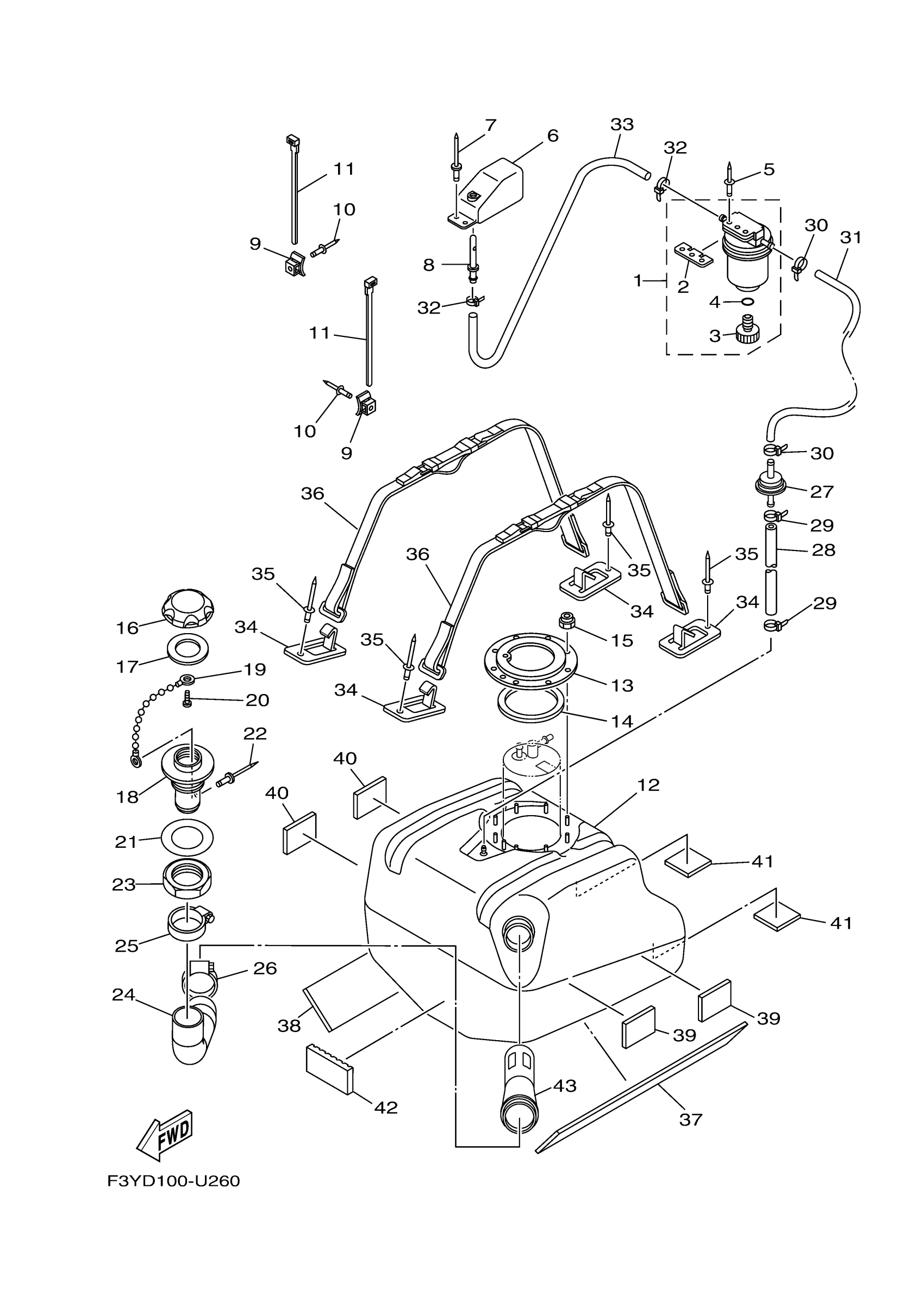
Yamaha EX1050CV (EX) F3YJ 2020 FUEL TANK Diagram
#
1
FILTER, VENT ASSY
F2F-6214A-00-00
Unavailable
2
. PLATE, FILTER
EW2-62142-00-00
Unavailable
3
. PLUG, DRAIN
70R-24543-00-00
Unavailable
4
. O-RING
70R-24489-00-00
Unavailable
5
RIVET, BLIND
90267-489U2-00
Unavailable
6
SOCKET, VENTILATION
GP7-62159-02-00
Unavailable
7
RIVET, BLIND
90267-489U6-00
Unavailable
8
PIPE, VENTILATION
F1G-62149-00-00
Unavailable
9
BASE, CLAMP
F1W-U828M-00-00
Unavailable
10
RIVET, BLIND
90267-489U6-00
Unavailable
11
CLAMP
90464-32801-00
Unavailable
12
TANK, FUEL
F3Y-U7711-02-00
Unavailable
13
RING
F1B-U7773-00-00
Unavailable
14
PACKING, SEAL
F1B-67747-00-00
Unavailable
15
NUT, NYLON
9572R-06300-00
Unavailable
16
CAP, FUEL FILLER
F2N-U7831-10-00
Unavailable
17
PACKING
GP7-U7832-01-00
Unavailable
18
SOCKET
GP7-U7833-11-00
Unavailable
19
CHAIN BALL
GP7-U7835-00-00
Unavailable
20
SCREW, TRUSS HEAD TAPPING
90169-049U1-00
Unavailable
21
PACKING FUEL FILLER
GP7-U7834-00-00
Unavailable
22
RIVET, BLIND
90267-329UR-00
Unavailable
23
NUT, FUEL FILLER
GP7-U783F-00-00
Unavailable
24
HOSE
F3Y-U7844-00-00
Unavailable
25
BAND, HOSE 55
90601-155U4-00
Unavailable
26
BAND, HOSE 55
90601-155U4-00
Unavailable
27
CHECK VALVE
F3Y-U7767-00-00
Unavailable
28
HOSE, AIR VENT 3
GP7-U785H-00-00
Unavailable
29
CLAMP
90465-10098-00
Unavailable
30
CLAMP
90465-10098-00
Unavailable
31
HOSE, AIR VENT 3
F3Y-U7856-00-00
Unavailable
32
CLAMP
90465-10098-00
Unavailable
33
HOSE, AIR VENT
GP7-U785G-10-00
Unavailable
34
HOOK A
F1K-U5772-04-00
Unavailable
35
RIVET (EU0)
90267-48938-00
Unavailable
36
BELT, TANK 1
F3Y-67743-01-00
Unavailable
37
MAT 1
F2S-U759B-00-00
Unavailable
38
MAT 1
F2S-U759B-00-00
Unavailable
39
MAT 2
F1W-U759C-01-00
Unavailable
40
MAT 2
F1W-U759C-01-00
Unavailable
41
MAT 2
F1K-U759C-00-00
Unavailable
42
PAD, BATTERY
F1S-U8221-00-00
Unavailable
43
TUBE
F4L-U773D-00-00
Unavailable
