Partiron

Yamaha EX1050AX (EX DELUXE) F3YP 2022 STEERING 1 Diagram

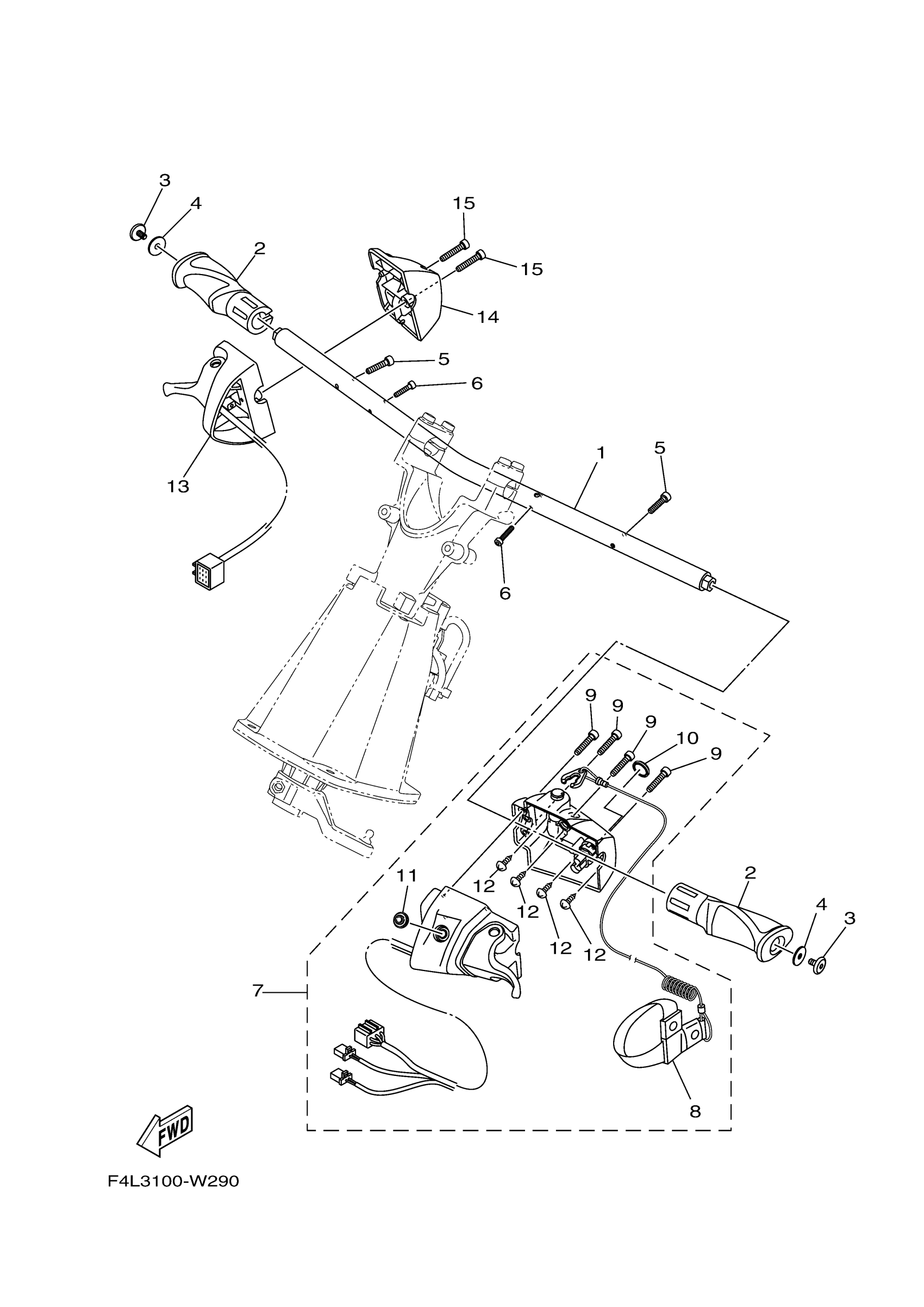
#

Description
Price

1

HANDLE

F3Y-U1552-00-00

Unavailable

2

GRIP,HANDLE

F2S-U155D-03-00

Unavailable

3

BOLT, HEXAGON SOCKET HEAD

90110-06383-00

Unavailable

4

WASHER, PLATE

90201-068G0-00

Unavailable

5

BOLT

F2S-U1516-00-00

Unavailable

6

BOLT

91380-04030-00

Unavailable

7

SWITCH BOX ASSY

F2X-68310-03-00

Unavailable

8

. LANYARD, STOP SWITCH

EW2-68348-00-00

Unavailable

9

BOLT, THROTTLE

6CS-6725F-00-00

Unavailable

10

. STOP BUTTON COMP

FK7-68312-02-00

Unavailable

11

. START BUTTON COMP

FK7-68313-02-00

Unavailable

12

. SCREW, TAPPING

97780-30610-00

Unavailable

13

THROTTLE LEVER COMP

6CS-14305-13-00

Unavailable

14

CASE

6EX-82154-00-00

Unavailable

15

BOLT, THROTTLE

6CS-6725F-00-00

Unavailable