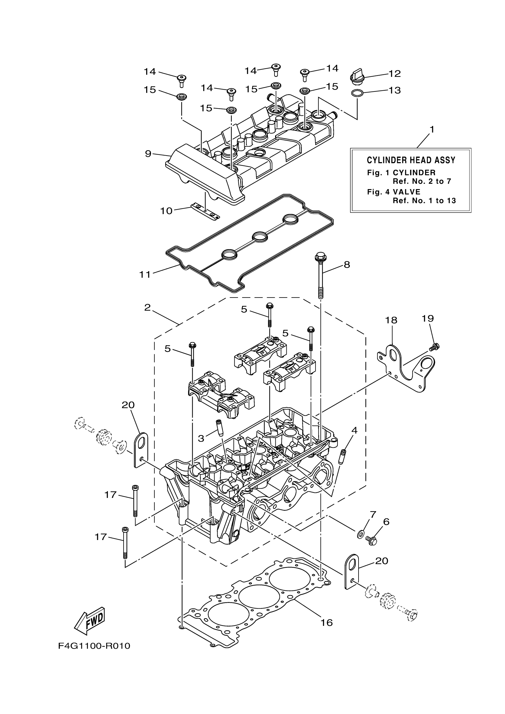
Yamaha EX1050AT (EX DELUXE) F3Y7 2018 CYLINDER Diagram
#
Description
Price
1
CYLINDER HEAD COMPLETE
6EY-11110-00-00
Unavailable
2
CYLINDER HEAD ASSY
6EY-11102-00-00
Unavailable
9
COVER, CYLINDER HEAD 1
6EY-11191-00-00
Unavailable
11
. GASKET, HEAD COVER 1
6EY-11193-00-00
Unavailable
13
O-RING (646)
93210-19123-00
Unavailable
16
GASKET, CYLINDER H
6EY-11181-01-00
Unavailable
17
BOLT, SOCKET
91314-06065-00
Unavailable
18
HANGER, ENGINE 2
6EY-1111E-00-00
Unavailable
19
BOLT, WITH WASHER
90119-06078-00
Unavailable
20
HANGER, ENGINE
6EY-11119-00-00
Unavailable
