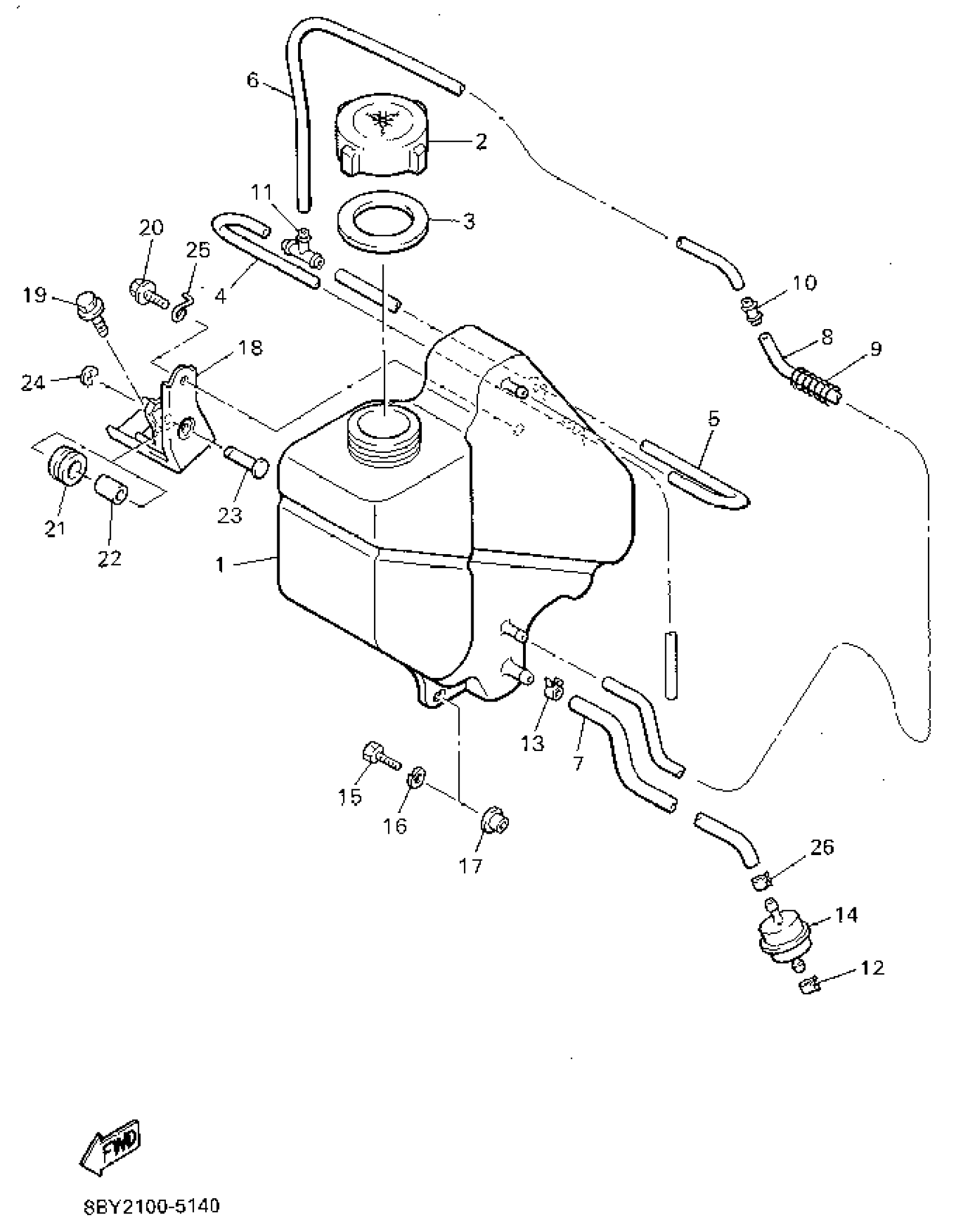
Yamaha ET410TRV (ENTICER II LT) 1995 OIL TANK Diagram
#
Description
Price
1
TANK, OIL
85L-21751-03-00
Unavailable
4
HOSE
90446-09355-00
Unavailable
7
HOSE
91A30-07036-00
Unavailable
8
TUBE, FLEXIBLE VINYL(8AT)
91A30-05125-00
Unavailable
9
SPRG., COMPRESSION (8BY1)
90501-083J9-00
Unavailable
10
PIPE, JOINT
8H8-24376-00-00
Unavailable
11
PIPE, JOINT
801-24376-00-00
Unavailable
13
CLIP
90467-11028-00
Unavailable
16
WASHER, SPRING
92995-06100-00
Unavailable
17
COLLAR (8G8)
90387-06681-00
Unavailable
18
BRACKET, OIL TANK 2
89X-2193F-00-00
Unavailable
19
BOLT, FLANGE(JN5)
95817-08016-00
Unavailable
20
BOLT, FLANGE
95817-06016-00
Unavailable
21
ROLLER, WIRE
89X-15752-00-00
Unavailable
22
COLLAR(650)
90387-06504-00
Unavailable
23
PIN
90249-06222-00
Unavailable
24
CIRCLIP (EU0)
99080-04600-00
Unavailable
25
GUIDE, ROPE
89X-15758-00-00
Unavailable
26
CLIP (8J7)
90467-11009-00
Unavailable
