Partiron

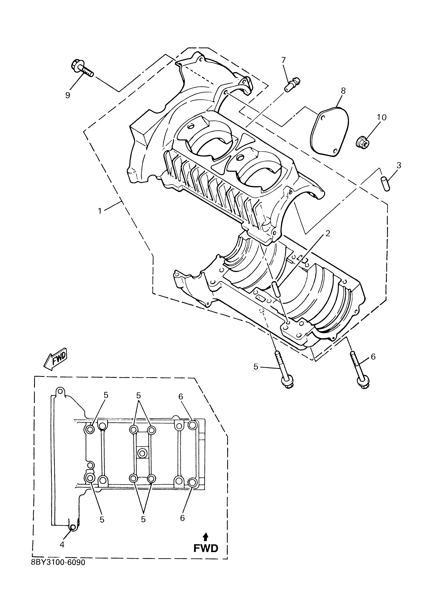
Yamaha ET410TRF 8BY8 2001 CRANKCASE Diagram

#

Description
Price

1

CRANKCASE ASSY

89X-15100-00-00

Unavailable

2

PIN, DOWEL (8G8)

93605-10108-00

$8.49

3

PIN (2H7)

93603-10049-00

Unavailable

4

BOLT, FLANGE

95817-08040-00

$7.49

5

BOLT, FLANGE

95817-08060-00

$3.76

6

BOLT, FLANGE(JN5)

95817-08070-00

$3.76

7

JOINT, BREATHER

J38-11116-00-00

$3.80

8

PLATE

8K4-12633-00-00

Unavailable

9

BOLT, FLANGE

95817-08035-00

$9.49

10

NUT, FLANGE(JN5)

95707-08500-00

$3.13