- Partiron
- OEM Parts
- Yamaha
- snowmobile
- 1990
- ET400TRP (ENTICER LTR) 1990
TRACK SUSPENSION 2
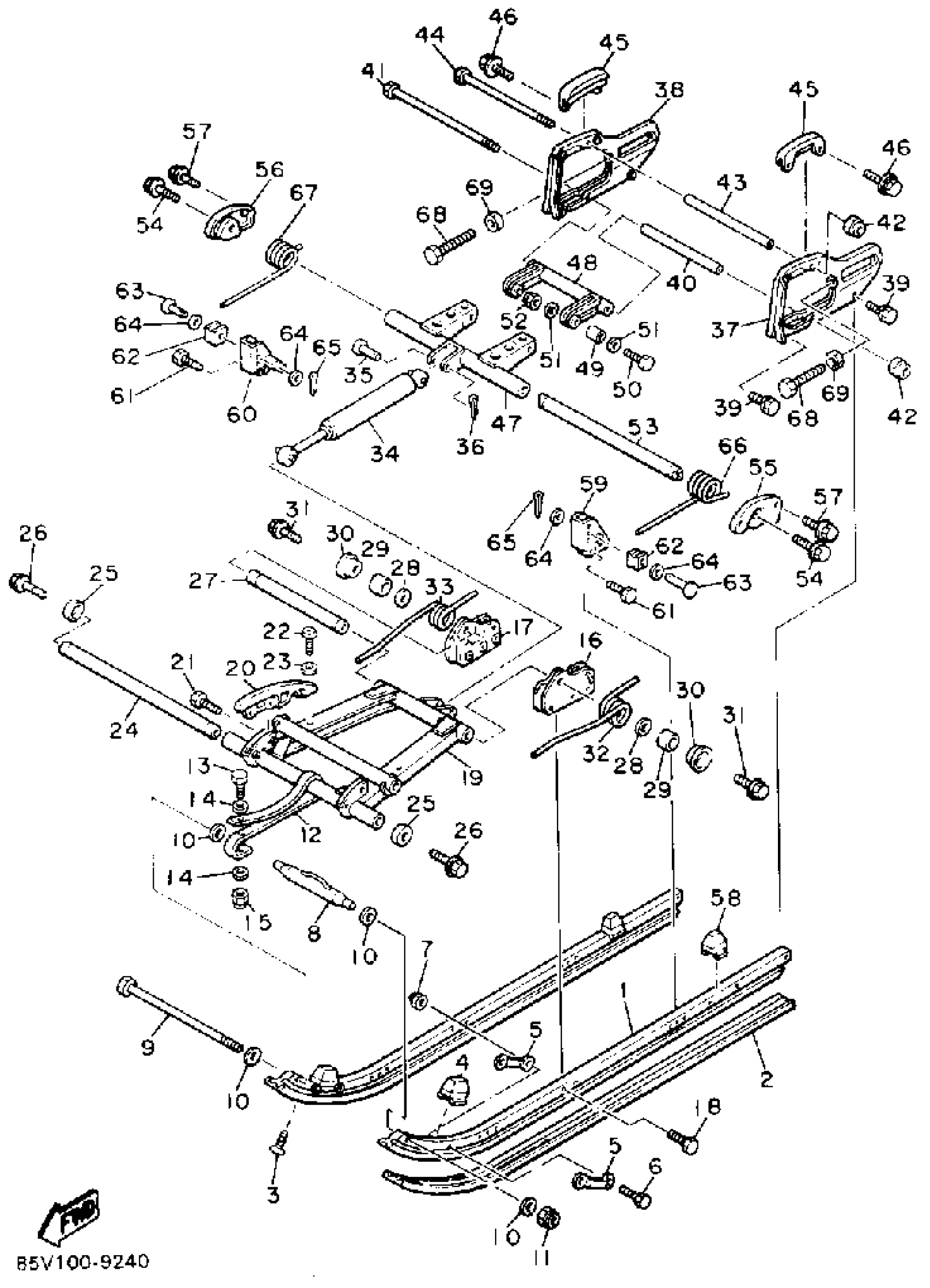
Yamaha ET400TRP (ENTICER LTR) 1990 TRACK SUSPENSION 2 Diagram
#
2
SLIDING RUNNER
8X2-47421-00-XX
Unavailable
5
PLATE, DAMPER
885-47458-01-00
Unavailable
6
BOLT (674)
97313-05035-00
Unavailable
8
BRACKET 1
899-47415-00-00
Unavailable
9
BOLT (8M8)
90101-08374-00
Unavailable
10
WASHER, PLATE
90201-08638-00
Unavailable
12
STOPPER 1
888-47495-02-00
Unavailable
16
BRACKET 2
85A-47416-00-00
Unavailable
17
BRACKET 7
85A-47419-00-00
Unavailable
18
BOLT(21W)
97017-06035-00
Unavailable
19
ARM, PIVOT 1
8X0-47331-00-00
Unavailable
20
RUNNER, SLIDING 2
8G8-47422-00-00
Unavailable
21
BOLT, HEXAGON
97017-06020-00
Unavailable
22
SCREW PAN HEAD
98580-06020-00
Unavailable
23
WASHER, PLAIN (646)
92990-06600-00
Unavailable
24
SHAFT 1
8A5-47465-02-00
Unavailable
25
SPACER
885-47341-00-00
Unavailable
26
BOLT (8V0)
90109-10771-00
Unavailable
27
SHAFT 3
8A5-47485-02-00
Unavailable
28
WASHER PLATE 256234440000
90201-10149-00
Unavailable
29
COLLAR
90387-106L3-00
Unavailable
30
COLLAR(8Y1)
90387-206L2-00
Unavailable
31
BOLT, FLANGE
95817-10080-00
Unavailable
32
SPRING,FRONT.1
80E-47471-01-00
Unavailable
33
SPRING,FRONT.2
80E-47472-01-00
Unavailable
34
SHOCK ABSORBER
8E7-47480-01-00
Unavailable
35
PIN, CLEVIS(8N0)
90240-12115-00
Unavailable
36
PIN, COTTER
91490-30030-00
Unavailable
37
FRAME, SLIDING 2
8A5-47412-00-00
Unavailable
38
FRAME, SLIDING 3
8A5-47413-00-00
Unavailable
39
BOLT, WITH WASHER
90119-08008-00
Unavailable
40
COLLAR (899 SUSPENSION)
90387-08496-00
Unavailable
41
BOLT (8M8)
90101-08374-00
Unavailable
43
COLLAR (899 SUSPENSION)
90387-08497-00
Unavailable
44
BOLT, HEXAGON
97027-08250-00
Unavailable
45
RUNNER, SLIDING
8E3-47422-00-00
Unavailable
46
BOLT, WITH WASHER(2WG)
90119-06172-00
Unavailable
47
ARM, PIVOT 2
8A5-47332-00-00
Unavailable
48
BRACKET 3
8A5-47417-00-00
Unavailable
49
COLLAR (8A5 SUSPENSION)
90387-08508-00
Unavailable
50
BOLT(3HN)
97017-08045-00
Unavailable
51
WASHER (1T1)
90201-08649-00
Unavailable
53
SHAFT 2
8A5-47475-02-00
Unavailable
54
BOLT (8V0)
90109-10771-00
Unavailable
55
BRACKET, REAR 1
8A5-47425-00-00
Unavailable
56
BRACKET, REAR 1
8A5-47426-00-00
Unavailable
57
BOLT, FLANGE(4LN)
95817-08025-00
Unavailable
59
BRACKET 5
8L4-47463-00-00
Unavailable
60
BRACKET 6
8L4-47464-00-00
Unavailable
61
BOLT(21W)
97017-06035-00
Unavailable
62
HOOK 2
890-47447-00-00
Unavailable
63
PIN WITH HOLE (890)
90249-12113-00
Unavailable
64
WASHER, PLATE
90201-12047-00
Unavailable
65
PIN, COTTER
91490-30030-00
Unavailable
66
SPRING, TORSION 3(8E7)
90508-99331-00
Unavailable
67
SPRING, TORSION 4(8E7)
90508-99332-00
Unavailable
68
BOLT, HEXAGON (899 TRACK)
90101-10293-00
Unavailable
69
NUT (2Y5)
90179-10279-00
Unavailable
