Partiron

Yamaha ET400TRP (ENTICER LTR) 1990 COOLING KIT (OPTIONAL PART) Diagram

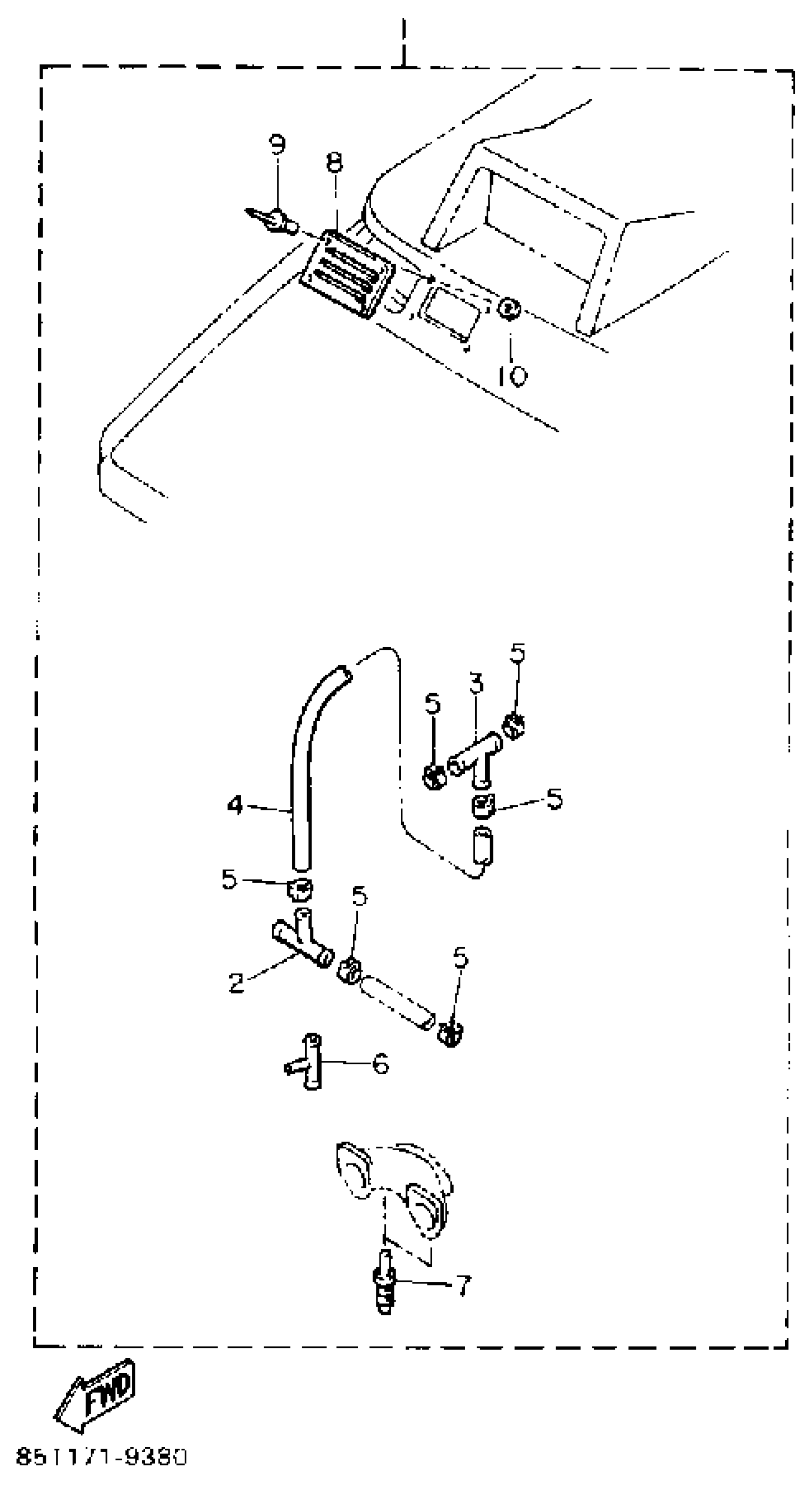
#

Description
Price

1

85T-W2438-00

85T-W2438-00-00

Unavailable

2

. PIPE JOINT ASSEMBLY

85T-24380-00-00

Unavailable

3

WAY 3(33M)

90413-05014-00

Unavailable

4

TUBE, FLEXIBLE VINYL(8AT)

91A20-05145-00

$29.99

5

CLIP (8A1)

90467-09026-00

$3.28

6

PIPE, JOINT 4

878-24379-00-00

Unavailable

7

NOZZLE

824-13552-00-00

Unavailable

8

LOUVER 6

85T-77108-00-00

Unavailable

9

RIVET (856)

90267-48014-00

$4.88

10

WASHER, PLATE (34L)

90201-043H7-00

$3.50